iPhone搞折叠屏,我看行

2020 年 12 月 6 日 ZEALER订阅号


从2019年开始,手机市场算是正式进入了折叠屏时代,各家的折叠屏新机层出不穷,从无到有,从有到多,种种变化只用了一年多时间。


时至今日,折叠屏的领航者——三星Z系列前后共推出了三款,分别是三星Galaxy Z Fold、Galaxy Z Flip和Galaxy Z Fold 2,两款左右内折,一款上下内折,虽是不同的折叠形态,但它们都代表着目前三星在折叠屏领域中的最先进技术。



身为全球第二大手机生产商的华为,也推出了自家的折叠屏手机,分别为Mate X和Mate Xs,均采用了左右外翻的设计,在整体视觉效果上更加震撼,尽管华为并没有自己的屏幕产线,但在这两款产品中,我们看到了更多的创造力与可能性。



曾经是全球通讯与手机市场霸主的摩托罗拉,如今已经归入联想门下,它也把眼光投向了折叠屏市场,打算复刻当年销量高达1.3亿部的RAZR系列,迅速推出RAZR 2019与RAZR 2020这两款折叠屏手机,虽说它们在硬件上亮点不多,但刀锋的外观却一如既往的酷炫。



不止这三家,其他国内厂商也展出了自家的工程机,譬如小米的双重折叠屏手机和OPPO外翻折叠屏手机等,随着各家在折叠屏领域积累的技术愈发增多,接下来的2021年,折叠屏手机会迎来一次井喷式的发展。



身为目前手机行业中的真正一哥,苹果会不会适时拿出自己的折叠屏产品呢?自有概念机出来后,各种小道消息不绝于缕,真真假假,假假真真,其中可信的没几条,直到今年年底,苹果的折叠屏也没个准信。


它当然不会无动于衷,根据中国台湾《经济日报》的报道,供应链传出消息,苹果正紧锣密鼓地开发折叠屏手机,不仅持续累积专利,还要求台湾供应链送样测试,包括鸿海和新日兴等都是苹果首款折叠屏iPhone的供应商之一。



此外也有外媒报道,苹果正评估首款折叠iPhone屏幕是采用OLED还是micro LED技术,因为两种不同的屏幕技术会极大影响后续组装的工艺流程,预计第一款折叠屏iPhone将于2022年9月发布。




真的会有折叠屏iPhone?


苹果为什么要做一款折叠屏iPhone?老老实实靠现在的刘海屏赚钱不香吗?是329的MagSafe充电器卖不出去?还是149的20W电源适配器不受欢迎?


相信有不少小伙伴秉持着这样的观点,认为苹果不屑于做折叠屏,目前的折叠屏一半是噱头一半是炫富,实用价值极低。


真的是这样吗?


截至目前,三星Galaxy Z Fold全球销量50万部,Galaxy Z Flip预期销量250万部,Galaxy Z Fold 2预期销量50万部,配合万元起步的售价,几百万部的折叠屏市场已经不容小觑。



如果苹果正式决定入场,那么整个折叠屏市场会进一步扩大,考虑到目前它在8000元以上价格区间的统治力,折叠屏iPhone极有可能分走近一半的销量,这对于目前总销量出现衰退的苹果来讲,无异于一注强心剂。


并且苹果自2018年以来,连续三代Pro Max顶配机型的定价都局限在12000元左右,随着目前旗舰手机价格水涨船高,苹果势必会推出更高端的机型,而折叠屏就是上探价格的最佳选择,购买折叠屏手机的人群并非价格敏感型消费者,能够承担更高昂的售价。



不止如此,苹果还在折叠屏领域投入了相当多的时间和成本,其布局早在5年前就开始了。


2016年11月,美国专利商标局公布了一项苹果专利,显示了一款使用柔性OLED屏幕的可折叠iPhone,其采用了上下翻盖造型,非常接近摩托罗拉RAZR和三星Z Flip的设计。



2019年2月,美国专利商标局再次公布了一项苹果专利,苹果为折叠屏手机设计了一个加热系统,以防止手机在低温弯曲时遭到损坏。



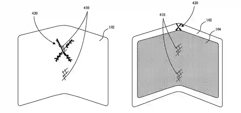
2020年2月,苹果再次获得了一项与折叠屏相关的专利,描述中的铰链结构能够利用可伸缩的盖板来防止显示屏出现折痕。



2020年10月,一项新专利也被公之于众,其表明苹果正在开发一种保护涂层,能够防止可折叠屏幕出现破裂,同时提高耐刮性和耐用性。



种种迹象表明,苹果正投入了大量成本与时间来开发一款折叠屏手机,可以看到仍然有许多技术性环节难以攻克,不过其大致轮廓已慢慢被勾勒成型。其发布时间可能就在未来一到两年内,届时又会给我们带来什么样的惊喜呢?




苹果做得好折叠屏吗?


纵观目前大部分折叠屏手机,销量表现虽然还不错,但不论是硬件还是软件,仍然存在着诸多问题。


三星Galaxy Fold在刚推出之时,就遭遇了灾难性的事故:The Verge编辑的评测机因为有碎屑进入铰链结构,导致屏幕出现凸起并且破裂;CNBC的编辑的评测机正常使用一天后,就出现了闪烁故障;而彭博社的编辑则是撕掉了屏幕的保护膜,导致碎裂和部分屏幕不能显示……



而三星卖得最好的Galaxy Z Flip也出现了不少问题,由于采用了超薄玻璃,屏幕在防刮擦方面提升了不少,但也有很多人的手机出现了铰链部分屏幕碎裂的情况,让人担心这款手机的真实耐用性,能否和三星宣传的保持一致还有待观察。



上述硬件上的不足还能通过后续机型的不断迭代来弥补,而缺失的软件生态却是难以在短时间内得到完善,这需要各家厂商持续不断地投入,经过几年时间才能最终成熟。


上下翻折的形态还好,按照目前全面屏的标准来做UI不成问题,但左右翻折的形态,即展开后的平板模式却有着先天性的不足,许多安卓软件对4:3等宽屏比例适配还成问题,更不用提在外屏和内屏来回切换时的统一性了。


苹果显然具备其他厂商所没有的优势,iPad OS是目前公认最成熟的平板系统,也是唯一敢于标榜生产力的平板系统,相比之下,其他安卓平板已经沦为了单纯的看剧工具,许多App的HD版早在多年前就停止了更新,差距一目了然。



折叠屏iPhone完全可以将iPad版与iPhone版结合使用,营造出优于目前绝大部分折叠屏手机的软件生态,同时也能像M1芯片一般,号召更多开发者为该手机推出专用App,是其他厂商所难以企及的优势。


硬件方面的难点主要还是集中在铰链与屏幕之上,目前苹果的专利也大多集中于此,按照目前折叠屏的发展速度,以及苹果自身的技术力,拿出一款硬件上相对完美的折叠屏iPhone并不是一件特别困难的事情。




折叠屏,可能是下一个十年


虽然今天的折叠屏手机已不是什么稀罕事物,但就在几年前,能够自由折叠的手机仿佛还是天方夜谭,一切的开始得从那一年说起。


2013年,三星和LG几乎是相同时间发布了自家首款柔性屏手机——Galaxy Round和LG G Flex,这两款手机均采用了曲面屏的设计,一款左右弯,另一款上下弯,其怪异的形态引来了不少议论。当时舆论对这两款昂贵售价的手机并不看好,但它们却奠定了柔性屏的基础,为我们展现了智能手机更多的可能性。



在沉寂了两三年后,改进的双侧曲面屏手机才算真正打开了市场,从2015年的三星Galaxy S6 Edge开始,曲面屏迎来了井喷式的发展,其优缺点都较为明显,一方面能够从视觉上让边框变窄,滑动手感更佳,另一方面也能加入手势操作等快捷功能,但也滋生了误触、边缘变色和易碎等问题。



时间来到2016年底,小米MIX来临,带起了全面屏的风潮,各家开始追求起最高的屏占比,整个手机市场的风向为之一变,新的时代被开启,伴随着传统的16:9手机逐步消亡。


那是智能手机变化最大的几年,即使不是经常更换手机的普通人,也能充分体会到科技进步的魅力之所在。


但直到今天,绝大部分手机都跳不开曲面屏和全面屏这六个字,iPhone已经4年没有变更它的大致造型了,大部分安卓手机也存在着创新不足的问题,我们甚至已经提不起兴趣来更换新手机。



手机形态变化会就此终止吗?当然不会。


折叠屏提供了一种新思路和新方向,合上是手机,展开是平板,富有想象力的创新带来了完全不同于以往的使用体验,在它们未曾面世前,你可能只在科幻电影中匆匆一瞥,可能还停留于想象,心中驰骋着对于折叠屏的美好设想。


未曾谋面最是期待,但当它真正出现时,也出现了不少的杂音:脆弱易坏,实用性差,买部手机还得把它供起来,有什么存在的必要吗?



何必求全责备,没有车载电话,就没有手机,没有功能机,就没有智能机,没有2G,哪来今天的5G,没有前面柔性屏的技术积累,又怎么会有今天的折叠屏呢?


给折叠屏以时间,予苹果之耐心,下一个十年又是崭新篇章。



#组团赢iPhone 12


【组团赢iPhone 12】活动你们上车了没?还没上车的赶紧了,每天上 Zaaap! 社区签个到,邀请几个新朋友就有机会组团赢取多达46件的苹果新品,晚了就排不上号了!早来早冲刺排行榜,12月15日排名截止,冲鸭!




『热门推荐』


登录查看更多
0

相关内容

Samsung Galaxy(盖乐世)系列智能手机,整体定位于终端市场,是三星手机系列中的精品
《2021年中国AIoT产业全景图谱》白皮书,244页pdf
专知会员服务
131+阅读 · 2021年1月16日
专知会员服务
29+阅读 · 2021年1月4日
专知会员服务
52+阅读 · 2020年12月28日
中国工业机器视觉产业发展白皮书,31页pdf
专知会员服务
105+阅读 · 2020年11月14日
《2020人工智能医疗产业发展蓝皮书》发布
专知会员服务
115+阅读 · 2020年9月11日
AI创新者:破解项目绩效的密码
专知会员服务
35+阅读 · 2020年6月21日
资源 | 李航老师《统计学习方法》(第2版)课件下载
专知会员服务
256+阅读 · 2019年11月10日
一图看懂国产芯片与国外芯片公司差距!
物联网智库
8+阅读 · 2019年6月14日
2018年德国汽车产业研究报告
行业研究报告
16+阅读 · 2018年12月1日
最终还是凉凉?苹果将放弃 iPad mini 更新
ZEALER订阅号
5+阅读 · 2018年8月28日
小冰,请接电话!
微软丹棱街5号
5+阅读 · 2018年4月18日
噩耗再次传来!华为,挺住!
FinTech前哨
4+阅读 · 2018年2月4日
Arxiv
31+阅读 · 2020年9月21日
Arxiv
15+阅读 · 2019年3月16日
Nocaps: novel object captioning at scale
Arxiv
6+阅读 · 2018年12月20日
Meta-Learning with Latent Embedding Optimization
Arxiv
6+阅读 · 2018年7月16日
Arxiv
5+阅读 · 2018年3月16日
VIP会员
最新内容
《美陆军条例:陆军指挥政策(2026版)》
专知会员服务
10+阅读 · 4月21日
《军用自主人工智能系统的治理与安全》
专知会员服务
5+阅读 · 4月21日
《系统簇式多域作战规划范畴论框架》
专知会员服务
10+阅读 · 4月20日
高效视频扩散模型:进展与挑战
专知会员服务
5+阅读 · 4月20日
乌克兰前线的五项创新
专知会员服务
8+阅读 · 4月20日
 军事通信系统与设备的技术演进综述
专知会员服务
7+阅读 · 4月20日
《北约标准:医疗评估手册》174页
专知会员服务
6+阅读 · 4月20日
相关VIP内容
《2021年中国AIoT产业全景图谱》白皮书,244页pdf
专知会员服务
131+阅读 · 2021年1月16日
专知会员服务
29+阅读 · 2021年1月4日
专知会员服务
52+阅读 · 2020年12月28日
中国工业机器视觉产业发展白皮书,31页pdf
专知会员服务
105+阅读 · 2020年11月14日
《2020人工智能医疗产业发展蓝皮书》发布
专知会员服务
115+阅读 · 2020年9月11日
AI创新者:破解项目绩效的密码
专知会员服务
35+阅读 · 2020年6月21日
资源 | 李航老师《统计学习方法》(第2版)课件下载
专知会员服务
256+阅读 · 2019年11月10日
相关资讯
Top
微信扫码咨询专知VIP会员