新专利显示未来 Apple Pencil 可对现实世界物品进行采样

2020 年 7 月 18 日 威锋网



点击上方蓝色字体,关注我们

>>点击左下角阅读原文,进入苹果教育商店
根据美国专利商标局本周发布的苹果专利申请显示,苹果正在探索新的 Apple Pencil 技术,该技术可以允许设备对现实世界中的颜色进行采样以用于数字艺术,绘画,编辑等场景。
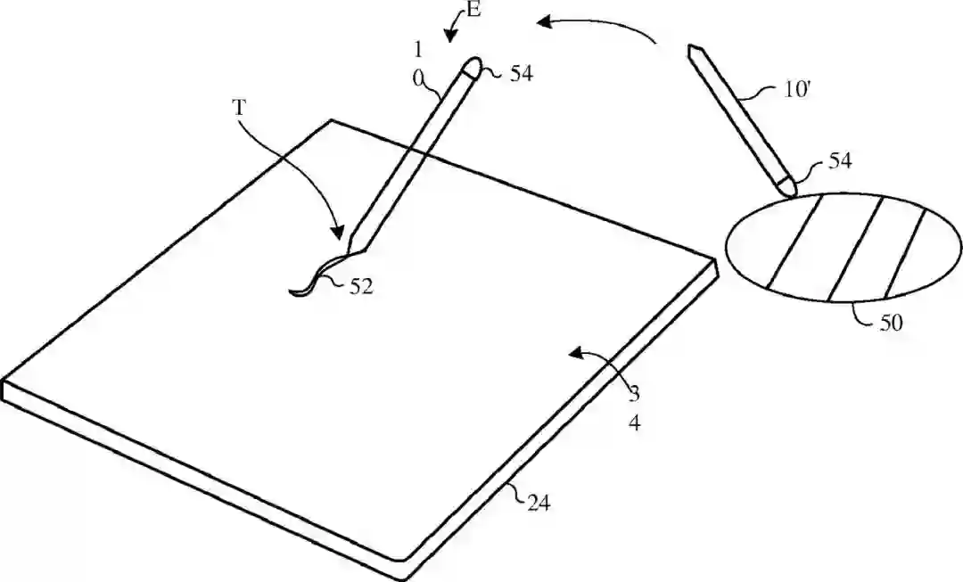
该专利名为“带有颜色采样笔的计算机系统”,描述了一种“可能具有颜色传感器”的计算触控笔。据悉,颜色传感器将配备多个光电探测器,这些光电探测器能够测量不同颜色的通道光,这将使其能够检测和采样来自现实世界物体(例如花朵)的颜色。
触控笔还可以配备照明灯,以使光电探测器更容易准确地确定颜色,其余专利则描述了一种 Apple Pencil 状的设计,具有细长的主体,笔尖和相对的末端,尖端能够与触敏显示器一起使用。
借助这种技术,未来 Apple Pencil 的用户将可以进行诸如读取颜色的操作。触控笔将检测颜色,然后将其放入绘图程序的调色板中,在该程序中可以将颜色分配给画笔。苹果还暗示,颜色传感器可能还可以用于其他目的,例如校准显示器,校准打印机,进行与健康相关的测量以及识别家庭项目的油漆颜色,这将使 Apple Pencil 更加“神通广大”。
当然,未来 Apple Pencil 是否会增加颜色传感器还不得而知,但至少这一技术可以让我们窥探到苹果未来的计划。
>>不去左下角看看有什么喜欢的吗?



—— 推荐阅读 ——








(商务合作请联系:[email protected]

 你有「在看」吗 ?

登录查看更多
0

相关内容

Apple Pencil - 苹果牌“铅笔”,实际上是电容笔,是iPad Pro的专用笔。于北京时间2015年9月10日发布,售价99美元,约合人民币728元。
专知会员服务
21+阅读 · 2020年9月11日
【2020新书】单机搞AI、数据科学和物联网,323页pdf
专知会员服务
53+阅读 · 2020年7月20日
【实用书】Python爬虫Web抓取数据,第二版,306页pdf
专知会员服务
122+阅读 · 2020年5月10日
【实用书】流数据处理,Streaming Data,219页pdf
专知会员服务
78+阅读 · 2020年4月24日
深度神经网络实时物联网图像处理,241页pdf
专知会员服务
78+阅读 · 2020年3月15日
印度首次挑战登月告败,一步之遥≈多大差距?
人工智能学家
4+阅读 · 2019年9月7日
苹果首次披露Siri声纹识别技术
AI前线
6+阅读 · 2018年4月17日
HoloLens新应用:扫描脸部就能读出你的心跳
雷锋网
3+阅读 · 2018年3月3日
抖音的 2017 和它背后的黑科技
PingWest品玩
8+阅读 · 2018年1月4日
亚马逊发布实时人脸识别功能,精度提高10%
AI前线
4+阅读 · 2017年11月22日
ViZDoom Competitions: Playing Doom from Pixels
Arxiv
5+阅读 · 2018年9月10日
Arxiv
6+阅读 · 2018年3月28日
VIP会员
最新内容
美国与以色列如何在攻击伊朗中使用人工智能
专知会员服务
3+阅读 · 4月16日
《自动化战略情报管控》
专知会员服务
2+阅读 · 4月16日
得失评估:审视对伊朗战争的轨迹(简报)
专知会员服务
2+阅读 · 4月16日
【CMU博士论文】迈向可解释机器学习的理论基础
基于数据优化的人机协同与机器人僚机
专知会员服务
7+阅读 · 4月16日
相关VIP内容
Top
微信扫码咨询专知VIP会员