“新东方烹饪学校”上市,牵出“安徽隐形富豪”的商业帝国

2019 年 6 月 12 日 i黑马

点击上方“i黑马选择“置顶公众号”

黑马智库,创业必读


更多创业内容请访问www.iheima.com



广袤的中华大地上有两个“新东方”。


一个生长于北京,以出国培训起家,创办者是“留学教父”俞敏洪;一个扎根在合肥,以烹饪培训闻名,创办者是“厨子导师”吴俊保。


巧的是,两人都生于江南水乡。1962年9月,俞敏洪出生于江苏江阴市。吴俊保是安徽合肥人,出生于1965年11月。


俞敏洪的故事家喻户晓。三次高考,北大毕业,后留校任教。1991年从北大辞职,然后创办北京新东方学校,并带领新东方在美国上市。吴俊保则低调的多,百度百科对他的介绍也仅有40个字。可以确认的是,吴并没有显著的教育背景。


不由想起《新华字典》1998年修订本里的例句:“张华考上了北京大学;李萍进了中等技术学校;我在百货公司当售货员:我们都有光明的前途。”


今天新东方烹饪学校的母公司“东方教育”在港上市,市值225亿港元。

 

i黑马&火柴盒还发现,“东方教育”仅是吴俊保商业版图的冰山一角,其商业帝国可以用3个公式来说明:


  • 公式1:东方教育=新东方烹饪+新华电脑+万通汽车+欧米奇+华信智原+美味学院

  • 公式2:吴俊保的教育版图=东方教育(00667.HK)+ 新华教育(02779.HK)+ 其它(幼小初高和课外辅导)

  • 公式3:吴俊保的商业帝国=教育板块+房地产板块+金融板块+商贸板块+园区运营板块。



“新东方烹饪学校”港股IPO,市值225亿港元


90年代以来,中国职业技能培训江湖大致有5大帮派:“东邪”、“西毒”、“南帝”、“北丐”和“中神通”。


“东邪”是山东蓝翔技校(现已更名为蓝翔技师学院),主要培训烹饪、汽修、挖掘机、美容美发等;“西毒”是新东方烹饪学校、新华电脑教育、万通汽车教育,也就是刚上市的“中国东方教育”;“南帝”是山木培训,将生产线上工人转向白领的最底层培训基础服务提供商,让生产线上的工人变成公司里边的前台、打字员、行政人员;“北丐”是像虎正汽修、邯郸北方汽修、石家庄北方汽修这样的北方汽车维修培训学校;“中神通”是塔沟武术培训学校,现在已经变成了中国最大的保安输出培训学校。


今天“中国东方教育”赴港上市,发行价为11.25港元,开盘价10.36港元,市值近225亿港元。


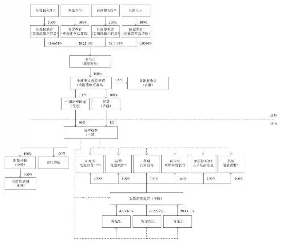
其实,本次上市的“东方教育”是上市前在开曼群岛新注册的一家公司,通过结构性合约与安徽新华教育共同控制旗下六大职教品牌:新东方烹饪学校、新华电脑教育、万通汽车教育、欧米奇西点西餐教育、华信智原和美味学院。


可以说,中国东方教育其实是安徽新华教育。


注:东方教育学校分布


2016年、2017年、2018年,东方教育的收入分别为23.36亿元、28.5亿元、32.64亿元;东方教育的年内利润及全面收益总额分别为5.65亿元、6.41亿元、5.1亿元。


其中,对营收贡献最大的是新东方烹饪,占总营收的59.9%。其次是新华电脑占17.7%,万通汽车占13.5%。三大核心品牌合计营收为29.48亿,占比超过90%。


可以说,新东方烹饪、新华电脑、万通汽车是拉动东方教育营收的“三驾马车”。


根据弗若斯特沙利文报告,以2017年的平均培训人次而言,东方教育的烹饪技术、信息技术及汽车服务业务市占率均为国内第一。


中国的烹饪职业技能教育市场相对集中,前三份额约为26.9%,东方教育占据23.1%;信息技术及互联网技术职业技能教育市场相对分散,东方站占有3.4%;汽车服务职业技能教育相对集中,前三占有20.5%的市场份额,东方为9.7%的市场份额。


当然,拥有光鲜数据和市场份额的东方教育也存在风险与挑战。


首先,其旗下30家学校未取得民办学校营运执照,存在“无证经营”的风险。其次,其现金流也出现大幅减少。2018年底,东方教育银行结余及现金较年初缩水大半,从20亿至不足4亿。


招股书还显示,吴俊保持股42.6654%,为东方教育最大股东;吴伟持股29.2213%,为第二大股东;肖国庆持股为28.1103%,为第三大股东。


值得注意的是,吴俊保、吴伟、肖国庆为堂兄弟,吴氏三兄弟共持股比例接近100%。


另外,除了刚上市的“东方教育”(00667.HK),2018年3月在港上市的新华教育(02779.HK)背后大老板也是吴俊保。



两家上市企业“东方教育”和“新华教育”系出同门


前文也提到了,中国东方教育(00667.HK)主攻非学历职业教育培训,下设6个品牌:新东方烹饪学校、新华电脑教育、万通汽车教育、欧米奇西点西餐教育、华信智原和美味学院。


去年3月在刚上市的中国新华教育(02779.HK)则主要从事学历职业教育,下设3个学校:新华学院、新华学校和临床医学院。


其中,安徽新华学院(本科及大专学历教育)及安徽新华学校(职业中专教育)分别是长三角最大的民办高校和安徽省最大的民办中专学校。此外,根据与安徽医科大学订立的协议,中国新华教育集团有权享有临床医学院于2018-2019学年及之后所录取学生有关的学费,并负责新校区的运营。


注:东方教育(00667.HK)股权结构

 

注:新华教育(02779.HK)股权结构


据招股书显示,新华教育创始人吴俊保持股达95.7%,其吴先生的儿子持股0.97%,合伙企业华园公司持股3.33%。


吴俊保目前拥有两家教育上市公司,但他的教育版图却不仅限于此。


i黑马&火柴盒了解到,吴俊保还有从幼儿园到小学、初中、高中的国际教育,以及K12民办学校和K12课外辅导机构等等。其中,成立于2014年的合肥新华实验中学便是其旗下的K12教育品牌,区域驾驶培训品牌宇星驾训也是其教育资产。



隐形富豪吴俊保:教育只是吴氏家族的冰山一角


吴俊保非常低调,百度百科对他的介绍仅有40个字。


除了教育板块,吴俊保的新华系产业还渗入到房地产、金融、商贸、资产运营(高科技园区智能服务商)等多个领域。而多领域的产业控制主要通过新华控股集团实施,目前吴俊保与堂弟及肖国庆共持有新华控股集团99.5%股权。


i黑马&火柴盒了解,新华控股集团总部位于安徽合肥。集团产业布局覆盖全国30余个省份,拥有各类院校及子公司100余家,员工2万余人,横跨教育、地产、金融、商贸、资产运营 5 大产业。


教育板块,从早幼教到K12教育再到职业教育,新华控股均有涉猎。目前主要布局在职业教育,中国东方教育(00667.HK)主攻非学历职业教育培训,中国新华教育(02779.HK)则主要从事学历职业教育。此外其覆盖幼儿园、小学、初中、高中的国际教育,也有可能再次打包上市。


地产板块,新华控股下有华地集团、华地物业、格林生态和格林景观,集房地产开发、物业服务、园林景观于一体,打造完整的产业链。


金融板块,分为华地股份和新华金融集团。其中,华地股份主要从事房地产基金、投资投行等业务。新华金融集团则是微商银行和合肥科技农村商业银行的股东之一,下设小额贷款公司、典当公司、信息服务公司等,为各类企业提供金融贷款服务。


商贸板块,依托安徽华祺国际贸易集团和安徽新华国际贸易有限公司打造,旗下拥有10多家从事商业贸易、供应链管理的企业。


资产运营板块,目前专注园区的开发和经营。新华阳光集团采取“智能商业管理+创业投资孵化”的模式,管理运营1个省级众创中心,11个专业化产业及园区项目,管理的产业园区面积达80万平米,资产规模超过150亿元。


这位安徽隐形富豪,正在构建一个庞大的商业帝国。



*本文由i黑马旗下火柴盒观察原创,作者张沉浮。i黑马,让创业者不再孤独。


i黑马,让创业者不再孤独。

商务合作:15222191516(微信)


登录查看更多
0

相关内容

以盈利为导向的组织,在法律框架下向社会提供商品和服务进而在自愿前提下进行的交易行为被称之商业
AI创新者:破解项目绩效的密码
专知会员服务
35+阅读 · 2020年6月21日
商业数据分析,39页ppt
专知会员服务
165+阅读 · 2020年6月2日
2020年中国《知识图谱》行业研究报告,45页ppt
专知会员服务
241+阅读 · 2020年4月18日
中科大-人工智能方向专业课程2020《脑与认知科学导论》
广东疾控中心《新型冠状病毒感染防护》,65页pdf
专知会员服务
19+阅读 · 2020年1月26日
郭台铭的王权之路
君临
3+阅读 · 2019年4月29日
ofo商业模式破产
1号机器人网
6+阅读 · 2019年1月29日
“光纤之父”高锟离世,感谢他的贡献
人工智能学家
3+阅读 · 2018年9月24日
2017创业阵亡最全名单曝光,触目惊心!
今日互联网头条
5+阅读 · 2017年12月26日
EfficientDet: Scalable and Efficient Object Detection
Arxiv
6+阅读 · 2019年11月20日
Position-aware Graph Neural Networks
Arxiv
15+阅读 · 2019年6月11日
Arxiv
4+阅读 · 2018年6月14日
Arxiv
5+阅读 · 2016年12月29日
VIP会员
最新内容
人工智能在战场行动中的演进及伊朗案例
专知会员服务
7+阅读 · 4月18日
美AI公司Anthropic推出网络安全模型“Mythos”
专知会员服务
4+阅读 · 4月18日
【博士论文】面向城市环境的可解释计算机视觉
大语言模型的自改进机制:技术综述与未来展望
《第四代军事特种作战部队选拔与评估》
专知会员服务
3+阅读 · 4月18日
相关VIP内容
Top
微信扫码咨询专知VIP会员