微软新专利曝光:脑机交互将改变下一代操作系统

2017 年 11 月 22 日 极客公园 刘丢丢


摘要:最近曝光的一系列专利显示,微软正在思考用非侵入式脑机接口来控制计算机,这或许会改变未来的操作系统。


尽管「世界第一大操作系统」的名号已经被 Android 夺走,但「软件巨人」并没有停止对下一代交互方式的研究。最近曝光的一系列专利显示,微软正在思考用非侵入式脑机接口来控制计算机,这或许会改变未来的操作系统。


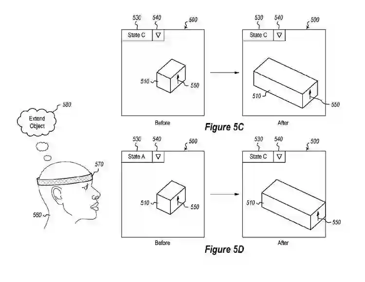
用神经数据改变应用状态

利用神经数据检测与应用状态相关的特定操作,了解到用户的具体意图后,应用状态会自动与预期的操作匹配,以方便用户执行特定操作,其实就是将意念自动化为具体操作。

用神经数据控制连续运动

利用神经数据实现连续运动控制,并与用户界面控制装置结合,使用户能够在图形界面实现模拟控制。这项专利能够让用户通过神经数据来进行一些微小的操作,比如移动鼠标和调节音量。


根据大脑活动改变设备模式

在 Windows 10 中已经增加了平板模式,如果脑机交互能够实现,还将增加一个「脑机模式」。这项技术是为实现自动切换模式,使用大脑活动和操作数据来训练机器学习分类器,然后算法会自动将这些数据进行分类,为用户选择合适的操作模式。应用将可以通过一个 API 接口来识别这些数据,以自动切换为用户想要的模式。


根据大脑活动和注视位置改变用户界面

比较有意思的是,微软还允许在使用 HoloLens 时,根据大脑活动和眼睛注视位置来判断用户感兴趣的视觉内容,以此来改变用户界面的显示方式。还是利用机器学习分类器,大脑活动和注视位置将作为训练数据,然后基于这些信息就可以自动改变用户界面状态,这项功能同样对应用开放 API 接口。

这些专利的团队人员来自 Surface 和 HoloLens 部门,专利于五月份提交,近期刚刚公布。脑机交互从科幻走向现实,也许并不远了。

文章参考:MSPoweruser(http://t.cn/RYv8T4U)

头图来源:视觉中国

编辑:双筒猎枪

本文由极客公园原创

转载联系 [email protected]

登录查看更多
3

相关内容

打怪升级!2020机器学习工程师技术路线图
专知会员服务
99+阅读 · 2020年6月3日
Python导论,476页pdf,现代Python计算
专知会员服务
266+阅读 · 2020年5月17日
人机对抗智能技术
专知会员服务
214+阅读 · 2020年5月3日
【ICMR2020】持续健康状态接口事件检索
专知会员服务
18+阅读 · 2020年4月18日
深度神经网络实时物联网图像处理,241页pdf
专知会员服务
78+阅读 · 2020年3月15日
 【中科院信工所】社交媒体情感分析,40页ppt
专知会员服务
104+阅读 · 2019年12月13日
如何用GitLab本地私有化部署代码库?
Python程序员
9+阅读 · 2018年12月29日
对话式交互技术原理及流程揭秘
AI前线
5+阅读 · 2018年5月24日
小冰,请接电话!
微软丹棱街5号
5+阅读 · 2018年4月18日
搜狗推出唇语识别技术 提升远场语音交互
智东西
3+阅读 · 2017年12月14日
脑机接口技术如何具体实现?
人工智能学家
7+阅读 · 2017年12月7日
Arxiv
26+阅读 · 2018年9月21日
Arxiv
5+阅读 · 2018年3月16日
Arxiv
13+阅读 · 2018年1月11日
Arxiv
9+阅读 · 2016年10月27日
Arxiv
3+阅读 · 2012年11月20日
VIP会员
最新内容
《第四代军事特种作战部队选拔与评估》
专知会员服务
0+阅读 · 27分钟前
不对称优势上升:自主系统如何强化海上拒止
专知会员服务
0+阅读 · 59分钟前
《人工智能赋能电磁战》(报告)
专知会员服务
2+阅读 · 4月17日
【CMU博士论文】迈向可扩展的开放世界三维感知
相关VIP内容
相关资讯
如何用GitLab本地私有化部署代码库?
Python程序员
9+阅读 · 2018年12月29日
对话式交互技术原理及流程揭秘
AI前线
5+阅读 · 2018年5月24日
小冰,请接电话!
微软丹棱街5号
5+阅读 · 2018年4月18日
搜狗推出唇语识别技术 提升远场语音交互
智东西
3+阅读 · 2017年12月14日
脑机接口技术如何具体实现?
人工智能学家
7+阅读 · 2017年12月7日
相关论文
Arxiv
26+阅读 · 2018年9月21日
Arxiv
5+阅读 · 2018年3月16日
Arxiv
13+阅读 · 2018年1月11日
Arxiv
9+阅读 · 2016年10月27日
Arxiv
3+阅读 · 2012年11月20日
Top
微信扫码咨询专知VIP会员