“冷分子制备与操控”专题讲座第五讲:基于激光冷却原子的超冷分子制备与外场操控

2018 年 3 月 28 日 中国物理学会期刊网 武寄洲 等

作者:武寄洲,马 杰,贾锁堂  (山西大学)


1 引言


以激光冷却、玻色—爱因斯坦凝聚(BEC)、光学相干和精密光谱方面工作相继获得诺贝尔物理学奖为重要里程碑,原子分子物理与量子光学的深度融合,开启了原子分子光物理研究的崭新一页。继超冷原子物理研究在量子模拟、量子计算和精密测量领域取得了令人瞩目的巨大成功之后,超冷分子物理在世界范围内掀起了新的研究热潮。如同物理化学家们常说的“一个双原子分子要比一个原子复杂太多”,超冷分子物理的研究是更具有挑战性和开创性的工作。而今,大量超冷(<1 mK)分子物理的热点研究并非单纯以获得低温分子为根本目的,而是当 de Broglie波长变得与分子间距离可比拟甚至更大时,出现的激动人心的量子现象。超冷分子物理研究涵盖了超冷分子的制备、测量和操控等实验和理论研究内容,不仅是重要的基础物理科学研究内容,而且推动了精密测量、量子物理和超冷化学等交叉领域的快速发展。


在超冷分子物理研究兴起的过程中,首要目标是产生稳定且密集的超冷分子样品。由于分子缺少闭合的循环跃迁能级系统,除极少种类的分子之外,其直接激光冷却往往难以实现。目前冷分子的制备主要通过两大类技术来实现:直接冷却技术和间接冷却技术。直接冷却是指通过各种物理技术将化学性质稳定的热分子束通过热接触或者碰撞的形式(如缓冲气体冷却与电场斯塔克减速冷却等)进行减速冷却。其优势在于可冷却分子种类多,产率大,其缺点是分子还达不到超冷的温度(T>1 mK),特别是分子的相空间密度仍然很低,达不到量子简并的状态。为了获得温度为μK或更低的 nK量级的超冷分子样品,实验上主要通过间接冷却方案,即以激光冷却俘获到的超冷原子或温度更低的超冷原子量子简并气体(BEC或者简并费米气体)为起点,通过碰撞过程缔合形成超冷分子,如光缔合(photoassociation)、Feshbach共振磁缔合(magnetoassociation)以及在原子费米海中三体碰撞等方案。间接冷却方案能够将分子冷却至与初始超冷原子样品相当(~μK 甚至~nK 的量级)的温度,获得的分子相空间密度也很高(可达 1012 cm-3量级)。其中,光缔合方案由于实验操作简便、分子产率较高等优势被广泛用于超冷分子的制备。自从 H. Thorsheim等人首次提出超冷原子对通过单色光缔合形成超冷分子的方案以来,光缔合形成超冷分子已经在碱金属、碱土金属,甚至在氦和氢等很多系统中实现。而由于作为调谐超冷原子分子体系中粒子间相互作用强度的一个最有效的工具,利用磁场诱导的 Feshbach 共振不仅在超冷分子的制备中获得了广泛的应用[7],而且在多体量子系统的获得以及深入的探索中取得了巨大的成就。在光缔合与 Feshbach 共振技术的基础上,人们发展了受激拉曼绝热通道技术(STIRAP),通过将光场与磁场的有机结合,将弱束缚的激发态分子高效并且相干地转移到了基态的最低能级,获得了超冷玻色分子以及费米分子的量子简并气体。此外,人们还先后发展了超短脉冲激光光缔合、光学宽带泵浦等方案用于制备超冷分子。


随着超冷分子的有效制备,实验研究的重点正在向超冷分子的基础应用方面转变。得益于长的相干时间、外场可操控和强的偶极—偶极相互作用(用于实现量子纠缠),精密测量和量子信息无疑是最有希望取得突破的应用方向。其中,超冷分子的外场操控是实现这些目标的核心研究内容。外场操控技术包括外磁场、多光场和微波场等手段,其中外磁场操控,特别是磁场可调谐Feshbach 共振操控,已经引起了人们的广泛关注。R. Cote教授与R. Hullet教授等人也分别从理论与实验上展示了 Feshbach 共振增强光缔合的效应。


本文主要对超冷分子经缔合技术制备的基本原理及主要实验技术,包括光缔合、Feshbach共振缔合、受激拉曼绝热跃迁和超短脉冲光缔合,以及外场操控等方面的基础应用进行综述,并简要介绍我们研究小组在超冷分子光缔合外磁场操控方面的实验进展。


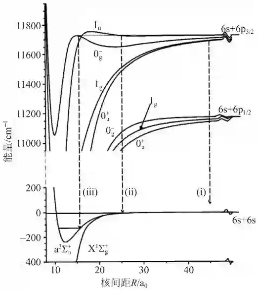
图1 铯分子基态和激发态的势能曲线(a0是玻尔半径,核间距R的单位)


2 光缔合技术制备超冷分子


2.1 光缔合原理


超冷分子的光缔合理论方案最早在1987年由H. Thorsheim 等人提出。在光缔合过程中,两个基态的超冷原子在相互碰撞的过程中共振地吸收一个光子,其频率为原子—分子共振跃迁频率,从而形成一个布居于特定振转能级的激发态分子。以铯双原子分子为例,该过程可以表示为

超冷基态铯原子样品在光缔合激光(频率为ν1)的作用下,实现光缔合跃迁,形成了处于Ωg,u态下振转能级分别为(ν,J)的激发态超冷铯分子,其势能曲线渐进趋于 6s+6p1/2,6s+6p3/2两个离解限,如图1所示。其中,在6s+6p3/2离解限下存在4个吸引势的长程态(洪德定则c, 0u+ , 0g- ,1u,1g),在 6s+6p1/2 离解限下存在 3 个吸引势的长程态( 0u+ , 0g- ,1g)。


光缔合形成的超冷铯分子处于长程激发态,其寿命很短,仅有30 ns左右,易于通过自发辐射进行弛豫,其主要的跃迁通道为:


(i)  退激发形成自由原子对。碰撞的超冷原子对在光缔合过程中被加热,经过离解后获得一定能量逃逸出磁光阱,形成比初始温度高的基态原子。


(ii) 形成超冷基态铯分子。当铯分子处在具有双阱结构的 1u分子激发态,经自发辐射形成稳定的基态分子。


(iii) 当铯分子处在具有双阱结构的 0g-分子激发态,通过隧穿效应由长程分子变成短程分子。


光缔合跃迁将连续的原子散射态与分立的分子激发态联系起来,其耦合强度,即跃迁几率由该偶极跃迁的矩阵元中的弗兰克康登因子(Franck—Condon factor,FCF)决定。激发态分子经(i)通道跃迁的概率要远大于经过(ii)和(iii)通道跃迁的概率。这样,只有很少部分的激发态分子经过自发辐射可以形成基态超冷铯分子。而这 3个通道的跃迁,都引起了磁光阱中超冷铯原子数目的减少,即俘获的超冷铯原子数出现损耗。


2.2 光缔合光谱探测超冷分子


1993年,P. D. Lett等人最先报道了超冷温度下 Na2光缔合实验,Na冷原子样品被俘获在磁光阱中,一束高功率的频率在589 nm附近的激光作为光缔合光,进而得到了超冷Na2分子。目前,实验上已经获得了除Fr外的全部碱金属超冷原子经光缔合形成的同核分子和异核分子,以及部分碱土金属原子的光缔合超冷分子。对于不同种原子光缔合制备超冷分子的实验以及探测与同种原子光缔合基本一致。我们这里同样以光缔合制备Cs分子为例,介绍实验实现超冷分子的光缔合制备。


图 2 超冷原子光缔合(photoassociation)制备 Cs 分子实验装置示意图(图中MCP为微通道板,TOF为磁光阱的飞行时间,MOT为磁光阱)


图2为1998年法国P. Pillet教授小组光缔合制备超冷铯分子的实验装置图。超冷原子样品被制备在磁光阱中, 光缔合激光由大范围连续可调谐钛宝石激光器系统 Ti:Sapphire提供,光缔合激光的绝对频率通过一台高精度法布里—珀罗腔进行监视和记录。一束大功率的染料激光器作为电离光。用多通道板对形成的分子进行探测。考虑到冷原子的装载时间(3 s),实验上光缔合光频率的扫描速度一般为10 MHz/s。


探测光缔合制备的超冷分子的一种方法是离子探测技术,该方法是形成超冷分子的最直接证据。其基本原理是形成超冷基态分子后,利用强脉冲激光对磁光阱中心超冷原子分子混合气体作用,使其分别电离成原子离子和分子离子;由于原子离子和分子离子虽然带电荷相同,但是分子离子的质量不同,因此在离开磁光阱中心飞行到多通道板的过程中,原子离子和分子离子会逐渐分离。图 3为2004年Marcassa小组采用光缔合制备KRb的离子探测结果。质谱图中K2,KRb,Rb2 信号出现位置的不同直接证明了光缔合分子的产生。3 种离子的质量不同,在同一电场加速下,到达微通道板的时间不同,所以出现了质谱峰的分离。


图3 飞行时间质谱直接证明了超冷KRb分子的形成,由于形成离子的质量不同,导致飞行时间质谱峰的出现


另一种探测分子的方式是俘获损耗探测技术,即通过监视磁光阱中冷原子数目的变化来观察光缔合分子的形成。离子探测技术相比俘获损耗探测技术具有更高的灵敏度,可以探测很微弱的信号。并且离子探测到分子离子信号为产生超冷基态分子提供了直接的证据,在制备基态分子的探测上起了很大的作用。然而尽管离子探测技术具有很高的灵敏度,但其探测范围也受到了制约;另一方面俘获损耗光谱技术虽然存在信噪比低的缺点,但是理论上可以探测任何态的超冷分子。为了提高信噪比,我们小组采用了三维速度选择调制光谱技术成功地提高了信噪比。


扫描光缔合光的频率,可以制备处于不同能级的激发态超冷分子。光缔合光谱为研究超冷分子提供了实验依据。图 4 为超冷铯分子离解限6s+6p3/2(对应波数~11732.176 cm-1)下红失谐光缔合激光频率时观测到的超冷铯原子光缔合俘获损耗光谱。


图4 超冷铯原子光缔合俘获损耗光谱 (3个长程分子激发态对应跃迁共振标记为: 0g- →◇;1g→+; 0u+ →Δ)


3 Feshbach共振技术制备超冷分子


Feshbach共振现象首次在核物理研究中被发现。随后,这一现象被拓展到超冷原子分子物理的研究领域。通过控制超冷原子间的相互作用,使得碰撞中的两个超冷原子可以直接结合形成一个处于弱束缚态的分子,从而将原子的散射态与具有极小束缚能的分子态有效地连接起来。近年来,Feshbach共振技术已经成为超冷物理研究的一个强有力的工具,广泛地应用于调控超冷原子分子间相互作用以及基态超冷分子的制备中,并取得了很多重大的研究进展,特别是在实验上成功地实现了由费米原子构成的超冷分子的玻色—爱因斯坦凝聚(BEC)。


Feshbach共振的原理可以通过双通道模型来描述。如图 5 所示,在两个间距为 R 的超冷原子碰撞的散射过程中,Vbg(R)为其背景势能曲线。在超冷条件下,原子间的碰撞能量 E很小,因而其势能对应于一个入射通道,亦称开通道。而闭通道是另一势能曲线Vc(R),这里存在一个双原子分子的振动束缚态。当闭通道的分子束缚态与开通道的超冷原子散射态实现简并时,Feshbach共振发生,处于散射态的原子越过束缚态分子和散射态原子的能量交叉点,转变为处于束缚态的分子。由于束缚分子态与碰撞原子的散射态具有不同的磁矩,因而可以通过外加一个均匀偏置磁场来调谐二者之间的能量差,在某一磁场位置处二者能量相等,该磁场值即为 Feshabch共振点,这样就通过外部磁场的控制实现了磁场可调谐的Feshbach共振。通过 Feshbach共振形成的超冷分子通常处于弱束缚的基态,被称为Feshbach分子。


图5 Feshbach共振的两通道模型


Feshbach共振现象首次在 1998年由美国 Ketterle 小组在光阱中 23Na 原子的 BEC 中观测到。23Na 原子的 BEC 首先被制备在 |F = 1,mF = 1> 超精细态上,随后在扫描空间均匀分布的磁场时,在907 G处原子出现大量的损耗,相应的散射长度有一个剧烈变化的现象,即图6所示的Feshbach共振。随后,在其他原子气体系统中也都观测到了Feshbach共振。


图 6 散射长度 a随磁场强度 B的变化(纵坐标 a的单位为背景散射长度 abg)


利用Feshbach共振技术制备超冷分子已经分别在玻色气体系统和费米气体系统(23Na40K,87Rb40K等)中分别实现。实验的基本思路是从磁阱(光阱)中的原子开始,将其泵浦到超精细能级中相应的塞曼子能级,然后通过扫描磁场,在Feshbach共振处将相同(不同)自旋态的玻色子(费米子)原子直接共振转换形成分子。这些分子处于高激发态,束缚能小于 0.1 cm-1,波函数扩展到几千个玻尔半径(a0)。这里需要指出的是,对于由两个玻色子经扫描磁场形成的 Feshbach分子,原子和分子之间的碰撞由于受到非弹性碰撞(两体损失率系数 KAD在 10-10 cm3s-1量级)的影响,转化效率很低(~4%),并且寿命也很短(ms量级),从而难以达到完全的热平衡,无法实现从分子量子简并气体到分子的BEC。弱束缚的分子形成之后在这些碰撞的作用下被加热并迅速逃逸出阱。有趣的是,当 Feshbach分子是由自旋相反的两个费米子组分形成时,其寿命(s 量级)和转化效率(50%—85%)都显著提高。这是由于自旋不同的费米子被制备到原子基态最低能级的塞曼自旋态,其自旋波函数是反对称的,泡利不相容原理使得二者可以通过 s 波散射进行原子间的配对,从而使得原子—分子以及分子—分子之间的非弹性碰撞在正向散射长度位置处被显著抑制。这样不同自旋态的费米子在极低温条件下快速地碰撞,很容易达到原子云的热平衡,从而可以实现有效的蒸发冷却。当这两组分的费米子被同时囚禁到远离原子辐射跃迁的光阱中时,通过 Feshbach共振调谐散射长度,使原子间进行强烈的相互作用,通过逐步降低光阱的深度进行强制蒸发冷却,这样就产生了分子的 BEC。此外,在 Feshbach共振点附近,原子的三体结合率变得非常大,很容易形成 3 个原子构成的三聚体(trimmer),使得Feshbach 共振在不同原子体系三体 Effimov 态的实现与观测中发挥重要作用,已经成为多体物理研究的全新工具。


4 受激拉曼绝热通道技术制备基态超冷分子


超冷温度下(~亚微开)量子简并的超冷分子气体系统及其量子态作为优良的载体,在量子计算、量子模拟、量子相变和量子信息的研究中具有独特的优势。为此,必须确保超冷分子具有较长的寿命以及很好的碰撞稳定性,这就需要在实验上将超冷分子高效地制备到绝对的振转基态。因而,制备密集的振转基态超冷分子,彻底抑制振动弛豫已经成为超冷分子研究领域中的热点。如前所述,光缔合技术和 Feshbach共振技术都可以用来产生超冷分子。但是,经单色光缔合形成的超冷基态分子,产率非常低而且形成的基态分子能级不确定;而由 Feshbach共振形成的弱束缚超冷分子不稳定,极易解离为自由原子。人们尝试通过增加一束频率与激发态分子和基态分子能级共振频率相等的受激激光,即通过双色光缔合方案,使激发态的超冷分子经受激辐射形成超冷基态分子。与经激发态分子自发辐射形成的基态分子相比,可以大大提高基态分子的产率。但是实验上,相比于双色光缔合,以 Feshbach分子为基础的受激拉曼绝热转移(STIRAP)技术,被证明是一种制备密集基态超冷分子的非常有效的方法。


受激拉曼绝热转移(STIRAP)的基本思想是通过构建一个双光子拉曼跃迁通道,实现两个量子态之间布居的转移。由于在转移的过程中存在一个相干的暗态,有效抑制了来自激发态的自发辐射所导致的损耗。考虑一个三能级系统,如图7(a)所示,其中 |a> 和|g> 分别表示 Feshbach 分子的弱束缚能级和深束缚的基态分子的能级, |e> 为激发态分子的能级。两束激光 L1和 L2的频率分别对应态 |a> 到态 |e> 的共振跃迁频率和态 |e> 到态|g> 的共振跃迁频率。相比于分子激发态 |e> ,处于基态的分子态 |g> 有相对较长的寿命。那么,当 L1和 L2具有相同的共振失谐时,该相干的三能级系统中形成了一个由态 |a> 和态 |g> 相干叠加而形成的暗态,从而使基态超冷分子在制备过程中不会涉及到激发态 |e> 。


图7 (a)基于超冷 Feshbach分子的受激拉曼绝热转移原理示意图;(b)受激拉曼过程中激光的时序


受激拉曼绝热转移采用的激光时序如图 7(b)所示。激光 L2开启时,超冷原子(或 BEC)样品经磁 Feshbach共振形成处于基态的弱束缚 Feshbach分子态,对于 L2是一个暗态。此时,如果缓慢地引入激光 L1,暗态开始演化为态 |a> 和态 |g> 的相干叠加态。通过绝热地减小激光 L2的光强并增加激光 L1的光强,叠加态的特性将会发生变化,此时该混合态中处于态 |g> 的几率增加。当完全开启激光L1并关闭激光L2后,粒子完全布居在态 |g>上。该绝热过程充分利用了态 |a> 和态 |g> 相干叠加形成的暗态,因而没有涉及到会发生自发辐射的激发态 |e> 。需要注意的是,基于 Feshbach 分子的受激拉曼绝热转移要求两个激光场L1和L2必须具有相干的相位,这就需要将相应的两个激光器完全相位相干锁定。此外,对应的时序应具有时间反演的特性,从而可以实现由态 |g>向态 |a> 的转移,并可以通过探测原子样品的特性而得出所形成基态分子的相关信息。


通过 STIRAP 技术获得绝对基态的超冷分子于 2008 年首次由美国 D.Jin 和 J.Ye 教授小组在 40K87Rb 分子中实现。如图 8 所示,Feshbach 分子在向基态转移的过程中,转移效率达到 83%,该成果入选了当年的美国物理学会的十大科学进展。由于两体碰撞的存在使得超冷基态 40K87Rb分子是化学不稳定的,这一特性一方面使得对于研究量子态操控的量子化学提供了新的契机,但另一方面也使俘获的超冷分子发生损耗与加热,从而影响分子的产率与寿命(仅在 ms量级)。光晶格技术的发展有力地解决了这一问题。当把超冷 40K87Rb Feshbach分子装载到光晶格势阱中,分子间的两体碰撞被显著地抑制,两体化学反应不再发生,使得超冷基态 40K87Rb 分子的寿命获得了极大的增长(~ 25 s),而且使分子与原子对之间的转化效率达到近乎100%。


图8 STIRAP机制制备纯基态超冷 40K87Rb分子。通过相干拉曼绝热跃迁通道,布居于 a3Σ弱束缚的 40K87Rb Feshbach分子经由中间态 23Σ的ν′=23能级被转移到ν=0,J=0 基态能级上。分子温度与初始原子温度相同量级(200—800 nK)


目前,通过精确操控分子间的电子、平动、振动、转动以及核自旋等自由度,超冷基态分子的制备都相继通过 STIRAP 技术在同核分子系统和异核分子系统中实现。近年来,围绕超冷基态分子的制备等方面的研究方兴未艾。2014年奥地利 Innsbruck 大学的 R. Grimm 教授小组与英国Durham大学的 S. Cornish 小组(Durham 大学)先后采用 STIRAP 技术将超冷 87Rb133Cs 分子制备到了纯基态(ν''=0,j''=0),其中 Grimm 小组的分子布居转移率甚至提高到了 90%,并且将分子制备到了基态超精细态,克服了两体碰撞过程的影响,为制备碰撞稳定的极性分子量子气体奠定了很好的基础。特别是 2015 年美国 MIT 的M. Zwierlein小组采用STIRAP技术制备了超冷 23Na40K的绝对振转基态的分子气体 (寿命达到 2.5 s,布居转移效率为~75%)。由于 23Na40K费米分子的化学性质稳定,且电偶极矩相比 40K87Rb 分子更大,因而对于制备强相互作用的极性费米气体,进而在多体物理以及产生新奇量子相位的研究中具有更广阔的前景。


5 超快光缔合技术与光泵浦技术制备基态超冷分子


前文中提到,光缔合技术能够制备大量稳定的超冷分子,并可获得与初始冷原子样品相同的平动温度(~100 μK,或者更低),但是通过自发辐射过程,分子的布居将散布到各个激发振动能级,因而形成的分子并非处于单一的某个振动态。于是,人们提出采用啁啾激光脉冲或者整形脉冲激光进行光缔合制备超冷分子。该方案充分利用了光学技术的各种可能性来更好地实现对光缔合过程和稳定分子过程的控制。


如图 9所示为超短脉冲光缔合制备超冷分子的基本原理。由于激发(泵浦)脉冲的带宽很宽,碰撞的原子对可以被激发到一系列分子束缚态,从而形成一个振荡的波包。而激发效率依赖于基态散射波函数与激发的分子束缚态波函数之间的重叠积分,即 Frank—Condon 因子的大小。为了制备稳定的基态分子,可以通过两种途径来实现:一种是被动地通过自发辐射形成束缚态的基态分子。分子的产率由瞬时 FC 因子以及波包之间的量子干涉来决定。因而可以通过对初始激发态的波包进行整形,使激发态的波函数进行不断的相位重组,从而获得最大化的 FC 因子与大的基态分子产率。另一种主动型的方法,是在先前获得的跃迁到基态的波包的基础上,施加另外一条相干通道实现分子布居的受激转移,实现对系统的动力学进行有效的控制。当第二个脉冲(退泵浦脉冲)刚好与波包在给定核间距处强烈局域化时到达,那么通过这一受激辐射,分子可以稳定到某一确定的基态能级分布上。通过对泵浦和退泵浦脉冲的幅度以及相位的整形,波包的动力学也被重新整合,使得只有预先选择的基态振动能级才可以被布居。而脉冲序列的优化可以通过最优控制理论或者学习算法来实现。这样,即使一个简单的啁啾激发脉冲也可以对光缔合的动力学产生显著的效应,有力促进了基态分子的形成。


图9 采用频率啁啾的超短脉冲激光进行双色泵浦—退泵浦光缔合制备超冷分子


超快脉冲激光的诞生为超冷分子的密集制备提供了一种新的思路。超快激光(皮秒或者飞秒区域)和激光整形技术的应用不仅能够提高分子的产率,也可以实现对分子动力学现象的实时观察和操控。近年来,超快激光在超冷分子制备的应用受到了广泛的关注并取得了飞速的发展。早在2001 年,美国国家标准技术研究所(NIST)的 P.Lett小组就采用脉宽为15 ps的染料脉冲激光作为光缔合光在 Na磁光阱中尝试制备 Na2,并进行了泵浦探测实验,对形成的激发态分子的波包动力学作了一些研究。之后,美国 Connecticut大学P. Gould小组将啁啾纳秒脉冲引入 Rb原子磁光阱中,采用相干控制的方法获得了布居于基三重态的超冷铷分子。德国M.Weidemüller小组采用飞秒脉冲对超冷铷分子的制备做了大量工作,通过其振荡特性对相干瞬态动力学做了研究,获得了超冷铷分子的泵浦—探测时间分辨光谱,对超冷基态铷分子做了探测。我国大连理工大学的丛书林教授小组围绕超短脉冲激光控制超冷碰撞原子形成超冷分子也做了很多理论工作。由于超快脉冲激光独有的特性,对于超冷分子的制备提供了一种新的思路,更重要的是,它使得固相、液相、气相、团簇和表面中分子的动力学行为等超快现象被完美地展现出来,从而使人类对微观世界的认识发生了变革,对人类社会的发展也产生了重大的影响。


6 超冷分子的外场操控


超冷原子分子系统作为一个理想的平台,提供了许多可操控的自由度。近年来,特别是以Feshbach 共振在实验上的实现以及进一步的应用,使得利用外磁场对超冷分子光缔合进行操控成为可能。关于 Feshbach共振操控超冷分子的光缔合,我们可以从最直观的角度来理解。超冷原子的散射长度的幅值在 Feshbach共振附近会大幅增加,而散射长度是作为基态原子波函数中最重要的一个变量,所以 Feshbach 共振可以增加超冷原子在 Condon 半径 Rc处的几率,从而可以通过 Feshbach 共振获得增强的光缔合。2009 年,R. Côté教授研究小组基于 Feshbach共振增强超冷分子的光缔合,提出了超冷原子在 Feshbach共振处的直接受激拉曼绝热转移,可以将处于连续散射态的 6Li原子和 23Na原子制备到处于深束缚振动能级的基态 6Li23Na分子,并且预言了一个非常高的分子产率。由于处于基态的超冷原子具有很长的寿命,从而解决了目前受激拉曼绝热转移实验过程中为获得大的 Frank—Condon因子所采用的弱束缚 Feshbach分子寿命较短的问题。实验上,R. Hullet教授的研究小组在被俘获在光阱中的 7Li 原子中,观测到了光缔合率在Feshbach 共振附近会出现非常大的增强效应,从而实现了 Feshbach共振增强的光缔合。同时发现在 Feshbach共振附近,光缔合也展现出一个明显的抑制现象,这可以通过Fano理论对其做定性的解释。此外,该研究小组也测量了 Feshbach共振附近的磁场对超冷分子光缔合的谱线频移的影响,发现谱线频移率随磁场呈现出色散型变化,说明谱线的频移在 Feshbach共振附近不仅有红移现象而且还表现出蓝移现象。


关于外磁场操控超冷分子的光缔合,我们小组也做了相关的实验研究。利用处于能级 F=3,mF=3上的铯原子在外磁场下的特殊散射特性(即除一些窄带的 Feshbach共振外,散射长度随磁场从 0到 150 G连续增大),研究了外磁场对超冷铯分子光缔合率的影响。图 10中左图为超冷铯分子光缔合率随外磁场的变化。光缔合率随外磁场连续、单调地增大,其主要原因在于超冷铯原子的散射长度在相对较低的磁场范围内随外磁场连续增加。这样,利用铯原子的散射特性,可以通过外磁场来连续控制超冷铯分子的光缔合。


图10 左图为超冷铯分子的光缔合率随外磁场的变化,分子处于长程 6s+6p1/20g-态的ν=10,J=2振转能级上;右图为在磁场分别为 0,25,50,75 G时,光缔合中谱线频移随光缔合激光功率的变化,对应的激发态分子处于长程(6S1/2+6P3/2) 0g- 态的ν=10,J=0振转能级上。通过线性拟合,可以获得不同磁场下的谱线频移率


同时,我们研究了外磁场对超冷铯分子光缔合光谱中谱线频移的影响。图 10中右图为超冷铯分子的谱线频移在 4个不同磁场下随光缔合激光光强的变化,通过线性拟合可以获得不同磁场下的谱线频移率。插图展现了不同磁场下的谱线频移率,其随着外磁场会增大,这表明利用外磁场可以控制光缔合中的谱线频移。处于能级F=3,mF=3 上的铯原子在低磁场下就有很多可以被利用的窄带高次分波Feshbach共振,相应地散射长度在共振点附近很小磁场范围内会发生色散型变化,因此为研究Feshbach操控超冷铯分子的光缔合提供了一种重要的技术。


外磁场操控超冷分子的光缔合,具有许多潜在的重要应用。首先,利用Feshbach共振增强光缔合的机制,可以大幅提高从超冷散射态原子到激发态分子的光缔合率,通过采用受激拉曼绝热转移方法,使得从长寿命的散射态原子直接制备基态超冷分子。其次,基于 Feshbach共振附近光缔合率展现出来的非对称Fano线型,可以构建灵敏的探针,进而开展基本物理常数的精密测量。最后,通过考虑外磁场和 Feshbach共振对光缔合率以及光致频移率的影响,可以利用激光来调节超冷原子间的相互作用。


7 结束语


分子物理学是原子分子物理学一个重要的分支。经过数十年的发展,特别是激光冷却、Feshbach共振和光晶格等技术的出现,有力地推动了超冷分子物理演变成为物理学的一个重要领域。基于激光冷却原子的缔合技术,不仅是有效制备密集的超冷分子样品的重要途径,同时通过外场进行操控可以在精密测量和量子态操控等基础应用方面具有非常重要的作用。作为超冷分子物理研究的重要研究方向之一,我们有理由相信,超冷分子的缔合制备与外场操控的研究将有力地推动原子分子物理与量子光学研究,以及量子多体问题研究的更进一步深度融合,进而提高人类对超冷世界的认识和操控微观物质的能力。

冷分子制备与操控 ”专题讲座:

第一讲:中性分子的缓冲气体冷却与速度滤波技术

第二讲:分子束的静电Stark减速、静磁Zeeman减速和光学Stark减速技术

       第三讲:化学稳定分子的激光减速、冷却及其MOT技术

       第四讲:冷分子的导引、分束、反射、聚焦与囚禁等操控技术


本文选自《物理》2018年第3期



十大热门文章

1.送别郝柏林先生

2. 我所知道的郝柏林 | 刘寄星

3. 周末大家谈—初访赵凯华先生

4. 物理给予我创新原动力 | 宣丽

5.  物理学咬文嚼字之九十五:紧绷的世界

6.  超导“小时代”之二十八:费米海里钓铁鱼

7.  则贤问学录之一—刘寄星篇(上)

8.  则贤问学录之一—刘寄星篇(下)

9. 中国高功率固体激光技术发展中的两次突破

10.2017年度物理科学二处科学基金项目评审工作综述

END

登录查看更多
1

相关内容

【UCLA】基于深度神经网络的工业大模型预测控制,36页ppt
【BAAI|2019】用深度学习模拟原子间势,王涵  (附pdf)
专知会员服务
18+阅读 · 2019年11月21日
我国智能网联汽车车路协同发展路线政策及示范环境研究
车路协同应用场景分析
智能交通技术
24+阅读 · 2019年4月13日
自动驾驶车载激光雷达技术现状分析
智能交通技术
17+阅读 · 2019年4月9日
【学科发展报告】生物信息学
中国自动化学会
11+阅读 · 2018年10月22日
中国倒数第五!毕马威全球自动驾驶报告|附下载
人工智能学家
7+阅读 · 2018年1月21日
无人驾驶汽车
劲说
6+阅读 · 2016年8月26日
Arxiv
3+阅读 · 2018年6月1日
Arxiv
3+阅读 · 2017年12月14日
VIP会员
最新内容
美国与以色列如何在攻击伊朗中使用人工智能
专知会员服务
2+阅读 · 今天16:20
《自动化战略情报管控》
专知会员服务
1+阅读 · 今天14:31
得失评估:审视对伊朗战争的轨迹(简报)
专知会员服务
2+阅读 · 今天14:19
【CMU博士论文】迈向可解释机器学习的理论基础
专知会员服务
2+阅读 · 今天12:23
基于数据优化的人机协同与机器人僚机
专知会员服务
5+阅读 · 今天2:08
相关资讯
我国智能网联汽车车路协同发展路线政策及示范环境研究
车路协同应用场景分析
智能交通技术
24+阅读 · 2019年4月13日
自动驾驶车载激光雷达技术现状分析
智能交通技术
17+阅读 · 2019年4月9日
【学科发展报告】生物信息学
中国自动化学会
11+阅读 · 2018年10月22日
中国倒数第五!毕马威全球自动驾驶报告|附下载
人工智能学家
7+阅读 · 2018年1月21日
无人驾驶汽车
劲说
6+阅读 · 2016年8月26日
Top
微信扫码咨询专知VIP会员