苹果或将开发智能项链 | vivo NEX 5 新品曝光

2021 年 11 月 18 日 ZEALER订阅号




01

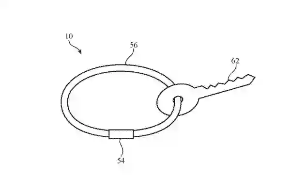
苹果申请“智能项链、钥匙扣”相关专利



据媒体报道,苹果新专利流出,可能会用于制造智能项链和钥匙扣等可穿戴设备。这项新专利名为"带有嵌入式电路的可穿戴环",关注的是如何让一个电子设备有一个织物外壳单元。苹果在专利中表示,电子设备可以佩戴在用户的身上,也可以附着在一个物体上。电子设备可以有一个环、带或类似绳子的形状,可以系在人、动物或物体上,或以其他方式附在上面,可用于收集关于电子设备所连接的人或物体的信息,其中包括位置信息、活动信息、识别信息、医疗或生物识别信息等等。


苹果目前的“可穿戴设备”产品线主要包括 Apple Watch 智能手表和 AirPods 耳机。苹果未来可能会寻求进一步拓展产品类型,覆盖钥匙扣、智能门锁、手环和项链等产品。




02

vivo NEX 系列新品 NEX 5 曝光


vivo NEX 3S


数码博主 @熊猫很禿然 今日爆料,vivo NEX 下一代旗舰名为 NEX 5,目前这款旗舰只入网了一款,这也就意味着 NEX 5 系列将至少会推出两款旗舰新机。vivo NEX 系列将前置摄像头隐藏在机身内部,通过拍照 APP 控制升降启用,开启了弹出全面屏时代,随后众多品牌开始陆续推出弹出屏方案的全面屏手机。往后 vivo 陆续推出了 vivo NEX 双屏版、vivo NEX 3 和 vivo NEX 3S 等旗舰机型,最后一款 NEX 3S 发布于去年 3 月 10 日。据爆料这款 NEX 5 旗舰将会搭载高通骁龙 8 Gen1 旗舰处理器,这也将是首批搭载骁龙 8 Gen1 的机型之一,有望在 2022 年发布。




03

一加 10 Pro 将于明年 1-2 月

率先在中国发布



海外博主 @heyitsyogesh 昨日在推特爆料,一加 10 Pro 将于明年 1 月至 2 月在中国率先发布,明年的 5 月至 6 月在全球发布,他表明国内将有两个月左右的独占期。据了解,一加之前大多数产品都会在同一时刻在全球范围内推出,而且中国地区没有优惠政策。不过由于一加已经合并至 OPPO 品牌,所以一加此次产品发布时间的调整或为一加要在国内市场做出巨大改变的表现之一。




04

iOS 15.1.1 推送改善 iPhone 12/13 

通话掉线问题



苹果今天发布了 iOS 15.1.1,此次更新主要修复了 iPhone 12 和 iPhone 13 系列“通话掉线”这个大问题。根据苹果的发布说明,iOS 15.1.1 改进了 iPhone 12 和  iPhone 13 系列机型的掉线问题,因此遇到掉线问题的用户应该在安装更新后看到改进。不过这版本固件仅适用于 iPhone 12‌ 和 iPhone 13 系列设备,其他型号不会收到本次更新。目前 iOS 15.1.1 更新已经可以下载,该软件可在所有符合条件的设备上通“设置”>“通用”>“软件更新”获得。




05

华硕海外发布无畏 VivoBook Pro 

14/15 笔记本



据外媒报道,华硕昨日在海外正式推出了“无畏”系列 VivoBook Pro 14/15 笔记本,VivoBook Pro 14/15 搭载高分 OELD 屏,屏幕分辨率为 2.8K,比例为 16:10,最大亮度 600nit。屏幕覆盖 100% DCI-P3 广色域,具有潘通色彩认证。这款笔记本标配 1TB SSD、16GB DDR4 内存,电池容量为 63W。标配 WiFi 6 无线网卡,支持指纹识别,配备大尺寸触摸板,支持多种手势操作。屏幕上方的摄像头还具有物理屏蔽罩。


此外,VivoBook Pro 14/15 笔记本提供 i5-11300H 处理器,可选配英特尔 11 代酷睿 H 系列处理器,以及 AMD 锐龙 5000 系处理器。最高可选配英伟达 RTX 3050 独立显卡。起售价为 919.99 美元(约 5878.74 元人民币),预计于 2021 年 12 月上市。




06

富士推出混合型拍立得相机

Instax mini Evo



昨日,富士(Fujifilm)宣布推出一款名为 Instax Mini Evo 的混合型拍立得相机,该相机采用与富士数码相机近似的复古外观设计,后置一块 LCD 屏幕,可以以数码相机的方式取景和拍照,并利用机身上的「PRINT」按键将照片输出为拍立得相片,富士表示其曝光分辨率是以前型号的两倍。Instax Mini Evo 还可以用作打印机,从智能手机获取照片并将其打印出来,通过无线打印输出照片。Instax mini Evo 将于 12 月 3 日在日本市场开售,明年 2 月登陆美国,售价 199.95 美元。




07

高德地图上线 ADAS 预警导航功能



高德地图近日上线了一项 ADAS 预警导航功能,此功能通过手机摄像头或连接行车记录仪,拍摄前方道路画面,借助先进的视觉 AI 技术实时计算,可智能识别前方车辆、行人、车道线等交通要素,并提供碰撞预警、车道偏离等多种安全提醒,防止风险的发生。高德 ADAS 预警导航功能目前已支持大部分主流的 iPhone 和安卓手机,适用于常规驾车导航和近期推出的车道级导航,广大高德地图用户均可使用。此外,OPPO 手机用户还支持连接众多主流的行车记录仪品牌,无须打开手机摄像头即可体验。




08

8 家网盘企业承诺年内推无差别速率产品



昨日,百度网盘、腾讯微云、天翼云盘、和彩云、阿里云盘、迅雷云盘、360 安全云盘和网易网盘等首批 8 家网盘企业在京共同签署《个人网盘服务业务用户体验保障自律公约》,承诺 2021 年内将推出“无差别速率”产品,为各类用户提供无差别的上传/下载速率服务。






雷柏屏显电竞游戏鼠标免费送



客制化鼠标还能玩出新花样?本期 ZEALER 众测产品——雷柏屏显电竞游戏鼠标顶级电竞光学引擎 PMW3389;实时显示鼠标性能的客制化 OLED 显示屏;炫酷黑科技的超跑造型…用它游戏上分,体验分分钟拉满!扫上方二维码或戳左下角「阅读原文」即可前往申请。


『热 门 推 荐』

登录查看更多
0

相关内容

中国5G垂直行业应用案例2022
专知会员服务
36+阅读 · 2022年4月8日
《中国5G垂直行业应用案例2022》GSMA最新发布,80页pdf
专知会员服务
26+阅读 · 2022年3月31日
【干货书】算法设计艺术,319页pdf
专知会员服务
122+阅读 · 2021年10月24日
5G AIoT全景商用产品手册,52页pdf
专知会员服务
55+阅读 · 2021年9月10日
专知会员服务
31+阅读 · 2021年7月2日
专知会员服务
22+阅读 · 2021年4月1日
《2021年中国AIoT产业全景图谱》白皮书,244页pdf
专知会员服务
131+阅读 · 2021年1月16日
【电子书】C++ Primer Plus 第6版,附PDF
专知会员服务
88+阅读 · 2019年11月25日
iPhone SE 3 等新品今日预售 | 小米 Civi 新款曝光
ZEALER订阅号
0+阅读 · 2022年3月11日
iPhone 新支付方式推出,比扫码好用多了?
ZEALER订阅号
0+阅读 · 2022年2月9日
小米 MIX FOLD 2 曝光 | vivo NEX 新品采用 7 英寸超大屏
ZEALER订阅号
0+阅读 · 2022年1月13日
国家自然科学基金
2+阅读 · 2013年12月31日
国家自然科学基金
1+阅读 · 2013年12月31日
国家自然科学基金
0+阅读 · 2012年12月31日
国家自然科学基金
0+阅读 · 2012年12月31日
国家自然科学基金
0+阅读 · 2012年12月31日
国家自然科学基金
0+阅读 · 2012年12月31日
国家自然科学基金
0+阅读 · 2011年12月31日
国家自然科学基金
0+阅读 · 2009年12月31日
Arxiv
27+阅读 · 2021年11月11日
Disentangled Information Bottleneck
Arxiv
12+阅读 · 2020年12月22日
Arxiv
13+阅读 · 2020年8月3日
Deep learning for cardiac image segmentation: A review
Arxiv
21+阅读 · 2019年11月9日
Deep Reinforcement Learning: An Overview
Arxiv
17+阅读 · 2018年11月26日
Exploring Visual Relationship for Image Captioning
Arxiv
15+阅读 · 2018年9月19日
VIP会员
最新内容
内省扩散语言模型
专知会员服务
3+阅读 · 4月14日
国外反无人机系统与技术动态
专知会员服务
3+阅读 · 4月14日
大规模作战行动中的战术作战评估(研究论文)
未来的海战无人自主系统
专知会员服务
3+阅读 · 4月14日
美军多域作战现状分析:战略、概念还是幻想?
无人机与反无人机系统(书籍)
专知会员服务
19+阅读 · 4月14日
美陆军2026条令:安全与机动支援
专知会员服务
9+阅读 · 4月14日
相关VIP内容
中国5G垂直行业应用案例2022
专知会员服务
36+阅读 · 2022年4月8日
《中国5G垂直行业应用案例2022》GSMA最新发布,80页pdf
专知会员服务
26+阅读 · 2022年3月31日
【干货书】算法设计艺术,319页pdf
专知会员服务
122+阅读 · 2021年10月24日
5G AIoT全景商用产品手册,52页pdf
专知会员服务
55+阅读 · 2021年9月10日
专知会员服务
31+阅读 · 2021年7月2日
专知会员服务
22+阅读 · 2021年4月1日
《2021年中国AIoT产业全景图谱》白皮书,244页pdf
专知会员服务
131+阅读 · 2021年1月16日
【电子书】C++ Primer Plus 第6版,附PDF
专知会员服务
88+阅读 · 2019年11月25日
相关基金
国家自然科学基金
2+阅读 · 2013年12月31日
国家自然科学基金
1+阅读 · 2013年12月31日
国家自然科学基金
0+阅读 · 2012年12月31日
国家自然科学基金
0+阅读 · 2012年12月31日
国家自然科学基金
0+阅读 · 2012年12月31日
国家自然科学基金
0+阅读 · 2012年12月31日
国家自然科学基金
0+阅读 · 2011年12月31日
国家自然科学基金
0+阅读 · 2009年12月31日
Top
微信扫码咨询专知VIP会员