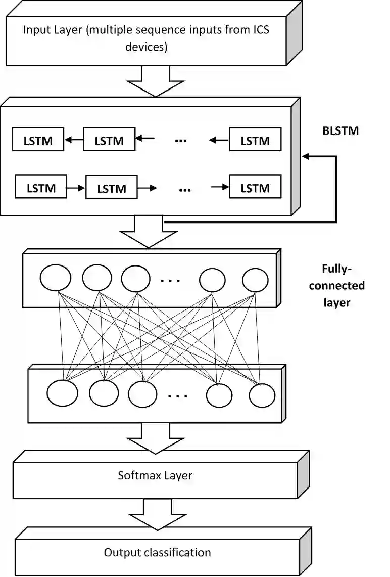
Due to the rise of Industrial Control Systems (ICSs) cyber-attacks in the recent decade, various security frameworks have been designed for anomaly detection. While advanced ICS attacks use sequential phases to launch their final attacks, existing anomaly detection methods can only monitor a single source of data. Therefore, analysis of multiple security data can provide comprehensive and system-wide anomaly detection in industrial networks. In this paper, we propose an anomaly detection framework for ICSs that consists of two stages: i) blockchain-based log management where the logs of ICS devices are collected in a secure and distributed manner, and ii) multi-source anomaly detection where the blockchain logs are analysed using multi-source deep learning which in turn provides a system wide anomaly detection method. We validated our framework using two ICS datasets: a factory automation dataset and a Secure Water Treatment (SWAT) dataset. These datasets contain physical and network level normal and abnormal traffic. The performance of our new framework is compared with single-source machine learning methods. The precision of our framework is 95% which is comparable with single-source anomaly detectors.


翻译:由于工业控制系统(ICS)网络攻击最近十年的兴起,设计了各种安全框架,以探测异常点;先进的ICS攻击使用连续阶段来发起最后攻击,而现有的异常点探测方法只能监测单一的数据源;因此,对多个安全数据的分析可以提供工业网络中全面和全系统的异常点探测;在本文件中,我们建议为ICS建立一个异常点探测框架,分为两个阶段:一) 以链式记录为基础,以安全和分布方式收集ICS装置的日志;二) 多源异常点探测,利用多源深层学习对块状链记录进行分析,从而提供系统范围的异常点探测方法。我们使用ICS的两个数据集,即工厂自动化数据集和安全水处理数据集(SWAT)验证了我们的框架。这些数据集包含物理和网络水平正常和异常流量。我们的新框架的性能与单一来源机器学习方法进行了比较。我们框架的精确度为95%,与单一来源异常点探测器相近。

1
下载
关闭预览

相关内容

在数据挖掘中,异常检测(英语:anomaly detection)对不符合预期模式或数据集中其他项目的项目、事件或观测值的识别。通常异常项目会转变成银行欺诈、结构缺陷、医疗问题、文本错误等类型的问题。异常也被称为离群值、新奇、噪声、偏差和例外。 特别是在检测滥用与网络入侵时,有趣性对象往往不是罕见对象,但却是超出预料的突发活动。这种模式不遵循通常统计定义中把异常点看作是罕见对象,于是许多异常检测方法(特别是无监督的方法)将对此类数据失效,除非进行了合适的聚集。相反,聚类分析算法可能可以检测出这些模式形成的微聚类。 有三大类异常检测方法。[1] 在假设数据集中大多数实例都是正常的前提下,无监督异常检测方法能通过寻找与其他数据最不匹配的实例来检测出未标记测试数据的异常。监督式异常检测方法需要一个已经被标记“正常”与“异常”的数据集,并涉及到训练分类器(与许多其他的统计分类问题的关键区别是异常检测的内在不均衡性)。半监督式异常检测方法根据一个给定的正常训练数据集创建一个表示正常行为的模型,然后检测由学习模型生成的测试实例的可能性。
最新《联邦学习Federated Learning》报告,Federated Learning
专知会员服务
92+阅读 · 2020年12月2日
Linux导论,Introduction to Linux,96页ppt
专知会员服务
82+阅读 · 2020年7月26日
Python计算导论,560页pdf,Introduction to Computing Using Python
专知会员服务
77+阅读 · 2020年5月5日
Python分布式计算,171页pdf,Distributed Computing with Python
专知会员服务
108+阅读 · 2020年5月3日
机器学习入门的经验与建议
专知会员服务
94+阅读 · 2019年10月10日
计算机 | USENIX Security 2020等国际会议信息5条
Call4Papers
7+阅读 · 2019年4月25日
CCF A类 | 顶级会议RTSS 2019诚邀稿件
Call4Papers
10+阅读 · 2019年4月17日
计算机 | CCF推荐期刊专刊信息5条
Call4Papers
3+阅读 · 2019年4月10日
弱监督语义分割最新方法资源列表
专知
9+阅读 · 2019年2月26日
IEEE | DSC 2019诚邀稿件 (EI检索)
Call4Papers
10+阅读 · 2019年2月25日
计算机类 | ISCC 2019等国际会议信息9条
Call4Papers
5+阅读 · 2018年12月25日
人工智能 | 国际会议截稿信息9条
Call4Papers
4+阅读 · 2018年3月13日
计算机类 | 期刊专刊截稿信息9条
Call4Papers
4+阅读 · 2018年1月26日
计算机类 | 国际会议信息7条
Call4Papers
3+阅读 · 2017年11月17日
【今日新增】IEEE Trans.专刊截稿信息8条
Call4Papers
7+阅读 · 2017年6月29日
Arxiv
0+阅读 · 2020年12月1日
Arxiv
0+阅读 · 2020年12月1日
Arxiv
0+阅读 · 2020年11月30日
VIP会员
最新内容
《系统簇式多域作战规划范畴论框架》
专知会员服务
5+阅读 · 4月20日
高效视频扩散模型:进展与挑战
专知会员服务
2+阅读 · 4月20日
乌克兰前线的五项创新
专知会员服务
7+阅读 · 4月20日
 军事通信系统与设备的技术演进综述
专知会员服务
5+阅读 · 4月20日
《北约标准:医疗评估手册》174页
专知会员服务
5+阅读 · 4月20日
《提升生成模型的安全性与保障》博士论文
专知会员服务
5+阅读 · 4月20日
美国当前高超音速导弹发展概述
专知会员服务
4+阅读 · 4月19日
无人机蜂群建模与仿真方法
专知会员服务
14+阅读 · 4月19日
相关资讯
计算机 | USENIX Security 2020等国际会议信息5条
Call4Papers
7+阅读 · 2019年4月25日
CCF A类 | 顶级会议RTSS 2019诚邀稿件
Call4Papers
10+阅读 · 2019年4月17日
计算机 | CCF推荐期刊专刊信息5条
Call4Papers
3+阅读 · 2019年4月10日
弱监督语义分割最新方法资源列表
专知
9+阅读 · 2019年2月26日
IEEE | DSC 2019诚邀稿件 (EI检索)
Call4Papers
10+阅读 · 2019年2月25日
计算机类 | ISCC 2019等国际会议信息9条
Call4Papers
5+阅读 · 2018年12月25日
人工智能 | 国际会议截稿信息9条
Call4Papers
4+阅读 · 2018年3月13日
计算机类 | 期刊专刊截稿信息9条
Call4Papers
4+阅读 · 2018年1月26日
计算机类 | 国际会议信息7条
Call4Papers
3+阅读 · 2017年11月17日
【今日新增】IEEE Trans.专刊截稿信息8条
Call4Papers
7+阅读 · 2017年6月29日
Top
微信扫码咨询专知VIP会员