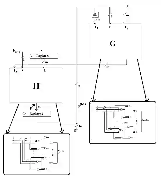
The finite field multiplier is mainly used in many of today's state of the art digital systems and its hardware implementation for bit parallel operation may require millions of logic gates. Natural causes or soft errors in digital design could cause some of these gates to malfunction in the field, which could cause the multiplier to produce incorrect outputs. To ensure that they are not susceptible to error, it is crucial to use a finite field multiplier implementation that is effective and has a high fault detection capability. In this paper, we propose a novel fault detection scheme for a recent bit-parallel polynomial basis multiplier over GF(2m), where the proposed method aims at obtaining high fault detection performance for finite field multipliers and meanwhile maintain low-complexity implementation which is favored in resource constrained applications such as smart cards. The proposed method is based on BCH error correction codes, with an area-delay efficient architecture. The experimental results show that for 45-bit multiplier with 5-bit errors the proposed error detection and correction architecture results in 37% and %49 reduction in critical path delay with compared to the existing method in [18]. Moreover, the area overhead for 45-bit multiplier with 5 errors is within 80% which is significantly lower than the best existing BCH based fault detection method in finite field multiplier [18].


翻译:有限字段乘数主要用于当今现代数字系统的许多状态,其硬件的平行操作的硬件实施可能要求数百万个逻辑门。数字设计中的自然原因或软差错可能导致某些这些门在外地出现故障,从而可能导致乘数产生错误产出。为了确保这些门不会出错,至关重要的是使用有限场乘数实施有效且有高错检测能力的5位错误检测能力。在本文件中,我们提议对最近比GF(2米)的比位平行多核基乘数采用新的故障检测机制,其中拟议方法的目的是为有限的外地乘数取得高错觉检测性能,同时保持低兼容性,这有利于资源受限制的应用程序,如智能卡。拟议方法以BCH误差校正代码为基础,并配有区域卸载效率结构。实验结果表明,45位乘数的测错和校正结构与[18] 现有方法相比,关键路径延迟率减少37%和%49。此外,45位高错位的域位代数执行率比现有5位标准差率率为80,而现有B级测法的误差率为5倍。

0
下载
关闭预览

相关内容

Linux导论,Introduction to Linux,96页ppt
专知会员服务
82+阅读 · 2020年7月26日
《DeepGCNs: Making GCNs Go as Deep as CNNs》
专知会员服务
32+阅读 · 2019年10月17日
Keras François Chollet 《Deep Learning with Python 》, 386页pdf
专知会员服务
164+阅读 · 2019年10月12日
强化学习最新教程,17页pdf
专知会员服务
182+阅读 · 2019年10月11日
【哈佛大学商学院课程Fall 2019】机器学习可解释性
专知会员服务
105+阅读 · 2019年10月9日
【SIGGRAPH2019】TensorFlow 2.0深度学习计算机图形学应用
专知会员服务
41+阅读 · 2019年10月9日
VCIP 2022 Call for Demos
CCF多媒体专委会
1+阅读 · 2022年6月6日
VCIP 2022 Call for Special Session Proposals
CCF多媒体专委会
1+阅读 · 2022年4月1日
AIART 2022 Call for Papers
CCF多媒体专委会
1+阅读 · 2022年2月13日
【ICIG2021】Latest News & Announcements of the Workshop
中国图象图形学学会CSIG
0+阅读 · 2021年12月20日
【ICIG2021】Check out the hot new trailer of ICIG2021 Symposium9
中国图象图形学学会CSIG
0+阅读 · 2021年12月17日
【ICIG2021】Check out the hot new trailer of ICIG2021 Symposium4
中国图象图形学学会CSIG
0+阅读 · 2021年11月10日
【ICIG2021】Check out the hot new trailer of ICIG2021 Symposium3
中国图象图形学学会CSIG
0+阅读 · 2021年11月9日
【ICIG2021】Latest News & Announcements of the Plenary Talk1
中国图象图形学学会CSIG
0+阅读 · 2021年11月1日
Hierarchically Structured Meta-learning
CreateAMind
27+阅读 · 2019年5月22日
Transferring Knowledge across Learning Processes
CreateAMind
29+阅读 · 2019年5月18日
国家自然科学基金
3+阅读 · 2013年12月31日
国家自然科学基金
0+阅读 · 2013年12月31日
国家自然科学基金
0+阅读 · 2012年12月31日
国家自然科学基金
0+阅读 · 2012年12月31日
国家自然科学基金
0+阅读 · 2012年12月31日
国家自然科学基金
0+阅读 · 2012年12月31日
国家自然科学基金
0+阅读 · 2011年12月31日
国家自然科学基金
0+阅读 · 2009年12月31日
国家自然科学基金
0+阅读 · 2008年12月31日
Arxiv
0+阅读 · 2022年11月1日
Arxiv
0+阅读 · 2022年10月30日
Arxiv
0+阅读 · 2022年10月28日
Arxiv
11+阅读 · 2019年4月15日
VIP会员
最新内容
2025年大语言模型进展报告
专知会员服务
7+阅读 · 4月25日
多智能体协作机制
专知会员服务
6+阅读 · 4月25日
非对称优势:美海军开发低成本反无人机技术
专知会员服务
9+阅读 · 4月25日
《美战争部小企业创新研究(SBIR)计划》
专知会员服务
7+阅读 · 4月25日
《军事模拟:将军事条令与目标融入AI智能体》
专知会员服务
10+阅读 · 4月25日
【NTU博士论文】3D人体动作生成
专知会员服务
8+阅读 · 4月24日
以色列军事技术对美国军力发展的持续性赋能
专知会员服务
8+阅读 · 4月24日
《深度强化学习在兵棋推演中的应用》40页报告
专知会员服务
14+阅读 · 4月24日
《多域作战面临复杂现实》
专知会员服务
10+阅读 · 4月24日
《印度的多域作战:条令与能力发展》报告
专知会员服务
5+阅读 · 4月24日
相关资讯
VCIP 2022 Call for Demos
CCF多媒体专委会
1+阅读 · 2022年6月6日
VCIP 2022 Call for Special Session Proposals
CCF多媒体专委会
1+阅读 · 2022年4月1日
AIART 2022 Call for Papers
CCF多媒体专委会
1+阅读 · 2022年2月13日
【ICIG2021】Latest News & Announcements of the Workshop
中国图象图形学学会CSIG
0+阅读 · 2021年12月20日
【ICIG2021】Check out the hot new trailer of ICIG2021 Symposium9
中国图象图形学学会CSIG
0+阅读 · 2021年12月17日
【ICIG2021】Check out the hot new trailer of ICIG2021 Symposium4
中国图象图形学学会CSIG
0+阅读 · 2021年11月10日
【ICIG2021】Check out the hot new trailer of ICIG2021 Symposium3
中国图象图形学学会CSIG
0+阅读 · 2021年11月9日
【ICIG2021】Latest News & Announcements of the Plenary Talk1
中国图象图形学学会CSIG
0+阅读 · 2021年11月1日
Hierarchically Structured Meta-learning
CreateAMind
27+阅读 · 2019年5月22日
Transferring Knowledge across Learning Processes
CreateAMind
29+阅读 · 2019年5月18日
相关基金
国家自然科学基金
3+阅读 · 2013年12月31日
国家自然科学基金
0+阅读 · 2013年12月31日
国家自然科学基金
0+阅读 · 2012年12月31日
国家自然科学基金
0+阅读 · 2012年12月31日
国家自然科学基金
0+阅读 · 2012年12月31日
国家自然科学基金
0+阅读 · 2012年12月31日
国家自然科学基金
0+阅读 · 2011年12月31日
国家自然科学基金
0+阅读 · 2009年12月31日
国家自然科学基金
0+阅读 · 2008年12月31日
Top
微信扫码咨询专知VIP会员