成为VIP会员查看完整内容
VIP会员码认证
首页
主题
会员
服务
注册
·
登录
0
中国联通回应被美撤销214牌照;两家银行宣布停办现金业务;全球首辆飞行汽车持证上天丨邦早报
专知AI搜索
2022 年 2 月 4 日
创业邦杂志
点此收听更多音频版早报
【中国联通回应214牌照被撤销:美方未列出具体事实】
3日,中国联通发布声明表示,此次美国FCC在未列出具体事实,未经过正当程序的情况下就做出撤销联通美洲公司214牌照的决定,联通美洲公司将积极维护公司和客户的合法正当权益。(观察者网)
【比亚迪1月新能源汽车销量同比增长361.73%】
比亚迪公告,1月新能源汽车销量93168辆,上年同期为20178辆,同比增长361.73%。(财联社)
【两家银行宣布停办现金业务】
北京中关村银行、辽宁振兴银行日前公告称,将停办营业网点柜面现金业务,包括营业网点柜面和ATM机自助渠道。一位民营银行人士表示,对于大部分民营银行来说,留着柜台、柜员、现金押送等,这些成本可能远远高于现金业务,“现金押运费用可能都比押运的现金多”。(中国基金报)
【贾跃亭的FF91 1.4万订单仅数百个已支付】
一年前,法拉第未来宣布了上市计划,在招股说明书中表示,其首款旗舰车型FF91已获得超过1.4万辆订单,预计未来5年销量将超过40万辆。美国时间2月1日,法拉第未来宣布,公司独立董事特别委员会调查发现,1.4万FF91订单只有数百个已支付。(IT之家)
【董明珠谈传统制造业如何转型做直播】
董明珠日前在采访中表示,直播是其面对的最大的挑战。曾经万事俱备的时候发现几万家专卖店守在那里没有客户,他们通过一年的探索将互联网技术和经销商结合起来。(贝壳财经)
【马斯克:5-10年载人登陆火星,建议年轻人多读书】
近日名为列克斯・弗里德曼的播客发布了对埃隆·马斯克的第3次访谈。马斯克表示5-10年载人登陆火星,还建议年轻人阅读更多的书,建立总体的知识观。(快科技)
【扎克伯格:今年有七个投资重点】
Meta创始人兼首席执行官马克·扎克伯格表示,2022年有七个投资重点,包括Reels、Community Messaging、Commerce、Ads、Privacy、AI和Metaverse,努力构建元宇宙。(新浪科技)
【Meta创美股历史最大市值跌幅】
Meta周四收盘暴跌26%,创下美股市场历史最大市值跌幅,下降了超过2370亿美元(约1.51万亿元人民币)市值。另据报道,Meta发布的最新财报显示,元宇宙业务“现实实验室”部门在2021年营业亏损超100亿美元(约636亿元人民币)。(快科技)
【星巴克将再次提价,CEO称通胀压力远超预期】
星巴克CEO凯文·约翰逊表示,该公司计划今年再次提价,这将是自去年10月以来的第三次,并暗示今年的提价将不只一次。疫情带来了通胀压力和人员配备问题,大大超出了预期。(财联社)
【特斯拉史上最大召回,超81万辆车中招】
3日,据美国国家公路交通安全管理局网站显示,由于车辆启动且驾驶员未系好安全带时,蜂鸣器可能无法启动,特斯拉将在美召回超过81.71万辆汽车。这是特斯拉史上最大召回,召回车辆包括Model S/X、Model 3及Model Y车型。(南方财经)
【亚马逊四季度利润同比增长98%,Prime会员将涨价至139美元/年】
亚马逊发布最新财报,2021财年四季度净销售1374亿美元,同比增长9%;第四季度净利润143亿美元,同比增长98%。Prime年费提高20美元至139美元,这是2018年以来首次上调。(凤凰网科技)
【纳德拉:收购动视暴雪不会引发反垄断监管】
微软CEO萨蒂亚·纳德拉表示,微软收购动视暴雪交易将为“元宇宙”业务提供基石,成为未来在线互动的核心。而且这笔交易不会引发反垄断审查,微软无需做出任何让步,即可获得监管部门的批准。(新浪科技)
【松下:今年试生产更强大电池,优先满足特斯拉】
据Market Watch报道,松下电器表示,预计今年将开始试生产一种更强大的新型锂离子电池,能够交付时计划优先满足特斯拉的需求。去年松下电器展示了该电池的原型,直径46毫米、高80毫米,比之前供应给特斯拉的电池单元更大。(南方财经)
【机构:印度iPhone四季度销量创纪录增长34%】
市场研究公司Counterpoint的数据显示,去年第四季度iPhone在印度销量增至230万部,较上年同期增长34%。(南方财经)
【消息称嘉
能可、Britishvolt将联手造电动汽车电池回收厂】
据路透社报道,矿业巨头嘉能可和电动汽车电池初创公司Britishvolt将联合开发一个新的英国电池回收厂,将有助于回收利用钴和锂等昂贵的关键原材料。该厂2027年建成后将实现30GWh/年的产能。(爱集微)
【乐普生物通过港交所上市聆讯】
2月3日,据港交所文件显示,乐普生物科技股份有限公司通过上市聆讯。
【杨国福冲击麻辣烫第一股,已递交申请】
1月27日,中国证监会国际部披露了上海杨国福企业管理(集团)股份有限公司提交的《股份有限公司境外首次公开发行股份(包括普通股、优先股等各类股票及股票派生的形式)审批》材料。一旦获得受理,杨国福麻辣烫或很快就可在港交所递交招股书。(IPO早知道)
【B站投资SF轻小说】
天眼查App显示,近日“SF轻小说”关联公司广州轻阅网络科技有限公司发生工商变更,股东新增上海幻电信息科技有限公司,持股10%,同时注册资本增至约1415.65万人民币。该公司成立于2012年2月,经营范围包括游戏软件设计制作、数字动漫制作等。该公司股东还包括奥飞娱乐全资子公司。(财经网)
【爱丽思向软银机器人投资100亿日元】
日媒报道,日本软银机器人集团和生活用品巨头爱丽思欧雅玛2月2日宣布,已就机器人业务缔结资本业务合作协议。爱丽思向软银机器人投资100亿日元。
【冬奥会火炬揭秘:首次实现零碳排放】
北京航天动力研究所发文揭秘北京2022冬奥会火炬的科技亮点:手持火炬燃料采用的是氢气,这是世界首套高压储氢火炬,实现冬奥会历史上火炬的零碳排放。(IT之家)
【全球第一例飞行汽车持证上天】
全球第一张针对飞行汽车的适航证,颁给了斯洛伐克克莱因视觉公司生产的AirCar。该车长5.2米,采用混合动力,搭载宝马160马力汽油发动机,设计最高时速250公里,飞行最高高度3000米,航程可达1000公里。(智能车参考)
【编程版“阿法狗”悄悄参赛,击败一半程序员】
DeepMind的“Alpha”家族再添一名新成员:会刷编程竞赛题的AlphaCode来了,它默默参加了著名网站Codeforces举行的10场编程比赛,成绩超过了一半人类。(量子位)
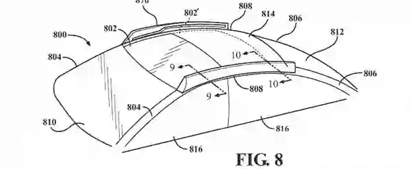
【苹果汽车新专利:可控制进入车内的光线量】
2月1日,苹果获得一项名为“可移动面板组件”的汽车天窗专利授权。专利显示,汽车天窗具有可调节的透明玻璃,司机可以选择调整天窗的透明度,另外这项技术也可用于汽车侧窗。(快科技)
【推特“长文章”功能曝光,不用受280字限制】
据爆料者ane Manchun Wong消息,通过对推特的代码进行逆向工程,发现了名为“推特文章”的功能。这个类似微博“长微博”的功能,让人们能够撰写字数更长的文章。(IT之家)
【18省将“三孩”政策写进政府工作报告】
记者梳理发现,已有18个省份在政府工作报告中提及了三孩生育政策,主要围绕着降低生育成本、降低养育成本、降低教育成本,落实各方面的配套措施。部分地区还将生育政策与购房补贴相挂钩,激发生育意愿。(第一财经)
【国家开发银行去年放贷4917亿元培育新动能】
2021年国家开发银行发放贷款4917亿元支持先进制造业和新兴产业,培育发展新动能;发放贷款675亿元支持新型基础设施建设,推动大数据、人工智能等技术同各产业深度融合。(新华社)
【我国境内公募基金管理规模达25.56万亿元】
中国基金业协会最新数据显示,截至去年末,境内公募基金资产净值规模达25.56万亿元。我国境内共有基金管理公司137家,其中,外商投资基金管理公司45家,内资基金管理公司92家。(新华社)
【1月平均土地流拍率21%,深圳二手住宅成交量同比降75%】
据克而瑞地产研究中心发布的报告,以重点监测的城市来看,平均土地流拍率升至21%,大部分流拍地块集中在三四线城市。另悉,1月深圳全市二手商品房成交为23.05万平方米(2019套),同比下降64.38%;其中二手商品住宅成交为14.73万平方米(1557套),同比下跌75.04%。(澎湃新闻)
昨日早报回顾 ⇒
刘强东捐23.4亿美元股票用于教育环保;《长津湖之水门桥》票房破12亿;扎克伯格:今年推出移动版虚拟现实丨邦早报
说起冬奥会
最受关注的要数备受品牌喜爱的
天才少女谷爱玲
创业邦甚至特意为她制作了一期小视频
期待她在接下来的比赛中越战越勇!
再次刷新夺冠记录!
当然,我们也非常所有参赛选手
赛出佳绩,勇夺桂冠!
今年冬奥会
你最关注哪个比赛项目?
最想为哪个选手加油?
欢迎在评论区、朋友圈分享~
登录查看更多
点赞并收藏
0
暂时没有读者
0
权益说明
本文档仅做收录索引使用,若发现您的权益受到侵害,请立即联系客服(微信: zhuanzhi02,邮箱:
[email protected]
),我们会尽快为您处理
相关内容
联通
关注
1
中国联合网络通信集团有限公司(英文名称China Unicom、简称“中国联通”、“联通”)于2009年1月6日在原中国网通和原中国联通的基础上合并组建而成,在国内31个省(自治区、直辖市)和境外多个国家和地区设有分支机构,是中国唯一一家在纽约、香港、上海三地同时上市的电信运营企业,连续多年入选“世界500强企业”。
【AI+军事】附论文+PPT《气候、成本和行动效率:减少挪威武装部队的温室气体排放》,挪威国防研究机构
专知会员服务
18+阅读 · 2022年4月15日
解读未来智慧城市概念《2050年的智慧城市:重建日本城市的未来》,64页PDF
专知会员服务
27+阅读 · 2022年3月23日
韩国学者发布《元宇宙中的区块链》综述,Blockchain for the Metaverse: A Review
专知会员服务
46+阅读 · 2022年3月22日
元宇宙如何用AI?韩国学者发布最新《人工智能元宇宙》综述论文,涵盖170篇文献阐述人工智能在元宇宙的六大技术与四类重点应用
专知会员服务
143+阅读 · 2022年2月28日
德勤《2022科技、传媒和电信行业预测》,142页pdf
专知会员服务
31+阅读 · 2021年12月21日
《元宇宙Metaverse》报告,53页ppt,中美科技巨头押注
专知会员服务
98+阅读 · 2021年8月16日
《隐私计算白皮书(2021年)》正式发布(附下载链接)
专知会员服务
96+阅读 · 2021年7月22日
2021年金融级数据库容灾技术报告(附PDF全文)
专知会员服务
20+阅读 · 2021年7月11日
2021科技、传媒和电信行业预测,124页pdf
专知会员服务
29+阅读 · 2021年1月4日
【快讯】KDD2020论文出炉,216篇上榜, 你的paper中了吗?
专知会员服务
51+阅读 · 2020年5月16日
贾跃亭被解除法拉第未来执行官职务;余承东称上海不复工汽车业将停产;央行决定全面降准0.25个百分点丨邦早报
创业邦杂志
0+阅读 · 2022年4月16日
比亚迪宣布停止生产燃油车;荣耀回应强制员工买股份;华为支付上线丨邦早报
创业邦杂志
0+阅读 · 2022年4月4日
京东1000多人排队办离职;孟晚舟担任华为轮值董事长;周杰伦持有NFT被盗;王传福谈“比亚迪”名称由来丨邦早报
创业邦杂志
0+阅读 · 2022年4月2日
完美世界影视董事长去世,年仅48岁;传许家印4亿豪宅打折出售;豆瓣将停用私密小组;邓伦遭品牌方索赔近两千万丨邦早报
创业邦杂志
0+阅读 · 2022年3月30日
许家印:大干3个月实现恒驰5量产;宝能董事长“下落不明”?姚振华本人回应;万门大学被曝跑路丨邦早报
创业邦杂志
0+阅读 · 2022年3月23日
「扎克冲击」:戳破元宇宙,Meta雪崩了丨氪金 · 大事件
36氪
0+阅读 · 2022年2月10日
8点1氪:中国女足获蒙牛、支付宝奖励2300万;华为将分红300亿元;贾跃亭被曝造假
36氪
0+阅读 · 2022年2月7日
2亿人次竖屏观看春晚;Meta元宇宙亏损百亿美元;工信部声明反对美撤销联通214牌照|科技周报
创业邦杂志
0+阅读 · 2022年2月5日
Meta股价暴跌26%气哭小扎!市值蒸发2000亿,元宇宙没搞到钱?
新智元
0+阅读 · 2022年2月4日
最贵春节档来了,1张票平均近60块;竖屏春晚累计观看人次2亿;马斯克发图拜年;罗永浩称“不做VR和元宇宙”丨邦早报
创业邦杂志
0+阅读 · 2022年2月1日
变化环境下江湖复合型洲滩湿地鸟类及其栖息地对水文过程的响应及保护措施优化
国家自然科学基金
0+阅读 · 2014年12月31日
基于超声图像的静音语音识别关键技术研究
国家自然科学基金
1+阅读 · 2013年12月31日
不确定条件下车用燃料电池故障预测
国家自然科学基金
0+阅读 · 2013年12月31日
eCB介导的DSI效应在麻醉-觉醒调节中的作用及机制
国家自然科学基金
0+阅读 · 2012年12月31日
信息技术服务全球采购中服务提供者与客户的知识共享
国家自然科学基金
0+阅读 · 2012年12月31日
类维生素A及其衍生物分子低频振动的太赫兹与低频拉曼光谱研究
国家自然科学基金
0+阅读 · 2012年12月31日
插电式混合动力汽车预测控制及实验研究
国家自然科学基金
2+阅读 · 2010年12月31日
新能源汽车产品战略与商业模式
国家自然科学基金
6+阅读 · 2010年11月30日
冻土微波辐射有效穿透深度研究
国家自然科学基金
0+阅读 · 2009年12月31日
炼厂酸性气光催化分解制氢循环利用的实验研究
国家自然科学基金
0+阅读 · 2009年12月31日
Impacts of Public Information on Flexible Information Acquisition
Arxiv
0+阅读 · 2022年4月20日
JanusAQP: Efficient Partition Tree Maintenance for Dynamic Approximate Query Processing
Arxiv
0+阅读 · 2022年4月20日
Solving The Long-Tailed Problem via Intra- and Inter-Category Balance
Arxiv
0+阅读 · 2022年4月20日
A Roadmap for Big Model
Arxiv
1+阅读 · 2022年4月20日
A Best Cost-Sharing Rule for Selfish Bin Packing
Arxiv
0+阅读 · 2022年4月20日
What is Event Knowledge Graph: A Survey
Arxiv
33+阅读 · 2021年12月31日
A Survey on Neural Speech Synthesis
Arxiv
14+阅读 · 2021年6月30日
A Survey on Knowledge Graphs: Representation, Acquisition and Applications
Arxiv
93+阅读 · 2020年2月2日
Commonsense Reasoning for Natural Language Understanding: A Survey of Benchmarks, Resources, and Approaches
Arxiv
16+阅读 · 2019年4月2日
Self-Driving Cars: A Survey
Arxiv
41+阅读 · 2019年1月14日
VIP会员
自助开通(推荐)
客服开通
详情
相关主题
联通
中国联通
汽车
马克·扎克伯格(Mark Zuckerberg)
观察者网
IT之家
最新内容
美国与以色列如何在攻击伊朗中使用人工智能
专知会员服务
2+阅读 · 今天16:20
《面向大语言模型引导规划、Bandit算法驱动探索与多智能体导航的分层决策问题研究》180页
专知会员服务
3+阅读 · 今天14:34
《自动化战略情报管控》
专知会员服务
2+阅读 · 今天14:31
《反无人机蜂群技术研究:基于小队策略构建大规模无人机防御》
专知会员服务
3+阅读 · 今天14:23
得失评估:审视对伊朗战争的轨迹(简报)
专知会员服务
2+阅读 · 今天14:19
【CMU博士论文】迈向可解释机器学习的理论基础
专知会员服务
2+阅读 · 今天12:23
CVPR 2026 | HulluEdit:基于正交子空间编辑的多模态大语言模型幻觉缓解框架
专知会员服务
2+阅读 · 今天12:21
无人机视觉语言导航:研究进展、挑战与技术路线图
专知会员服务
2+阅读 · 今天12:13
《基于强化学习的反无人机蜂群拦截优先级排序》
专知会员服务
8+阅读 · 今天8:20
乌克兰反无人机方案“天穹哨兵”解析:一款人工智能驱动的近程防空系统
专知会员服务
3+阅读 · 今天7:30
美军2026条令《指挥官装甲装备维护技能测试计划》
专知会员服务
6+阅读 · 今天7:28
《俄罗斯构建服务于人工智能驱动自主性的主权无人机生态系统》(2026报告)
专知会员服务
7+阅读 · 今天3:09
2026年俄罗斯新型喷气动力无人机Geran-5的技术规格
专知会员服务
4+阅读 · 今天2:50
基于数据优化的人机协同与机器人僚机
专知会员服务
6+阅读 · 今天2:08
美太空军发布两份聚焦2040年规划的文件:《2040年未来作战环境》和《2040年目标部队》(附文件)
专知会员服务
15+阅读 · 今天1:51
相关VIP内容
【AI+军事】附论文+PPT《气候、成本和行动效率:减少挪威武装部队的温室气体排放》,挪威国防研究机构
专知会员服务
18+阅读 · 2022年4月15日
解读未来智慧城市概念《2050年的智慧城市:重建日本城市的未来》,64页PDF
专知会员服务
27+阅读 · 2022年3月23日
韩国学者发布《元宇宙中的区块链》综述,Blockchain for the Metaverse: A Review
专知会员服务
46+阅读 · 2022年3月22日
元宇宙如何用AI?韩国学者发布最新《人工智能元宇宙》综述论文,涵盖170篇文献阐述人工智能在元宇宙的六大技术与四类重点应用
专知会员服务
143+阅读 · 2022年2月28日
德勤《2022科技、传媒和电信行业预测》,142页pdf
专知会员服务
31+阅读 · 2021年12月21日
《元宇宙Metaverse》报告,53页ppt,中美科技巨头押注
专知会员服务
98+阅读 · 2021年8月16日
《隐私计算白皮书(2021年)》正式发布(附下载链接)
专知会员服务
96+阅读 · 2021年7月22日
2021年金融级数据库容灾技术报告(附PDF全文)
专知会员服务
20+阅读 · 2021年7月11日
2021科技、传媒和电信行业预测,124页pdf
专知会员服务
29+阅读 · 2021年1月4日
【快讯】KDD2020论文出炉,216篇上榜, 你的paper中了吗?
专知会员服务
51+阅读 · 2020年5月16日
热门VIP内容
开通专知VIP会员 享更多权益服务
《面向大语言模型引导规划、Bandit算法驱动探索与多智能体导航的分层决策问题研究》180页
《反无人机蜂群技术研究:基于小队策略构建大规模无人机防御》
美国与以色列如何在攻击伊朗中使用人工智能
《自动化战略情报管控》
相关资讯
贾跃亭被解除法拉第未来执行官职务;余承东称上海不复工汽车业将停产;央行决定全面降准0.25个百分点丨邦早报
创业邦杂志
0+阅读 · 2022年4月16日
比亚迪宣布停止生产燃油车;荣耀回应强制员工买股份;华为支付上线丨邦早报
创业邦杂志
0+阅读 · 2022年4月4日
京东1000多人排队办离职;孟晚舟担任华为轮值董事长;周杰伦持有NFT被盗;王传福谈“比亚迪”名称由来丨邦早报
创业邦杂志
0+阅读 · 2022年4月2日
完美世界影视董事长去世,年仅48岁;传许家印4亿豪宅打折出售;豆瓣将停用私密小组;邓伦遭品牌方索赔近两千万丨邦早报
创业邦杂志
0+阅读 · 2022年3月30日
许家印:大干3个月实现恒驰5量产;宝能董事长“下落不明”?姚振华本人回应;万门大学被曝跑路丨邦早报
创业邦杂志
0+阅读 · 2022年3月23日
「扎克冲击」:戳破元宇宙,Meta雪崩了丨氪金 · 大事件
36氪
0+阅读 · 2022年2月10日
8点1氪:中国女足获蒙牛、支付宝奖励2300万;华为将分红300亿元;贾跃亭被曝造假
36氪
0+阅读 · 2022年2月7日
2亿人次竖屏观看春晚;Meta元宇宙亏损百亿美元;工信部声明反对美撤销联通214牌照|科技周报
创业邦杂志
0+阅读 · 2022年2月5日
Meta股价暴跌26%气哭小扎!市值蒸发2000亿,元宇宙没搞到钱?
新智元
0+阅读 · 2022年2月4日
最贵春节档来了,1张票平均近60块;竖屏春晚累计观看人次2亿;马斯克发图拜年;罗永浩称“不做VR和元宇宙”丨邦早报
创业邦杂志
0+阅读 · 2022年2月1日
相关基金
变化环境下江湖复合型洲滩湿地鸟类及其栖息地对水文过程的响应及保护措施优化
国家自然科学基金
0+阅读 · 2014年12月31日
基于超声图像的静音语音识别关键技术研究
国家自然科学基金
1+阅读 · 2013年12月31日
不确定条件下车用燃料电池故障预测
国家自然科学基金
0+阅读 · 2013年12月31日
eCB介导的DSI效应在麻醉-觉醒调节中的作用及机制
国家自然科学基金
0+阅读 · 2012年12月31日
信息技术服务全球采购中服务提供者与客户的知识共享
国家自然科学基金
0+阅读 · 2012年12月31日
类维生素A及其衍生物分子低频振动的太赫兹与低频拉曼光谱研究
国家自然科学基金
0+阅读 · 2012年12月31日
插电式混合动力汽车预测控制及实验研究
国家自然科学基金
2+阅读 · 2010年12月31日
新能源汽车产品战略与商业模式
国家自然科学基金
6+阅读 · 2010年11月30日
冻土微波辐射有效穿透深度研究
国家自然科学基金
0+阅读 · 2009年12月31日
炼厂酸性气光催化分解制氢循环利用的实验研究
国家自然科学基金
0+阅读 · 2009年12月31日
相关论文
Impacts of Public Information on Flexible Information Acquisition
Arxiv
0+阅读 · 2022年4月20日
JanusAQP: Efficient Partition Tree Maintenance for Dynamic Approximate Query Processing
Arxiv
0+阅读 · 2022年4月20日
Solving The Long-Tailed Problem via Intra- and Inter-Category Balance
Arxiv
0+阅读 · 2022年4月20日
A Roadmap for Big Model
Arxiv
1+阅读 · 2022年4月20日
A Best Cost-Sharing Rule for Selfish Bin Packing
Arxiv
0+阅读 · 2022年4月20日
What is Event Knowledge Graph: A Survey
Arxiv
33+阅读 · 2021年12月31日
A Survey on Neural Speech Synthesis
Arxiv
14+阅读 · 2021年6月30日
A Survey on Knowledge Graphs: Representation, Acquisition and Applications
Arxiv
93+阅读 · 2020年2月2日
Commonsense Reasoning for Natural Language Understanding: A Survey of Benchmarks, Resources, and Approaches
Arxiv
16+阅读 · 2019年4月2日
Self-Driving Cars: A Survey
Arxiv
41+阅读 · 2019年1月14日
大家都在搜
maven
palantir
无人机系统
无人机蜂群
伊朗战争
terraform
助贷模式
篮球制作
对抗特征转移
文本挖掘从小白到精通
Top
提示
微信扫码
咨询专知VIP会员与技术项目合作
(加微信请备注: "专知")
微信扫码咨询专知VIP会员
Top