【MBE】工业互联网正确打开方式系列(十七):基于模型的企业MBE

2018 年 10 月 20 日 产业智能官

工业互联网正确打开方式系列(十七):基于模型的企业MBE

工业互联网正确打开方式系列(一):RPA机器人流程自动化

工业互联网正确打开方式系列(二):AI产品经理

工业互联网正确打开方式系列(三):微服务 VS ESB

工业互联网正确打开方式系列(四):边缘计算

工业互联网正确打开方式系列(五):云计算PAAS

工业互联网正确打开方式系列(六):两化融合

工业互联网正确打开方式系列(七):工业物联网

工业互联网正确打开方式系列(八):工业大数据

工业互联网正确打开方式系列(九):预测性维护

工业互联网正确打开方式系列(十):机器视觉

工业互联网正确打开方式系列(十一):数字孪生

工业互联网正确打开方式系列(十二):质量优化 

工业互联网正确打开方式系列(十三):排程调度优化

工业互联网正确打开方式系列(十四):制造即服务

工业互联网正确打开方式系列(十五):柔性智造

工业互联网正确打开方式系列(十六):数字经济

数字化企业只是外壳,其核心是模型。没有好的模型,会有什么结果? 数据库中的数据杂乱无章,信息系统整体效率很低,企业协作困难重重,新零部件层出不穷,重复研究比比皆是,MBE概念应运而生!



从 MBD到MBE

                                                

导读:当前,国内外大型装备制造企业的数字化技术发展迅速,三维数字化设计技术得到了广泛的应用,基于模型定义(Model-BasedDefinition,简称 MBD)的数字化设计与制造技术已经成为制造业信息化的发展趋势。

作者:e-works 整理 | 来源:e-works


为了更好地使 MBD数据在产品的整个生命周期内能够有效充分地进行利用,很多大型装备提供商、供应商通过不同的型号项目开始研究、验证和应用 MBE(Model Based Enterprise:基于模型的企业)方法,就是要基于 MBD在整个企业和供应链范围内建立一个集成和协同化的环境,各业务环节充分利用已有的 MBD单一数据源开展工作,从而有效地缩短整个产品研制周期,改善生产现场工作环境,提高产品质量和生产效率。



展历程


概念解析

MBD(Model BasedDefinition,基于模型的定义):将产品的所有相关设计定义、工艺描述、属性和管理等信息都附着在产品三维模型中的数字化定义方法。将设计信息和制造信息共同定义到产品的三维数字化模型中,以改变目前三维模型和二维工程图共存的局面,更好地保证产品定义数据的唯一性。核心是将产品三维模型打造为传递到下游生产活动所需详细信息的最恰当的载体,企业所有部门和团队都使用三维模型作为信息传递途径。


MBE(Model Based Enterprise,基于模型的企业),企业将其在产品全生命周期中所需要的数据、信息和知识进行整理,结合信息系统,建立便于系统集成和应用的产品模型和过程模型,通过模型进行多学科、跨部门、跨企业的产品协同设计、制造和管理,通过模型支持技术创新、大批量定制和绿色制造。


两者关系

基于模型的企业MBE是MBD数据源的应用环境,完整的MBE能力体系构建,就是以MBD模型为统一的“工程语言”,按系统工程方法的指导,全面优化梳理企业内外、产品全生命周期业务流程、标准,采用先进的信息化技术,形成一套崭新的完整的产品研制能力体系。企业需要一套面向MBE的信息化环境,帮助企业实现 MBD 模型以及相关数据在企业内外能够顺畅流通、可直接利用。对于每一个制造企业,跨企业内外的产品全生命周期业务是非常复杂的,基于现有各自独立的信息化技术和工具,不可避免需要处理大量的系统集成和数据转换,才勉强能保障MBD模型以及相关数据的流通或可利用,这将是致力于成为MBE企业直接面临的最大的问题。



图2 MBD实施的十要十不要



图3 MBD模型的应用



图4 MBE关键技术



图5 MBE面临的挑战


模型格式的转换问题

由CAD/CAM 以及其它制造软件供应商造成的3D CAD 文件格式差异,成为实现MBE 数字线和企业真正的集成和协同的现实障碍。供应商有各自独特的3D 模型和TDP 文件格式。同一种软件还有不同版本的数据兼容问题。而对于一个企业或产品供应网络,会用到多个不同水平的CAD 系统,不同厂商提供的CAM/NC/CMM/MES 系统。将所有的应用软件都统一在同一种格式上几乎是不可能。因此MBE 理想化的数字线上,实际还是存在着许多因为CAD 软件系统造成的断点,3D 模型文件的格式转换是不可避免的,尽管所有设计数据的发布可以转换成为STEP 和IGIS中性文件。目前,ARL MBE 引导企业的做法是直接使用本地3D CAD 模型,在需要衔接时,进行不同格式文件的直接转换。用本地文件而不是从中性文件输入CAD 几何具有的好处是:消除中间格式的转换、翻译、认证的工作量和减少潜在的翻译错误。


企业信息化进程的多样性问题

因为MBE 的进展引发的问题还有大量老产品的处理。目前,从企业信息化进程的角度看,同一个企业有最新的MBE 模式、更大量的是传统2D 数据的信息化处理模式,也仍旧存在着纯手工的管理模式。在普遍的混流生产企业中或是车间里,存在这种“一国两制”甚至是“一国三制”的状态,极大的增加了业务流程的复杂性,甚至会出现在同一台机床上加工的零件,有用纯纸质文档、“半数字化”MES、无纸化的MBE 方式的。多种系统的维护和运行规则都会加重车间的负担,以致造成混乱。所以,在目前各个企业将注意力集中在数字化应用“快步跑”的时候,还必须对企业信息化的全局有一个均衡、统筹的规划,特别要关注老的、使用期长的机种,这些产品存在长期生产、维修的数据管理和信息化问题。


统一的信息技术平台

MBE 是以3D 模型定义为基础,为整个企业所共享的、全面集成和协同制造的环境。在企业或供应链中,无论在何处的数据生产者和数据消费者,在制造过程的任何点上,都将连接到一个共同数字的数据源上,数据标准将从设计阶段开始,延伸到制造,继而到最后装配。这种统一平台就是PLM 系统。MBE 的PLM 是一个数字数据产生、传递和管理的统一平台,不被部门和层次化的局部和应用所割裂或中断。MBE的重要标志之一是:制造、质量代码与设计模型在同一个PLM 中管理。届时,完成设计和工艺的数据as-designed/as planned,包括作业指导书和CNC/CMM 代码,制造完成和每次维护以后采集的数据as-built / as-maintained/as sustained 都在同一数据平台中。在MBE 中,当前的所谓设计和研发平台,工艺平台,制造平台、工具、工装等五花八门的区域性的平台都将起到割裂连续数字线的作用。所以从现在起,我们就要将信息规划的着眼点转移到利用PLM 建立唯一的统一数据平台上来。


并行和协同的实施

在MBE 环境中,所有的工程活动是个同步或并行的过程。创建3D动态作业指导书、制造与质量代码CNC/CMM 程序、离散事件模拟等活动都是与创建设计模型并行开展的,这些工作都能够在设计过程完成之前开始并完成到一定程度。尽管并行工程的概念和应用有几十年之久了,但是,只有在MBE 环境中才能缩短并行工程的研制周期和充分发挥各种模拟仿真的效能。供应商也可以在它们的内部开发过程重用OEM的TDP 中的信息。但是,实行并行工程和真正的协同至今仍旧受到现有厂所建制和企业内部机构设置、功能划分的限制,也深受设计和工艺人员分工、知识技能的制约。这些属于行业规则和企业文化的问题也需要及早找到妥善的解决方案。



图6 MBE能力评估


基于模型的企业(MBE)在航空业的实践与发展

四川成发航空科技股份有限公司根据MBE组成,结合企业需求与产品特点,开展MBE项目建设与试点应用。MBE的技术架构见图1,重点建设的内容有基于模型的产品设计、分析应用、零件工艺、装配工艺、工装设计、作业指导书、制造执行、检测检验,数字化服务管理及标准定义共十大部分,虚线框图内容未纳入本期建设。



图7 成发基于模型的企业技术架构


航空发动机造数字化工艺实施应用

MBD的提出是现有设计、工艺系统的大变革,由于现行工艺中每道工序都需要配以图形进行说明、标注等,需要工艺人员做大量的图形绘制工作,如何将MBD模型体现在工艺规程上,并且进行工序内容的说明,尺寸的表达等这些都是开展MBD工艺过程中急需解决的问题。


为了解决问题,中航工业黎明公司立项开发了基于MBD三维工艺系统,根据三维工艺的特点与要求,基于NX 和Teamcenter 协同平台,在CAX 与IE 的基础上,通过开发形成的工艺设计系统,辅助工艺人员完成零件的三维工艺规程的设计。


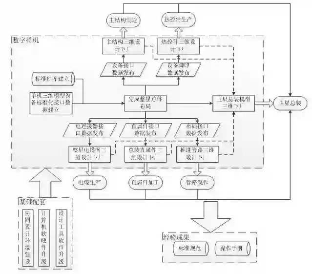
小卫星数字化应用

国内航天器的设计制造正在经历着从“三维设计、二维出图”阶段到“全三维数字化设计”阶段的转变。现阶段小卫星设计制造中重点解决卫星总体协同设计和三维下厂问题,通过在型号研制过程中摸索和实践,初步形成一套全三维数字化设计制造方法,打通了从总体集成设计到最终总装产品的数据流,实现了小卫星设计制造过程的无纸化。

基于MBD的设计生产制造,小卫星总体现阶段主要实现卫星详细设计和生产装配,开展基于MBD技术的主结构、管路、电缆网、直属件、热控部件的数字样机设计,打通总体设计、制造和集成装配环节,提高研制效率和质量。小卫星全三维数字化设计制造实现流程如图1。


图8  小卫星全三维数字化设计制造实现流程图


愿景

(1)3D 模型和TDP 的生成和管理达到的水平。用3D 模型定义全部零件几何和全部零件的标注(包括注释、尺寸、PMI 等),不再需要2D图纸的帮助。


(2)eBOM 与CAD 模型相链接。模型和注释(说明、参数、非几何数据)在PLM 中受控,使用PLM基本工具半自动化对3D 模型几何和零件标注进行检查和对模型的质量进行认证。


(3)由PLM 自动实现从模型元素到数字数据包TDP 的采集,TDP 由PLM 自动的数字化发布。数据发布和更改过程以及构型管理都是基于模型的。


(4)3D 模型和TDP 不经重新灌入就能够为下游所重用。通过对本地3D CAD 模型、轻量化3D 可视化模型和eBOM 的访问,将PMI 数据提供给制造、检验以及其它任何需要PMI 的地方。


(5)用本地3D CAD 模型再创建模型的同时,并行地生成制造工艺规划和作业指导书等制造代码。制造过程的工艺规划和作业指导书MBI 全部与设计模型相关联。设计模型和来源于模型的大部分数据应在同一个PLM 系统中管理,制造代码在PLM 系统中受控。使用本地3D 设计模型直接生成NC/CMM 数控、质量检验代码和模型的建立也是并行过程,质量要求数据同样全部在PLM 中管理。


(6)在企业内部和供应链之间的协同和数据交换方面,达到的要求是:企业内部使用的设计数据是本地3D 模型和按企业内部需要的3D轻量化可视模型,用户可以根据在组织内的角色,差异化的访问所有模型数据。向外部设计部门提供的设计数据也是本地3D CAD 模型,根据授权,外部的3D PLM 可直接访问本地模型和元数据。


从MBD到MBE的转变

从MBD到MBE,构建一个基于模型的企业是一条漫长之路,需要在许多方面做出突破和改善。企业在摆脱传统的基于二维图纸的设计研发生产模式向基于三维模型的全面数字化企业迈进的过程中,必须从根本上树立起数字化思维和生产经营管理模式,建立科学的战略转型路径。


    路径一:树立数字化企业意识,实现传统思维向数字化思维的转变

    路径二:从基础做起,构建MBD基础环境

    路径三:在典型应用的基础上,进一步实现MBD技术在整个企业的扩展应用

    路径四:整合已经拥有的MBD成果,实现基于模型的企业

    路径五:正确选择合作伙伴,吸收专业咨询公司的技术优势和实施经验




基于MBD的智能化车间生产应用体系规划

                                                

本文介绍了MBE体系框架及MBD、数字孪生、大数据等技术的应用发展情况,研究了MES层及Control层的规划思路,由此提出了设备引进或改造时应预先考虑MBD、MBE、数字孪生、大数据等应用需求的建议,为日后实现MBE体系的建设、Control层与MES层的无缝对接以及工艺参数、设备管理、质量管控、制造过程等优化研究奠定基础,以实现快速低成本高质量的产品研制目标。


  • 作者:西安航天动力技术研究所  姚弘*姚彦君*张佳兴*金少英*尹力恒

  • 来源:e-works

引言 

    

    随着制造业的转型发展,产品的设计院所与工艺制造企业相分离的现象会越来越多,如果企业间存在设计平台落后或存在设计平台差异,就会出现沟通不畅等问题;另外,如果制造企业生产手段落后,产品易超差,且设计人员也无法及时获得超差原因而及时改进。这两大因素都会导致产品研制周期长、成本高的现象,无法适应智能制造的竞争环境。所以,要想快速研发出高质量低成本的产品,现代企业需要改进设计/制造体系,一是要解决设计院所与制造企业之间的协同设计/制造问题,二是要解决制造企业智能化生产问题。


    基于模型的定义MBD技术能够打通不同企业之间的产品数据链,实现产品设计/仿真/制造/检验/管理/运维各阶段的信息传递由图纸/技术文档/报告等形式转变为以MBD模型为载体的单一信息源,既节省时间又能消除出错环节;MBE体系则可以让产品研制的各阶段数据汇聚在同一平台,不但能及时将设计更改信息传递给制造/运维环节,还能及时将制造/运维环节的信息反馈给设计人员,使设计/制造/运维之间沟通敏捷;MES/Control系统的建设/改造,可促使车间生产系统持续优化,最终达到智能化的目标。


    MBD/MBE还可以利用数字孪生、数据挖掘等技术实现虚拟仿真设计、企业知识累积、生产决策的持续迭代优化等目标,从而提高产品设计/制造的质量和效率。本文着重讨论产品设计/制造阶段。


MBD技术、MBE体系


    MBD将工艺设计、工装模具设计、生产制造、部件装配、部件与产品检验等工序所需要的设计意图集成在同一个三维实体模型中,而这种具有完整产品定义信息的三维实体模型可以成为下游客户(如采购/制造/质量/检验/运维/营销/供应商等)唯一的数据依据,可以消除设计院所和下游客户间容易出错的环节和重复性环节,提高产品研制效率。


    MBE是实现MBD模型横跨产品全生命周期应用的能力体系,它确保产品研制的各个阶段能够共享经过验证和授权的MBD数据。MBE以MBD模型为统一的“工程语言”,将各阶段的各种信息准确定义到以MBD模型为核心的数据包中,并始终保持上游数据包能够被下游直接重用。


    当实现各团队在业务过程中共享单一数据源后,产品的协同设计/制造/运维就会成为现实;同时,产品的设计/制造/运维的各项业务知识/建议/操作/经验等将得到有效管理,避免因人员流失而造成知识消失的现象。

    基于MBE体系的智能制造应用框架见图1。


图1 基于MBE体系的智能制造应用框架


    1.1 基于MBE体系的设计/制造协同纽带PLM

    这里的PLM是基于统一模型的产品数字化管理系统,它能够打通产品设计/制造/运维数据链,建立完整的产品数据档案,形成全面的正反向追溯体系,从而可以建立完整的产品数字孪生模型。PLM包括产品设计过程数据库、产品设计数据信息库、工艺设计过程数据库、工艺设计数据信息库、产品配置数据库、生产计划与制造信息库、加工设备信息库、生产数据信息库、运维数据库、异常报警数据库等。


    各阶段的团队可以共享PLM数据,也可更改PLM中的己方数据;PLM中的数据一旦更新,设计/制造的整个过程都会得到相应的实时更新信息,但仍保留历史版本,从而使设计与工艺/制造同步,提高制造敏捷度;PLM可以与业务伙伴交换想法和知识。


    1.2 产品设计阶段

    设计人员利用MBD技术,根据PLM中实时更新的产品需求进行设计,并通过PLM将三维实体模型传递给下游客户;同时,产品设计人员可以通过PLM更新的下游数据随时了解产品的生产/运维信息,可以快速调整产品设计/工艺设计等方案以应对紧急状况,并可以利用数据双胞胎及大数据技术对产品进行创新设计。


    1.3 工艺设计阶段

    工艺设计人员利用MBD技术,根据PLM中实时更新的产品三维实体模型建立数字化工艺模型,通过模拟仿真确定出合理的、可行的制造工艺,然后生成工艺图解和操作动画等多媒体工艺数据、编制三维数字化制造工艺、完成工艺方案制定及详细工艺设计,经审批后将三维产品工程数据/三维工装资源数据/操作过程工艺图解/操作动画等资料通过PLM传递给下游客户。同时,工艺设计人员可以通过PLM实时更新的下游数据随时了解产品生产制造/运维信息,从而快速调整工艺设计方案以应对紧急状况。


    1.4 生产制造阶段

    基于MBE体系的制造阶段分为三个层次:企业资源规划管理层ERP、制造执行管理层MES、设备控制层Control。其中MES层和Control层属于车间智能化生产应用体系。   


    Control层可以通过工业互联网将设备层产生的数据和信息上传给MES层;MES层在实现产品生产管理的同时,还可以实现:

    ● 将生产过程信息集成起来进行统计分析,并以图表形式加以可视化后上传给ERP层。

    ● 将MES/Control层的生产信息传递给PLM。

    ● 将MES/Control层的生产信息与PLM中相应信息的对比分析结果传递给PLM。


    基于MBE的车间智能化生产应用体系能使各阶段人员实时了解远程人/机/料/法/环/测等各要素的真实状态,如设备的运行状态/当前生产过程信息/在制任务/产品质量/能耗/生产环境/故障异常等信息,从而帮助设计人员及时调整产品设计/工艺设计方案,帮助设备点检人员及时做出合理的维修计划,帮助生产管理人员同步调整生产流程。

数字孪生(Digital Twin)技术


    数字孪生是指充分利用物理模型、传感器采集的实时数据、运行的历史数据等信息,集成多学科、多物理量、多尺度、多概率的仿真过程,它实现了物理世界向数字世界中数字化模型的反馈,真正能够保证数字世界与物理世界在全生命周期范围内的协调一致,从而确保基于数字化模型进行的各类仿真、分析、数据积累、挖掘、人工智能等应用在物理世界中的适用性。


    数字孪生技术可应用于产品设计、工艺设计、设备管理等领域,以提高产品的研发水平和效率。


    在产品设计阶段,可以利用数字孪生模型建立无数个数字模型,并在模型中仿真制造过程、研究影响产品的环境因素/产品结构因素等,从而预测和优化设计质量,而无需高成本的实物模型来验证/调整设计方案。如零部件之间的干扰,设计是否符合规格等。


    在工艺设计阶段,利用数字孪生模型对制造方式、所需资源及制造地点等方面进行模拟规划,实现工艺设计人员和制造人员的协同。一旦发生设计变更,可以在数字孪生模型中方便地更新制造过程。如更新面向制造的物料清单、制造工序、时间估值等。


    在计划调度阶段,调度人员可采用数字孪生模型进行生产过程验证,以提高计划调度的有效性。如产品与设备/制造环境的干涉问题等。


    在工艺质量分析阶段,MES系统可以利用数字孪生模型,将MES/Control层产生的实际生产信息与PLM中相应的产品设计/工艺设计等信息做对比分析,检查二者间是否存在差异;如存在差异,找出造成差异的原因和处理方法。存在差异的信息被记录在PLM的异常报警数据库中。


    在知识管理方面,利用数字孪生、大数据技术,可持续累积产品设计/制造/运维的相关知识,帮助设计人员实现知识重用和持续性迭代优化,达到产品不断创新、流程不断优化的目的。


    值得提醒的是,不同的工业软件厂商在打造数字孪生解决方案时的理念不仅相同,所以,企业要根据自身需要来选择相应的解决方案。

数据挖掘技术


    MBD/MBE可以实现产品设计/制造/运维全过程三维数字化,可以实现研制过程中显性问题的快速处理,可以将研制过程中的经验和知识累积起来,避免这些显性问题的重复再显,使企业知识得到有效管理。但怎样利用这些知识找出研制过程中的隐性问题得借助于数据挖掘技术。


    通过对产品研制过程历史数据的挖掘,找出数据之间的相关性,发现新知识,并利用知识对制造系统人/机/料/法/环/测的结构和关联性进行精确建模,产生能够指导制造系统活动的数字孪生模型,使设计人员能够在虚拟的生产环境中实现无限的重复性设计过程,从而避免出现设计质量问题的发生。


    通过对生产过程历史大数据的挖掘,找出问题产生的隐性线索、关联性和根本原因等因素,建立预测模型,实现对工艺参数的趋势管理,在没有发生问题时就能提前预警和纠偏,尽量避免不合格产品的出现;实现对设备关重件的寿命预测,确保生产过程无故障的同时,还可以对备品备件库存进行智能调整,尽量达到零库存的目标。

MES层规划研究


    MES系统是车间计划调度、生产班组、物料管理、设备管理、工序检验、工艺质量、综合统计等生产管理的统一平台。可以实现生产指令的下达、生产过程信息采集、生产过程状况的汇总和上报,这些信息可通过工业互联网与车间各部门、车间Control层、ERP、PLM进行传递。


    MES层介于ERP层和Control层之间,是生产过程大数据形成的枢纽。生产过程大数据包括工艺设计数据、原材料、工装/模具、生产环境、设备状态、实际生产工艺数据、工序检验数据等信息。


    MES与PLM实时通信,可以将生产过程数据同PLM中的产品设计/工艺设计等信息作对比分析,并将分析结果传递给PLM。


    因此,在规划MES层数据采集系统时,要考虑产品设计/工艺设计/数字孪生模型的建立及应用等需求。MES系统可以包括制造资源、设备管理、生产调度、生产班组、生产监控、工艺质量管控、综合查询、统计报表等模块。


    (1) 制造资源管理: 建立人员/绩效、设备、仪器仪表、原材料、工装模具、半成品/产品等台账。本模块中,库存管理具有出入库和盘点操作功能;库存量不足时,MES系统能够自动预警;工装模具/仪器仪表需要周检时,MES系统能够自动预警。本模块中仪器仪表的周检信息可来源于Control层。


    通过对本模块历史大数据和当前任务计划、在制状况、设备状态及使用记录、原材料、工装模具等信息的挖掘分析,可实现库存的智能化预警,达到及时调整库存量的目的。


    (2) 设备管理:可从PLM中调阅设备图纸、维修规程、技术精度等资料,并具有设备保养、日常点检、备品备件、设备/仪表运行状态、运行环境(包括环境温湿度/仪器仪表周检信息/电网参数)以及关重件的供应商/加工工艺/采购时间/使用时间/故障履历等信息的管理功能。本模块中的设备/仪表运行状态、运行环境等信息来源于Control层。


    通过对本模块历史大数据的挖掘,可建立设备关重件故障预警模型,采用性能衰退分析和预测分析法,预测故障发展趋势及后果,进而提出相应的处理措施,使设备达到近乎零故障的目标。如避免在生产过程中,因出现旋转轴变形或断裂、刀具报废等故障而导致产品报废的现象。


    (3) 计划调度:根据PLM中实时更新的工艺设计、ERP的周计划以及车间设备、原材料库存、工装模具、在制任务等状况进行生产调度,经仿真验证合格后传递到生产现场的数字化应用终端,实现对设备使用、派工状态、完工信息等管理。


    (4) 生产班组作业:作业前,先进行设备日常点检,并在现场终端上录入点检结果;作业前,从PLM中读取实时更新的三维产品工程数据/三维工装资源数据/操作过程工艺图解/操作动画等资料,并在现场终端上进行多媒体培训;在现场终端上确认生产任务单及生产任务完工状况。现场终端可自动汇总或补录生产数据。


    (5) 生产监控管理:实现对车间生产信息和报警信息的实时看板显示功能,达到及时发现问题、汇报问题并处理问题的目标。生产信息包括工序生产进度(如工序开始时间/耗时预警/结束时间预警/总段数/当前运行段号/本段剩余时间/结束时间等)、物料管理、设备状态(如运行/暂停/关机等)、生产数据统计等;报警信息包括设备报警(如通讯中断/设备超差等)、工艺报警(如工艺超差等)、库存预警、计量预警、质量预警、人员缺勤、其它原因的报警等信息。本模块的工序进度、设备状态信息、设备报警、工艺报警、计量报警等信息来源于Control层。


    (6) 工艺质量管控:具有产品设计、工艺设计、原材料、工装模具、生产环境、设备/仪表运行状态、生产工艺数据、工序检验、出厂、运维等产品全生命周期信息的集成能力。本模块中的产品设计、工艺设计、运维等信息来源于PLM;生产工艺数据、生产环境、设备/仪表运行状态等信息来源于Control层;原材料、工装模具等信息也可来源于Control层。


    本模块可以实现以下功能:

    ●自动统计产品的合格率和不合格率;

    ●根据原材料/工装模具/生产环境/产品设计数据/工艺设计数据/实际生产工艺数据等信息,对出厂产品进行质量性能预测和预防性维护;

    ●实现对不良产品的追溯管理功能;

    ●将实际生产信息传递到PLM中;

    ●将实际生产信息与PLM中相应的设计信息进行对比分析,如有差异,找出产生差异的原因及处理方法,并将分析结果传递到PLM中。


    通过对本模块产品质量历史大数据的挖掘,可以研发产品质量控制系统,实现在制品流转过程中产品质量性能的动态预测,提升在线质量检测能力,实现尽早发现问题,并尽早预警和纠偏,以稳定并提升产品合格率的目标。


    (7) 综合查询:按月查询周计划/生产完成情况/设备状态/耗能/生产环境/报警等信息。本模块的设备状态/耗能/生产环境/部分报警等信息来源于Control层。


    (8) 统计报表:按月统计产品台帐/产品质量/车间产量/车间耗能/设备利用率/生产周期等信息。本模块中耗能信息来源于Control层。

    通过对产量和电耗大数据的挖掘建模,预先设定理想电耗曲线,就可以合理安排每天的生产负荷,实现节电的目标。  

面向智能化生产的Control层规划研究


    5.1 Control层控制系统发展简介


    5.1.1 数控系统发展简介

    普通机床的数控系统只控制刀具运动轨迹,不与网络连接。智能数控系统不仅控制刀具运动轨迹,还与MES、CAD/CAM等系统连接,可以实现自动编程、自动选择刀具、自动选择工艺、自动加工、自动检测产品、设备智能维护、加工任务规划、生产状态显示等功能。


    5.1.2 过程控制系统发展简介

    普通的过程控制系统多采用PID算法,PID算法的控制效果依赖于对研究对象的精准建模,所以对一些复杂的、不确定性的问题束手无策。随着大数据技术的发展,新的控制理论和控制方法层出不穷,典型的案例“阿尔法狗”利用深度学习,在海量棋谱的训练下,战胜了围棋世界冠军李世石,彰显了数据挖掘技术的魅力。数据挖掘技术能够把海量的工业数据转化为信息、信息转化为知识、知识转化为科学决策,并能够在正确的时间把正确的数据以正确的方式传递给正确的人和机器,实现在不完全了解具体因果关系的情况下就可以分析出接近事实的问题结论,从而解决那些PID无法解决的问题。 


     5.2 Control层规划研究

    基于本文MBD、MBE、数字孪生、大数据等技术的应用介绍以及对MES功能的研究,Control层规划方案应考虑以下三个要素:


    (1)考虑MES层对Control层的需求,为将来Control层与MES层的无缝对接打好基础。譬如Control层应该考虑:

    ● MES层需要的设备运行状态、耗能、部分生产管理信息等;

    ● Control层应具有与MES层对接的通信接口,如OPC UA等。


    (2)考虑生产过程大数据的建设,为日后工艺优化、设备智能维护系统、质量管控系统、生产管理优化等研发工作打好基础。譬如Control层数据采集系统应考虑:

     ● 采集除当前工艺参数以外的所有可能影响产品质量的其它数据;

     ● 采集如设备振动/负载电流/电网参数/耗能等与设备故障有关的参数;

     ● 采集耗能等与生产管理相关的参数。

    (3)应考虑MBD/MBE、数字孪生模型的建立及应用等需求。


    5.2.1 Control层硬件结构研究

    过程控制设备群与数控机床设备群的上位机最好分开,上位机通过仪表/变频器/PLC/数据采集终端等采集生产过程数据及设备点检参数等。Control层硬件规划可以考虑以下内容:


    (1) 统一配置车间设备仪表(带通讯接口),以利于系统的稳定性和后期的维修维护工作。

    (2) 上位机监测耗能信息:

    ● 为MES层的生产成本统计/生产管理优化提供数据源;

    ● 为设备状态(如开机/停机/空载/加工状态)的判断提供数据源;

    ● 为设备故障(如刀具状态)预测提供数据源。


    (3)上位机监测环境温湿度,为MES层的质量分析/工艺优化/设备维护系统的研究提供数据源。

    (4)上位机监测电网电压/频率/功率等参数,为设备智能维护系统的研发提供数据源。

    (5)上位机监测设备的振动/位移/温度/转速/转矩/功率/电流/电压等数据,为预知性维修工作的开展及设备智能维护系统的研发提供数据源。


    (6) 在智能仪表的选用上,选用某些寄存器具有可读功能的仪表,以便于MES层能够实时掌握现场生产情况及工序生产进度。例如:

    ●仪表状态信息:运行/暂停/停止等;

    ●控制方式信息:自动工作方式/手动工作方式/输出百分比等;

    ●工序生产进度信息:程序总段数/运行段号/本段剩余时间等;

    ●程序运行信息:设定值/PID/输出功率限幅值等。


    5.2.2 Control层上位机监控管理软件功能研究

    5.2.2.1 过程控制设备群上位机监控管理软件可包括以下功能模块:

    (1) 仪表工艺程序库管理:可以在上位机上编辑、保存工艺数据及控制参数,并保存在工艺库中。

    (2) 系统总览:显示设备群内所有设备的主要生产状态信息。

    (3) 生产过程管控:针对某一单台设备,在实现生产控制的同时还可提供以下生产信息:


    a)生产工艺调用:

    ● 本模块可输入产品名称/产品型号/工艺编号/原材料编号/工装模具编号/数量/生产班次/操作者等信息;

    ● 可调用仪表工艺程序库中的控制程序,并将调用的工艺数据及控制参数下传到指定设备中。

    本模块信息可上传给MES层以满足制造资源管理/工艺质量管控的需求。


    b)工艺运行参数显示:

    ● 显示仪表状态信息:如运行/暂停/停止等;

    ● 显示控制方式信息:自动/手动/输出百分比等;

    ● 显示工序进度信息:如工序开始时间/工序耗时预警/工序完成时间预警/工序总段数/当前运行段号/本段剩余时间/工序结束时间等;

    ● 显示工艺状态信息:如各参数的设定值/实际值/偏差值;

    ● 定时扫描工艺参数及控制参数的初始设置值及相应的当前实际值:如工艺设定值/PID参数/输出功率限幅值等,以观察是否存在人为干扰因素,便于及时纠正。

    本模块信息可上传给MES层,以满足质量管控/生产监控管理/综合查询/设备管理等模块的需求。


    c)工艺过程控制:操作员可根据工艺要求实行运行/暂停/恢复/跳步/结束等操作。

    本模块信息可上传给MES层以满足工艺质量管控/设备管理等模块的需求。


    d)设备运行状态监测:上位机监测设备运行状态,例如:工作台是否运行到位、炉门是否关好以及旋转轴的振动、电机/加热管的负载电流、电机转速、电机输出转矩、电网电压、环境温湿度等信息。

    本模块信息可按需上传给MES层以满足设备管理、工艺质量管控的需求。


    e) 报警显示管理:具有设备报警和工艺超差报警等功能。

    本模块信息可上传给MES层以满足生产监控管理模块的需求。

    f)生产工艺数据管理:生产工艺数据尽可能实现自动采集,实在不能实现自动采集的环节可手工录入生产数据。

    本模块信息可上传给MES层以满足工艺质量管控/设备管理模块的需求。


    g)耗能及生产环境管理:显示生产过程的耗能(包括耗电量/耗水量/耗气量等)、生产环境信息。

    本模块信息可按需上传给MES层,以满足制造资源管理/设备管理/工艺质量管控/综合查询/统计报表等模块的需求。


    5.2.2.2 普通数控机床设备群上位机监控软件可包括以下功能:

    (1)根据CAD设计模型自动编制加工程序、仿真加工过程、自动检测产品数据;

    (2)上位机与数控系统之间能够互传加工程序、系统参数等;

    (3)具有自动选刀功能;

    (4)可参考过程控制设备群监控软件开发工艺库管理、系统总览、生产工艺调用、工艺运行参数显示、工艺控制、设备运行状态监测、报警显示管理、生产工艺数据管理、耗能及生产环境管理等模块。

结束语


    为了实现产品快速低成本高质量的研制目标,产品研制的相关企业要齐心协力,尽早制定产品设计平台、模型集成、智能工厂系统集成、数字化信息集成、软件系统集成、数据管理、业务流程管理、设备管理等标准或规范,以避免重复性投资。


MBD将改变产品研发设计模式

                                                

MBD作为产品定义唯一的数据源,彻底改变了传统的二维图纸为主、三维模型为辅来定义产品的方式,开创了一个新的产品研发模式。


作者:夏忠定

来源:机械工程师联盟


产品定义发展历史:


第一代技术:
手工绘图


自18世纪以来,以投影法为基础的二维工程图统治着工程设计200多年,设计工程师们利用画法几何学的原理把三维空间物体按照各种投影视图在二维图纸上表达,制造工艺工程师们拿到二维图纸后也要利用《画法几何学》原理,从二维图纸上的各种投影推导出物体的三维形状和物体各个组成部分的相互位置,所有的都是手工绘图。



第二代技术:
CAD+3D 模型


随着生产力的进步,产品结构和形状变得越来越复杂,加上市场竞争越来越激烈,在这种环境下,公司为了应对复杂的市场环境,产品研发需要作出快速的反应,传统的手工绘图模式明显满足不了这种需求,CAD(计算机辅助绘图)技术从而产生,CAD绘图也只是把原来手工绘图完全计算机化,从效率上讲确实有不少提高,但它还是二维图纸,从而还是避免不了三维到二维之间的来回转化,增加了不少重复工作,对工程师的图纸阅读能力也有一定的要求。后来在CAD基础上发展出来3D模型技术,3D模型对工程师在读图上有了很大的帮助,但是3D模型只是用来表达产品的几何信息,产品的尺寸、公差、加工、测量等非几何信息还是在二维图纸上,这样就存在二维图纸和3D模型并存的局面,对于产品的信息传递和管理来说存在两种数据源,设计和制造不关联,信息沟通有障碍,产品制造加工出错率较高,产品研发难以实现并行研发等。



第三代技术:
MBD


 一门新的技术与标准往往是由国际顶尖公司提出,MBD技术是由制造业数字化研发和制造标杆企业波音公司提出、实施并推广的。波音公司在1990年启动的波音777飞机全面采用三维数字化技术,具体体现在全机几百万个零件全部3D数字化定义,产品数字化预装配,首次在公司内部实现了无图纸化设计,这也是MBD的最早的雏形,MBD使得波音777比波音767的研发时间几乎缩短了50%,设计更改和返工减少50%,装配时出现的问题数量减少50-80%。鉴于取得如此的成功,在波音公司的主导下,美国ASME 1997年开始制定MBD国际标准,经过6年的时间不断的修改更新,2003年出版了ASME Y14.41-2003“产品数字化定义规则”,欧洲在基本完全借鉴ASME Y14.41 标准的基础上,制定了ISO-16792"数字化产品数据定义规则"标准,同时各大主流CAD软件,比如UG,CATIA,Proe等也在软件中加上了三维标注功能模块。




波音随后在波音787的研制过程中全面开展MBD技术,要求整个供应链的所有供应商和承包商都要采用MBD技术,从而实现了基于MBD的全球协作并行开发模式,大大缩短了产品的研发时间和提高了产品质量。目前国内航空企业在波音公司的要求和带动下,一些主要的设计研发所,制造厂基本实现了产品设计前段的MBD技术。同时一些主流的汽车主机厂也开始采用执行MBD技术。



MBD是什么?

基于模型的定义(Model Based Definition)


在产品三维模型中描述与产品相关的所有设计信息、工艺信息、产品属性以及管理信息的先进的产品数字化定义方法。各类信息按照模型的方式进行组织管理、显示、传递和重用。

MBD作为产品定义唯一的数据源,彻底改变了传统的二维图纸为主、三维模型为辅来定义产品的方式,开创了一个新的产品研发模式。



MBD技术彻底改变了产品研发模式:


1   信息传递从图纸模式改变为模型传递

2   制造模式从模拟量传递改变为全数字化传递

3   研发模式从串行模式改变为并行研发模式




MBD ——

基于模型的产品数字化定义是实现智能制造、数字化工厂的基础



MBD技术在通类零件工艺信息模型中的应用

                                                

导读:本文对广泛应用于飞机上的典型通类零件进行分析,在达索公司的DELMIA软件提供的数字化制造工艺平台下,提出了以三维模型为核心的工艺信息模型,并基于MBD技术建立了通类零件的MBD设计和工序模型,模型上的MBD数据集分类整理,对三维模型在生产下游广泛应用具有指导意义。

作者:李琳 庞学慧 秦慧斌 苏校峰 张瑞廷    | 来源:e-works 数字化企业网


 MBD技术发展历程大致经历了“二维设计,二维出图”、“三维设计,二维出图”、“MBD全三维数字化设计”三个阶段。MBD技术的出现和发展,有效地帮助产品缩短了生命周期、提高了产品质量、降低了成本、减少了工作人员重复劳动等。目前,数字化巨头,Siemens、PTC、Dassualt等CAD/CAM/CAE集成平台中紧跟相关技术需求,提供逐步完善的数字化制造技术功能模块,使MBD模型作为产品全生命周期的唯一依据成为可能。

    新型航天整体结构零件的应用能使航天飞行器的制造质量显著提高,但是以通类零件为例的整体结构零件特点为结构复杂、加工几何多、加工精度高,数控加工技术要求高;零件种类多、改型多,数控程序编制任务量大,重复劳动多,编程效率低。然而,传统的工艺规划是将三维模型转化为二维工程图,生成工艺卡片来指导数控加工,影响了工艺信息表达的直观性,不符合设计和制造的协同性,严重影响了生产效率,逐渐成为了制造业大力发展全三维数字化设计制造的阻碍。

本文基于MBD技术建立通类零件的工艺信息模型,使零件在设计生产制造过程中保持数据的一致性,实现全生命周期的“无纸化”,便于设计上游和生产下游零件特征参数的修改、识别、提取和联动。


 1 MBD工艺信息模型


   

    1.1 基于模型的定义

    MBD(Model Based Definition,基于模型的定义)是用集成的三维模型完整地表达产品定义信息,将设计、工艺、制造、检验、销售等信息共同定义到产品的三维模型中,使三维模型成为产品生命周期各阶段信息的唯一载体,保证数据信息的唯一性;产品全生命周期的每个阶段的产品信息数据可很好地实现继承和共享。

    工艺信息模型图如图1所示。

     

    图1 工艺信息模型

    工艺模型根据工艺信息种类的不同分为模型层( Product)、工艺层( Process)和资源层(Resource)。

    在模型层中,以设计MBD模型和工序MBD模型为核心。MBD模型的MBD数据“分视图,分层级”显示管理,其中工序MBD模型的标注信息主要定义本道工序的表面粗糙度、模型的尺寸、形位公差等信息,与对应的加工几何特征相关联。工艺信息包括工序和工步,在一个三维工序模型中通常包含一道工序和多道工步,同时还包含若干个加工特征。

    工艺层中根据零件设计信息制定工艺路线,MBD信息表达在工序和工步上,每个制造程序机加工艺信息都体现在每个加工操作仿真切削的体积特征中。

    资源层中的MBD数据集主要包含了制造资源库和工艺资源,而这两种资源正是工艺层中所需要的,在资源层中还包含了机加工艺设备、刀具和量具等。

    1.3 设计模型、工序模型、毛坯模型关系

     

    图2 设计模型、工序模型、毛坯模型关系


2 MBD技术在工艺信息模型中的表达


    2.1 零件MBD数据集表达公式

     

    式中:Y表示制造模型;1表示加工该零件有1个工序模型,Ai表示第i个工序模型有j个设计信息; Bik表示第i个工序模型有k个制造信息。

    2.2 设计MBD模型

    以三通零件为例,设计模型的MBD数据集如图3所示。MBD数据集可以根据不同需要分两种方式显示零件的标注信息:注释层的分类表示方式和视图层信息的分类表示方式。

     

    图3 三通设计模型MBD数据集图

     

    图4 三通俯视图的MBD数据集

    基于MBD的模型过滤器可以过滤其他不相关的信息,从而获取自己需要的信息。注释层可以显示或者隐藏某一类信息,使对三维模型的观察更加简洁明了。

    注释层表达 :选择一类注释层,其余注释层信息隐藏。视图信息表达 :选择一种视图显示,其余视图信息隐藏 。如图4所示,俯视图数据集的单独表达。

    2.3 工序MBD模型

    三维工序模型是指经过每个加工操作后形成的带有本道工序的完整机加工艺信息的集成化的三维数字化实体模型。三维工序模型在三维标注平台上把IPM(In-Process Model)附加上机加工艺信息,从而就形成了三维工序模型。利用MBD技术,尽可能把工艺信息完整清晰地表达出来。

    如图5所示,其为三通铣一端外六方的工序模型。

     

图5 三通铣一端外六方的工序模型


3. 结束语


    通过对基于MBD通类零件的工艺信息模型的研究,建立了基于基于MBD的设计模型及工序模型,并对制造工艺信息进行了表达,对下游的基于MBD模型的数控加工有王宾 的指导意义,并且对下一阶段所研究的零件参数化设计先生参数的识别和提取打下基础。


MBD技术在石油装备制造中的应用

                                                

本文从石油装备研制的流程入手,讨论MBD技术在设计到制造到最后交付各个环节的具体应用方法,指出MBD技术进一步推进石油装备制造业自动化数字化的关键技术以及未来发展方向。


作者:李碧柳  陈永超

来源:《科技视界》


MBD(model-based-definition)技术是以三维模型为基础,在三维模型上对产品尺寸、公差、技术要求、材料属性等非几何制造信息进行组织、表达、操作、管理的一项技术,它摒弃了二维工程图,使三维数字化实体模型成为对产品的唯一描述,并使其成为生产制造过程中传递信息的唯一依据。这项技术在上个世纪90年代由波音公司最先提出,并应用到787客机项目的研制中,引领了航空企业数字化发展方向。多家知名企业例如波音、空客、洛马等,在机械产品研制和生产各环节中推广应用MBD技术,使产品质量、协同效率、研制能力大幅度提高。目前,MBD技术在我国航空部门已经广泛使用,在航天和军工部门也得到应用和推广。而在石油装备制造领域,MBD技术还处于起步阶段,本文就石油装备制造业的具体情况,分析了采用MBD技术的必要性,讨论了MBD技术的具体应用方法,应用平台以及应用过程中关键问题。


1

应用MBD技术的需求分析


目前,我国石油装备制造,虽然在设计制造工作中采用了多项计算机辅助技术,但彼此之间并没有有效的数字化信息共享和传递,实际产品的研制仍然停留在传统的管理模式上。例如:工艺设计、装配检测等环节没有与设计环节协同起来,仍然靠图纸、工艺卡片等传递信息;质量数据管理仍然通过手工记录的方式进行。这种传统模式下数据冗余,管理混乱,导致产品研制周期长、成本高,工厂产能有限,产品质量不稳定,严重束缚了石油装备研发制造的产业升级。而MBD技术以三维实体模型为唯一数据源,集成了模型的几何尺寸信息,公差信息,属性信息,制造技术要求等信息,以带有产品制造信息PMI(Product Manufacturing Information)的三维模型作为制造依据,实现了产品设计、工艺设计、工装设计、零件加工、装配与检测的高度信息集成,大大地提高了产品研制效率。MBD技术的重要价值在于通过PMI(product-manufacturing -information)产品制造信息的一次创建,多次多点应用,实现数据重用的最大化。鉴于基于MBD技术的先进制造方法在我国石油装备制造业中尚处于初步探索阶段,因此开展MBD技术如何在石油装备制造业应用并规范化这方面的研究具有重要的现实意义。



2

MBD技术在石油装备制造业的应用途径


一个完整的MBD三维数字模型,应该包含的完整零部件信息应如表1所示。以下以某测井仪器研发并产业化流程为例,说明基于MBD技术的产品数字化研制流程。


表1 MBD模型中所含数据集


2.1 协同设计环节


设计人员设计好三维数字模型,运用三维标注工具将零组件的PMI(product-manufacturing-information)信息标注在模型中,例如几何尺寸、公差粗糙度、属性等,这是整个MBD技术应用的基础。如图1是某测井设备短节的MDB模型视图,表示一些注释和有待检测尺寸。除了几何信息外,其他非几何信息按照一定格式和规范进行参数化定义,方便被其他数字化系统识别与自动化处理,对多人协同设计、多线程同时数据汇总和调用带来便利。模型的PMI数据应以视图方式进行组织和分类,这样做有利于清晰、完整、层次化地表达模型信息,也便于发布和浏览。在产品的设计过程中,工艺人员应提前介入,提出产品工艺可制造性方面的建议,参与产品设计。模型设计完成后,应通过PDM(product data management)产品数据管理工具共享给对应的工艺设计人员。后续如果技术状态发生变化,需对三维模型更新,并确保版本一致。产品设计阶段所设计的产品三维模型还应包括所有制造和检验所必需的产品数据,以便于后续工作中有足够的依据,例如,产品的非几何信息应包括各种有关的关联设计数据、全局坐标系、局部坐标系、全机基准系统、产品及工装的公差及尺寸标注、工程说明、材料需求说明、详细的装配说明、安装要求、产品和工装数据集所需遵循的企业数字化标准等信息,这些信息需定义在MBD数据集中的若干节点中。实际设计的过程中,每一个零件不是孤立存在的,都需要有装配协调关系,因此还必须做好装配仿真,在模型阶段避免干涉碰撞等现象,确保零件的互换协调以保证装配工艺设计顺利完成。

 

图1 带PMI数据的MBD三维模型实例

2.2 工艺环节


在MBD环境下进行工艺模型创建。基于MBD的工艺模型建模核心思路是:针对工艺过程进行建模,以工序为基本单元进行设计,通过建立视图与工序参数化描述的关联关系来表达。其实质是对于三维环境下的工序模型和三维标注相互配合。通过MBD方式创建的三维工序模型其所表达的工程语义较图纸方式更为丰富,表达更为清晰,使用范围更为广泛。首先,工艺人员应确定零件技术要求,工艺设计依据,并从设计MBD模型中提取结构特征、尺寸公差、表面粗糙度、材料、硬度、参数等后继工艺设计开展所需信息。其次,根据上一步中的信息,制定工艺路线及零件工序划分。在此过程中借助三维标注功能分视图对工艺路线进行详细描述。再根据上一步模型中对工序的定义完成不同类型主辅工艺的详细设计工作,以包含三维标注的不同的视图分别表现必要的定位、加紧、尺寸、工序描述等。最后将相关汇总后生成的工艺MBD模型存档,数据导出到指令性工艺文件中。


2.3 制造环节


制造计划编制人员在PDM系统中查阅工艺人员提交的工艺及三维模型信息,制定生产计划并下发。向人力资源管理部门提交工时计划,人力资源管理部门查阅工艺及三维模型信息,制定工时后向车间下发。向物资管理部门提交物资备料计划,物资管理部门在生产管理系统中查阅工艺及三维模型信息,进行物资备料。车间操作人员获得下发的工艺MBD模型,进行生产。


2.4 检测环节


检测人员在PDM系统中进行任务接收和进度反馈,查阅三维工艺和三维数字模型。更进一步,检测规划人员可利用原始三维模型创建检验模型,并定义必要的检验视图,标注检验要求、注释等。以三坐标检测为例,检测人员先从PDM中获取检测工序模型。基于MBD三坐标检测工序模型是将本道工序的形状信息、轮廓信息和基准等几何信息,以及尺寸信息、公差信息、精度要求等非几何信息进行提取而获得。再进行检测工序分工院通过对MBD模型结构特征和标注信息进行识别和分析,将三坐标测量机能够检测的部分进行提取,在原MBD模型上将非三坐标测量机测量的部分消隐掉,生成专供三坐标测量机使用的MBD工序模型。最后根据精度和最大行程等信息选择最适合的测量机进行测量。测量时,检测人员可直接以三维模型为基础进行特征的提取和编程,通过软件进行测量过程仿真,检测可能存在碰撞与干涉,实际检测程序运行之后,将检测结果导入相应模板中存档,完成产品检验。相比较传统方式对照图纸编制测量程序,工作效率和可靠性大幅度提高。


2.5 装配环节


MBD技术运用以后,装配设计更显立体化。装配之前,设计阶段,设计人员就要初步建立基于容差分配的依靠尺寸保证的产品互换性协调体系;在工艺设计环节,为保证一次加工装配的可行性,就需要采用数字化仿真技术,例如装配路径分析,路径求解。生产现场可以从协同平台获得MBD模型,进行装配工艺文件的编制,并以可视化方式显示装配工艺过程,指导工人进行产品的装配。


2.6 产品交付


产品研制完成后,相关记录形成产品数据包,按要求组织预验收,开展产品验收工作,验收通过后交付。



3

MBD技术应用的关键问题


3.1 MBD技术协同工作平台


MBD技术在企业实际运用的过程中,基于MBD技术的协同工作平台是最重要的一个环节。此类软件是管理产品在设计、工艺、生产、销售整个过程中(生命周期)所产生的信息资源的计算机辅助管理体系,即PDM软件。在技术协同平台之上,可以新开发各种新功能模块,即各环节数字化自动化工具,例如工艺设计与管理系统、生产现场管理系统、自动检测系统。数据库将所有的功能模块串联起来,实现由设计到制造的一体化,可为各功能模块间提供统一的数据接口,从而实现各功能模块之间的集成,为MBD系统提供了强大的扩展性。基于MBD的产品数据首先由各个用户上传到PDM数据库服务器,数据库又为所有用户提供数据,并管理由用户上传的数据。在此MBD技术比起传统的计算机辅助技术凸显了优越性。由于所有数据都集成在模型中,数据量大大减少,避免了使用计算机辅助工具后信息量往往爆炸的情况。数据库根据用户不同的权限设定各个用户调取数据的范围。


3.2 相关输入标准


 其次,由于MBD技术下,三维模型是产品制造的唯一依据,如果三维建模、产品制造信息输入不规范,将给后续数据管理和重用带来巨大的麻烦。后续开发与协同工作平台相对接的数字化自动化运用模块也会出现问题。为此,还需建立相应的三维建模及标注规范并有效落实。基于MBD技术的数据输入标准有ISO 16792–数字化产品定义规程、ASME Y14.41-3D数字化产品定义、中国国家标准:数字化产品定义数据通则;美国波音公司,中国航空工业集团也有相应的企业标准。在石油装备制造行业,我们也要根据企业制造资源的实际运行情况,加紧建立自己的企业标准,为MBD技术深度应用,实现装备制造自动化信息化打下基础。


3.3 模型数据轻量化


此外,MBD技术下的产品模型,数据量大,而石油装备的零组件,往往结构复杂且数量巨大。当处理复杂产品的CAD源模型时,对计算机硬件要求很高,而大多数时候,用户只需要处理模型的局部信息,并不需要显示和加载所有特征和数据。因此,三维模型野轻量化冶也是提高系统运行效率的必要关键技术。目前,如NX,CATIA等软件有相应的轻量化技术,但如何将其与平台对接,具体应用到企业自己的系统中,仍然需要进一步的研究和设计。



4

结论


MBD技术已经成为国内外航空航天、军工产品研制不可或缺的手段,在制造业的应用也越来越多,是设计与制造技术发展的一个方向。MBD技术应用到石油装备制造中,会大大减少产品的市场投放时间并提高了产品的质量。我国石油装备制造行业在推进智能制造建设过程中,要充分认识到MBD技术带来的研制模式和研制流程的变革。笔者从石油装备数字化研制流程出发,提出了石油装备制造业应用MBD技术的途径和方案,同时也指出了MBD技术应用的关键问题和未来应该着重解决的方向,为石油装备制造领域MBD技术应用研究提供了参考。


基于MBD的几个关键技术


MBD(Model Based Definition)是指用集成的三维模型完整地表达产品定义信息,将设计、制造、检验信息共同定义到产品的三维数字化模型,使三维模型成为产品生命周期各阶段信息的唯一载体,不再需要将三维模型转换为二维工程图,避免了大量重复劳动,不仅提高了产品设计效率,更重要的是保证了产品数据源的唯一性。


MBD技术及实施最早由波音公司提出,于2003年被美国ASME批准为机械产品工程模型的定义标准,标准号为ASME Y14.41[2];2006年ISO组织借鉴ASME Y14.41标准制定了ISO16792标准;我国在参考ISO16792标准的基础上,于2009年11月30日发布了国家标准《技术产品文件——数字化产品定义数据通则》(GB/T 24734-2009),规范了国内企业的MBD技术的应用。


目前主流的三维CAD系统都具备了三维标注的模块,支持MBD部分功能,如UG NX的PMI模块,CATIA的Functional Annotation & Tolerance 模块,SolidEdge的PMI模块,Solidworks的DIMxpert模块,PTC、SpaceClaim都在造型模块中增加了三维标注功能。然而,要实现全面支持MBD,三维CAD软件及标准还有一些关键的技术及问题有待研究。


机加工艺三维表达关键技术


01

机加工工艺三维表达方案


目前,国内外还没有机加工艺信息的三维表达规范和标准,因此需要根据实际需要,在三维CAD软件现有三维标注功能基础上,设计机加工艺信息表达方案。

目前,机加工艺设计的结果文件主要是工艺过程卡、工艺卡和工序卡。3种卡片所记载的信息各不相同,但结构相似,中间区域或详或简地记录工序或工步信息,卡片上部区域主要记录工艺或工序中共有的信息,卡片下部区域是变更、审核和签字信息。


新标准定义的工艺信息框格,能够针对过程卡、工艺卡、工序卡对工艺信息要求不同详细程度的情况进行调整,能够充分表达机加工艺。三维CAD需要在指引线注释功能的基础上,开发框格及相应的图形符号库,支持新的表达规范。


02

基于模型定义的工艺信息结构


要支持基于三维模型的工艺信息表达,需要建立产品基于MBD的工艺信息模型。目前已经有一些文献研究了MBD技术下的零部件制造模型,但目前主流的三维CAD在MBD技术下的模型构成方面还没有成熟的解决方案。


为满足机加工产品的工艺信息表达,CAD系统需要满足:(1)能管理零件、毛坯、工序模型等不同阶段的多个三维模型;(2)能保持毛坯模型、工序模型、零件模型之间的双向相关关系,当某个模型变更时,其前驱和后续的模型也应相应修改;(3)提供不同阶段的各类标注符号,除粗糙度、尺寸公差、形位公差外,还需要定位符号、夹紧符号、新标准中的加工方法符号、刀具符号、工序及工步描述中客户自定义的各类技术要求符号等。


03

零件、工序、毛坯模型的相关性


MBD模式下机加工产品的三维数模包括:毛坯模型、工序模型和零件模型。模型创建次序包括正向创建法和逆向创建法。

虽然用户看到的是多个不同模型,但为保证数据源的唯一性,上述模型必须是相关的,CAD系统应该只维护一套模型数据,并建立不同模型间复杂的几何相关性。因此,CAD系统必须建立造型特征抑制、隐藏、压缩、配置等功能。


此外,除工艺阶段需要毛坯、工序及产品的设计结果模型外,在产品检验阶段还需要根据实测值创建实测模型,或根据某些规则在保证合格条件下建立其他极限模型等。虽然这些模型不需要在造型特征层与设计模型建立相关性,但与模型外表面的相关性也是需要的。另外,各种模型的变更,也需要依据内在模型间的相关性,按依赖关系依次变更。


MBD模型的多视图管理技术


在产品三维数模上标注了众多PMI后,为避免出现刺猬状的凌乱视图,CAD系统需要创建各类不同的视图,分别表达不同阶段、不同角色的查阅需求。目前,主流CAD系统已经提供了可以借鉴的视图管理方案。


几何模型集包括毛坯、工序、零件等各种模型,视点集包括6个基本视点、2个轴测视点、以及用户自定义的视点,标注和注释集是用户标注的各种PMI项及属性项,截面集包括剖切三维模型的各种截面。


标注及注释信息形式化面临的问题


注释信息的形式化,就是将三维标注信息转化为有一定逻辑,计算机可理解的形式,以方便计算机对信息进行解析,提取其中的关键元素,实现对分析、工艺规划、制造等过程的驱动。虽然,目前尺寸及公差、基准、表面粗糙度、形位公差已经做到了结构化、形式化,但仍然面临一些问题。


01

关联到几何要素的标注项/注释项


不同工程师理解标注时,通常不会出现歧义,但计算机可能理解为点到点、点到线、点到面、线到线、线到面、面到面等多种可能,原因是计算机只能按照用户选定的尺寸界线元素进行理解。因此,为实现标注的形式化,CAD系统必须区分“标注几何”和“标注定位几何”。“标注几何”应该是最能代表标注意图的几何要素,图7应该是模型的顶面和底面,而不是线或点。而“标注定位几何”表明尺寸界线从哪里引出,应该是某个具体点、边上点或虚交点(如圆柱轴线与端面交点。)


02

统一技术要求的形式化


在二维零件图中,通常还会有一些如下技术要求:“未注尺寸允许偏差±0.05”、“未注圆角R3-R5”、“未注倒角2×45°”、“未注尺寸公差的偏差均按H级”、“未注拔模斜度1°~2.5°”、“未注表面粗糙度”等。此类标注的特点是:都与三维数模上多个几何要素相关,而利用现有的各CAD系统,这种一对多的相关性都还不能很好地表达。

要使计算机理解哪些几何要素要满足这些技术要求,就必须显式的表达技术要求与几何要素间的相关性,即建立标注与几何要素间的关联。在CAD系统中需要将此类技术要求定义为特定标注项,通过提供几何要素列表,建立相关性。此类技术要求类型很多,CAD系统难以完全定义,因此,必须设计为用户自定制方式。


03

文字可阅读性


按照ASME Y14.41以及GB/T 24734-2009在3.1.2和5.4中的规定“所有的标注都应在一个或多个标注面上给出详细说明,并始终保持标注面相对模型的定向关系”。因此,在保持定向关系条件下旋转模型时,标注平面也将随模型转动,其上的文字将出现上下或前后颠倒的情况。在标准GB/T 24734.5-2009中5.4规定了3种解决方法:(1)模型旋转后,标注面的阅读方向也能相应更新;(2)在模型的每个标注面上应确定正确的阅读方向;(3)保存视图时,应能确保模型朝向符合设定的视图方向。


结束语


本文提出了一种机加工产品工艺信息基于三维模型的表达方案,并设计了机加工产品MBD模型结构和多视图管理方法,为机加工产品MBD体系下的工艺信息表达提供了较完整的方案;根据毛坯、工序、零件模型间相关性,分析了工序模型的正向和逆向创建方法,并提出了模型修改方式,为CAD系统建立工序、毛坯、零件模型间的相关性提供了思路;分析了标注内容形式化目前面临的2个问题,并提出了可行的解决方法,为MBD模型的计算机理解提供了方法。最后提出的一种实现文字动态可阅读性的技术方法,对三维CAD系统的开发有借鉴意义。

来源:机械工程师联盟



工业互联网




产业智能官  AI-CPS


加入知识星球“产业智能研究院”:先进产业OT(工艺+自动化+机器人+新能源+精益)技术和新一代信息IT技术(云计算+大数据+物联网+区块链+人工智能)深度融合,在场景中构建状态感知-实时分析-自主决策-精准执行-学习提升的机器智能认知计算系统实现产业转型升级、DT驱动业务、价值创新创造的产业互联生态链



版权声明产业智能官(ID:AI-CPS推荐的文章,除非确实无法确认,我们都会注明作者和来源,涉权烦请联系协商解决,联系、投稿邮箱:[email protected]



登录查看更多
11

相关内容

《计算机辅助设计》是一份领先的国际期刊,为学术界和工业界提供有关计算机应用于设计的研究和发展的重要论文。计算机辅助设计邀请论文报告新的研究以及新颖或特别重要的应用,在广泛的主题中,跨越所有阶段的设计过程,从概念创造到制造超越。 官网地址:http://dblp.uni-trier.de/db/journals/cad/
专知会员服务
127+阅读 · 2020年6月12日
德勤:2020技术趋势报告,120页pdf
专知会员服务
194+阅读 · 2020年3月31日
阿里巴巴达摩院发布「2020十大科技趋势」
专知会员服务
108+阅读 · 2020年1月2日
智能交通大数据最新论文综述-附PDF下载
专知会员服务
106+阅读 · 2019年12月25日
【大数据白皮书 2019】中国信息通信研究院
专知会员服务
138+阅读 · 2019年12月12日
【数字孪生】数字孪生技术从概念到应用
产业智能官
95+阅读 · 2020年2月16日
【数字化】制造业数字化转型的实战路线图
产业智能官
40+阅读 · 2019年9月10日
【数字孪生】工业互联网支持下的数字孪生车间
产业智能官
21+阅读 · 2019年6月3日
【工业大数据】一文带你读懂《工业大数据白皮书》
产业智能官
14+阅读 · 2018年1月20日
Generative Adversarial Networks: A Survey and Taxonomy
Arxiv
7+阅读 · 2018年11月1日
Arxiv
26+阅读 · 2018年9月21日
Next Item Recommendation with Self-Attention
Arxiv
5+阅读 · 2018年8月25日
Arxiv
14+阅读 · 2018年4月18日
Arxiv
4+阅读 · 2017年11月4日
VIP会员
最新内容
美陆军设想无人系统司令部
专知会员服务
2+阅读 · 今天13:45
【博士论文】已对齐人工智能系统的持久脆弱性
专知会员服务
0+阅读 · 今天13:52
扭曲还是编造?视频大语言模型幻觉研究综述
专知会员服务
0+阅读 · 今天13:41
《采用系统思维应对混合战争》125页
专知会员服务
2+阅读 · 今天12:47
战争机器学习:数据生态系统构建(155页)
专知会员服务
6+阅读 · 今天8:10
内省扩散语言模型
专知会员服务
6+阅读 · 4月14日
国外反无人机系统与技术动态
专知会员服务
4+阅读 · 4月14日
相关论文
Generative Adversarial Networks: A Survey and Taxonomy
Arxiv
7+阅读 · 2018年11月1日
Arxiv
26+阅读 · 2018年9月21日
Next Item Recommendation with Self-Attention
Arxiv
5+阅读 · 2018年8月25日
Arxiv
14+阅读 · 2018年4月18日
Arxiv
4+阅读 · 2017年11月4日
Top
微信扫码咨询专知VIP会员