【AI-CPS】【边缘计算】边缘计算核心技术辨析

2020 年 6 月 12 日 产业智能官

边缘计算(Edge Computing)是云计算向边缘的延伸,本文对边缘计算、雾计算、MEC、Cloudlet、分布式云等边缘计算领域相关概念和技术的定义、架构、场景等进行了比较分析,并对该领域的技术发展趋势给出了预测与展望。

概述



在整个行业数字化转型的大背景下,在 IoT、5G、 VR、AI 等业务云化需求驱动和技术发展推动下,边缘计算(Edge Computing)概念应运而生并迅速得到了行业的广泛关注。 相对于经典云计算带来的“云端”的海量计算能力,边缘计算实现了资源和服务向边缘位置的下沉, 从而能够降低交互时延、减轻网络负担、丰富业务类型、优化服务处理,提升服务质量和用户体验。
边缘计算概念并无明确定义,雾计 算、MEC、Cloudlet、 边 缘 计 算、 分 布 式 云 等 概 念 迭 出,ETSI、ITU、OpenFog、ECC、OEC、3GPP、ISO、IEC、 IEEE、Linux 基金会、OpenStack 基金会等业界主流标准 化、开源和行业组织都在积极推进但都有所侧重。本文针对边缘计算、雾计算、MEC、Cloudlet、分布式云等领域内核心技术的定义、架构、场景等进行简介,并进行比较分析。
 
 雾计算



雾计算(Fog Computing)是2011年 cisco 提出的概念,OpenFog 联盟是雾计算的主要推动者,其雾计算定义为: 一种系统级的水平架构,将计算、存储、网络、 控制和决策等资源和服务分布到从云到物的任何位置,旨在解决 IoT、AI、VR、5G 等业务场景需求。 ①水平架构:支持多个行业垂直应用领域,将智能和服务分发到用户和业务;②云到物的服务连续:使服务和应用分布在云和物之间、更接近物的位置;③系统级:是物和云之间的整个系统,从物到网络边缘再到云,覆盖多个协议层次,而非特定的协议或端到端系统的一部分。
雾计算和云计算相互依赖,互为补充; 部分功能适合于由雾计算节点执行, 部分功能则适合于在云上运行;具体边界依据具体的应用、场景和网络环境等有所不同。FCN(Fog Computing Node,雾计算节点)是智能终端设备和云之间的智能接入网络的中介计算网元,可以是物理的也可以是虚拟的,与智能终端设备或接入网紧耦合,在终端设备和云之间提 供数据管理和通信服务等功能。
OpenFog 联盟给出雾计算参考架构如图 1 所示:其中,主要从雾计算节点、软件、功能要求等角度进行了描述:



图1—OpenFog 联盟雾计算参考架构


(1)雾计算节点: 主要包括节点资源、节点管理、协议抽象层等组件。其中,节点资源包括计算、存储、网络、加速器等;节点管理包括硬件配置管理和安全保护;协议抽象层实现传感器等终端设备的适配和对接,支持异构终端、雾节点之间的兼容互通。
(2)软件: 主要包括节点管理和软件背板、应用支持、应用服务等 3 层。其中,节点管理负责雾节点或系统的软硬件配置和状态维护,并维护其可用性、可靠性和性能;软件背板上运行节点各类软件,并实现节点间通信;应用支持提供应用管理、运行时引擎、应用服务器、消息和事件、安全服务、数据存储和管理、分析工具和框架等软件供多个应用(微服务)使用和共享;应用服务依据部署、场景、资源可用性等的不同而不同,主要包括连接服务、支持服务、分析服务、集成服务、UI 服务等。
(3)功能要求: 主要包括性能和扩展性、安全、可管理性、数据分析和控制、IT 服务和跨节点应用等方面。包括:需根据场景需求匹配流量模型,保证节点间互相隔离互不干扰;借助虚拟化和容器等技术提升可扩展性;提供节点安全、数据安全、网络安全、安全监控和管理等从云到网络边缘再到物的整个系统安全;可管理性包括管理接口、雾节点生命周期管理、独立的管理层等;将海量数据的收集、存储、传输、分析等功能下沉到网络边缘,靠近数据源,按需实现特定的数据处理能力;实现应用和服务在雾计算体系层次中按需部署和互操作,支持节点间数据共享,支持跨节点应用等。
雾计算可用于 IoT、5G、AI 等多种场景,解决对本地化安全、客户位置感知、灵活部署和可扩展、低时延等的需求。其中,IoT 是 FC重点面向的场景,交通、智慧 城市、智慧楼宇、工业制造业、零售企业、健康医疗、农业、政府军队、智慧家庭、运营商等都有应用。其中的一些代表性场景如智能汽车和交通控制、可视化安全和监控、智慧城市等。
MEC



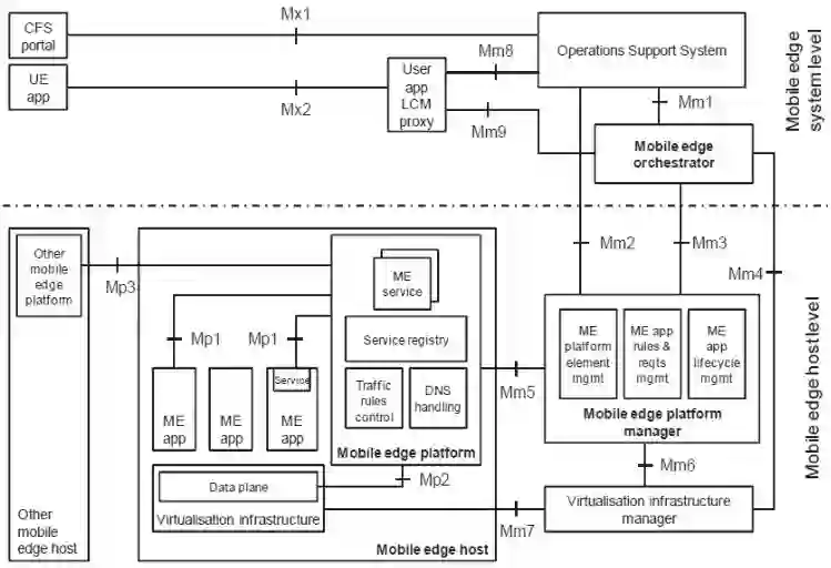
MEC 是ETSI 提出并主推的概念,经历了从移动边缘计算(Mobile  Edge Computing) 到多接入边缘计算(Multi-access Edge Computing)的演变。其中, 移动边缘计算是指在移动网络边缘提供 IT 服务环境和云计算 能力,将网络业务下沉到更接近移动用户的无线接入网侧, 旨在降低延时,实现高效网络管控和业务分发,改善用户体验;多接入边缘计算是指在网络边缘为应用研发商和内容提供商提供 IT 服务环境和云计算能力,该环境为应用提供超低延时、高带宽、实时接入等特性能力。 MEC 主要特性包括:就近接入、超低时延、位置可见、数据分析等。ETSI MEC 给出的系统参考架构如图 2 所示。其中,主要包括如下组件:



图2—ETSI MEC系统参考架构


(1)MEC主机: 由虚拟化基础设施和 MEP 构成,用以承载各类 MEC应用。其中,虚拟化基础设施数据面负责执行移动边缘平台接收到的流量规则,并实现流量转发。MEP(MEC Platform,MEC 平台)提供一系列功能, 用以实现 MEC 应用在特定虚拟化基础设施上运行并使提 供移动边缘服务。
(2)MEC应用: 是运行在 MEC 主机虚拟化基础设施上的虚拟机,支持与 MEC平台交互,以构建和提供MEC服务。MEC应用带有一系列规则和需求,包括所需要的资源、最大时延、可用服务等。这些需求由MEC系统级管理进行确认。
(3)移动边缘主机级管理: 包括移动边缘平台管理器 MEPM、虚拟化基础设施管理器 VIM,对移动边缘主机和其上运行的应用进行管理。其中,VIM(Virtualisation infrastructure manager,虚拟化基础设施管理器)的功能可参考 ETSI NFV VIM,主要提供虚拟化资源管理功能;MEPM(Mobile edge platform manager,移动边缘平台管理器)主要实现应用生命周期管理、MEP 网元管理、 应用规则和需求管理等。
(4)移动边缘系统级管理: 包括 MEO、OSS 等组件。MEO(Mobile edge orchestrator,移动边缘编排器) 是核心组件,负责维护移动边缘系统的整体视图、激活应用包、基于约束条件选择合适的移动边缘主机以实现应用实例化、触发应用实例化和终结、触发应用重定位等。按照业务需求和方案架构,ETSI 将 MEC 场景分为三类,每一类的方案架构趋同,各类之间各有不同:
①面向客户的服务,包括游戏、远程桌面应用、增强和辅助现实、辅助认知等。
②运营商和第三方服务,包括活动设备位置跟踪、大数据、安全、企业服务等。
③网络性能和QoE 提升,包括内容和DNS缓存、性能优化、视频优化等。
其中,主要包括7大场景:智能移动视频加速、监控视频流分析、AR(增强现实)、密集计算辅助、企业专网、车联网、IoT 网关。
 
Cloudlet



Cloudlet 是2013年 Carnegie Mellon University(卡内基梅隆大学)提出的概念,源于移动计算、IoT 与云计算的融合,代表“移动设备/IoT 设备—cloudlet—云”三层体系架构的中间层,可看作是一个“data center in a box”,旨在使云更接近用户。 基于此,OEC 给出了对边缘计算的定义:边缘计算在接近用户侧提供小型数据中心(边缘节点),提升用户对计算和存储资源的使用体验。 Cloudlet主要包括四大特性:仅以软件形态部署、具备计算 / 连接 / 安全能力、就近部署、基于标准云技术构建等。
OEC 给出的边缘计算参考架构如图3 所示,包括移动设备、边缘服务器、后端系统等组件。其中:边缘服务器主要基于Cloudlet实现,包括3 层:
(1)基础设施层:包括硬件、虚拟化和管理;
(2)开放云平台:提供app运行支持环境和能力开放, 并实现统一管理;
(3)应用:基于虚机实例承载移动设备卸载的各类应用(如图3 所示)。




图3—OEC基 Cloudlet 的边缘计算系统参考架构
Cloudlet 和OEC主要针对移动与云计算的融合场景,适用于四大场景类型,包括高度响应的云服务、扩展边缘分析、隐私策略执行、屏蔽云中断。其中,典型场景包括:VR、vCPE、企业服务(如虚拟桌面)、公共安全、传感器数据服务、汽车服务、移动app优化、工业 4.0、无人机支持服务、健康和体育服务、在线游戏、通信服务优化等。
边缘计算



ECC(EdgeComputing Consortium,边缘计算产业联盟)2016 年成立,是边缘计算的积极推动者。 ECC的边缘计算定义:是在靠近物或数据源头的网络边缘侧,融合网络、计算、存储、应用核心能力的分布式开放平台, 就近提供边缘智能服务,满足行业数字化在敏捷联接、实时业务、数据优化、应用智能、安全与隐私保护等方面的关键需求。 它可以作为联接物理和数字世界的桥梁,使能智能资产、智能网关、智能系统和智能服务。
ECC认为,边缘计算与云计算是行业数字化转型的两大重要支撑,两者在网络、业务、应用、智能等方面的协同将有助于支撑行业数字化转型更广泛的场景与更大的价值创造。其中,云计算适用于非实时、长周期数据、业务决策场景,而边缘计算在实时性、短周期数据、本地决策等场景方面有不可替代的作用。ECC给出EC的主要特性包括联接性、 数据第一入口、约束性、分布性、融合性等。 ECC 提出的边缘计算参考架构如图 4 所示。 其中,主要包括如下层次化组件:



图4—ECC 边缘计算参考架构


(1)ECN(Edge Computing Node,边缘计算节点): 由基础设施层、虚拟化层、边缘虚拟服务构成,提供总线 协议适配、流式数据分析、时序数据库、安全等通用服务,并按需集成特定的行业化应用服务。
(2)联接计算 Fabric: 一个虚拟化的联接和计算服务层,屏蔽异构ECN 节点,提供资源发现和编排,支持ECN节点间数据和知识模型共享,支持业务负载动态调 度和优化,支持分布式的决策和策略执行。
(3)业务 Fabric: 模型化的工作流,由多种类型的 功能服务按照一定逻辑关系组成和协作,支持定义工作流和工作负载、可视化呈现、语义检查和策略冲突检查、业务 Fabric、服务等模型的版本管理等。
(4)智能服务: 开发服务框架通过集成开发平台和工具链集成边缘计算和垂直行业模型库,提供模型与应用 的全生命周期服务;部署运营服务主要提供业务编排、应用部署和应用市场等三项核心服务。
(5)管理服务: 支持面向终端、网络、服务器、存储、数据、应用的隔离、安全、分布式架构的统一管理;支持面向工程、集成、部署、业务与数据迁移、集成测试、集成验证与验收等全生命周期管理。
(6)数据全生命周期服务: 提供数据预处理、数据分析、数据分发和策略执行、数据可视化和存储等服务。支持通过业务Fabric定义数据全生命周期的业务逻辑,满足业务实时性等要求。
(7)安全服务: 主要包括节点安全、网络安全、数据安全、应用安全、安全态势感知、身份和认证管理等服 务,覆盖边缘计算架构的各个层级,并为不同层级按需提供不同的安全特性。
边缘计算通过与行业使用场景和相关应用相结合,依据不同行业的特点和需求,完成了从水平解决方案平台到垂直行业的落地,在不同行业构建了众多创新的垂直行业解决方案。目前,ECC 给出的核心场景主要面向 IoT,范 例包括:梯联网、智慧水务、智能楼宇、智慧照明等。
分布式云



分布式云是 ITU-T 2016 年提出并主推的概念,是对云计算模式的扩展,在兼具云计算以网络为中心、以服务 为提供方式、资源池化和透明化、高扩展高可靠性特征的同时,基于业务 / 用户需求,灵活、敏捷、按需、智能地提供分布式、低延迟、高性能、安全可靠、绿色节能、能力开放的信息化基础设施,满足全社会各行业数字化转型 需要。 分布式云主要具备如下能力特性:分布式、低延迟、高性能、安全可靠、绿色节能、能力开放等。 分布式云体系框架如图 5 所示。分布式云体系主要包括两类组件:



图5—ITU-T 分布式云体系框架


(1)分布式云节点: 是具备自治管理能力的独立的云节点,提供云基础设施及服务,为各类业务和应用提供 运行环境;根据所处的位置、节点规模及在分布式云系统中的作用,分为核心云、区域云、边缘云等不同的云节点;根据不同的业务场景需求,灵活采取一种或多种节点组合,实现业务能力的按需部署。
核心云节点: 基于大规模云基础设施,支持提供包括 IaaS、PaaS、SaaS 的完整的云服务体系,为各类分布式云业务和应用提供支撑和运营环境,具备海量数据分析和处理能力。
区域云节点: 功能架构与核心云类似,中到大规模云基础设施,侧重于提供区域性云基础设施和服务,为区域性业务和应用提供支撑和运营环境,按需满足区域性业务及安全、法规、治理需求。
边缘云节点: 在网络边缘、靠近用户和数据源的位置, 提供本地化基础设施资源、数据处理能力、边缘应用和业务。面向不同业务场景、不同部署位置的边缘云节点,外形、能力、功能需求各异。
(2)分布式云管理系统: 实现对分布式云节点的统一管理,包括统一的资源管理、网元和应用管理、业务编 排、运营管理、服务管理、安全管理、研发支持、系统集 成管理、数据管理等。
分布式云侧重于云节点之间、边缘与核心之间的协 同,能够提供比单一位置的计算更丰富的业务和应用能力,适用于多种业务场景,其中,既包括经典云计算场景, 也包括边缘计算场景,还包括边缘、核心协同场景,涵盖 5G、IoT、AI、 安全、CORD、CDN、 云服务等各类业务 场景。
 
 核心技术辨析



雾计算、MEC、Cloudlet、边缘计算、分布式云等技 术都是在新的业务需求和技术发展驱动下,融合“边缘” 理念与云计算技术的一种具体实现,简要辨析如表 1 所示, 其中主要不同在于:
(1)定位: 雾计算旨在构建一个系统,实现云到物的服务连接,与云协同运作;MEC 则被视为 5G 核心关 键技术;Cloudlet 是就近部署的微型数据中心;边缘计算 旨在构建边缘的开放平台;分布式云则将经典核心云、区域云与边缘云统一为一个整体。
(2)场景: 雾计算重点面向 IoT;MEC 主要 提供移动 RAN 应用方案;Cloudlet 在网络边缘实 现计算能力卸载;边缘计算主要面向 IoT 智能服务;分布式云则旨在涵盖多种场景。
(3)应用和数据: 雾计算、MEC、Cloudlet 侧重于提供面向应用的使能与运营支撑环境,实现应用的自动化部署管理和业务提供;边缘计算和分布式云除了对应用的支持外,还提供对多样化数据的收集、存储、处理、分析、策略执行等能力,构建包括数据本地化处理和云端大数据处理的层次化协同系统(如表 1 所示)。





展望



整体而言,边缘计算仍处于发展初期,在 Gartner 发展成熟度曲线上位于炒作巅峰,未来将迎来爆发式增长。 边缘计算的核心技术主要包括边缘节点(如路由器、交换机、基站、vCPE、数据中心等)、边缘网络、边缘管理系统、 边缘应用和服务等。其中,所涉及的硬件基础设施、软件技术等大多已具备,但需根据边缘计算需求进行适配或优化,如边缘节点对计算能力的支持,边缘节点的性能、可靠性和灾备,边缘计算任务的智能调度,异构边缘节点的统一管理,数据分布机制和一致性,边缘计算网络架构和性能优化,大规模边缘应用和服务,边缘功能和技术(如 数据细化、视频压缩和分析等)等,这些都有待于进一步研究。
作者
介绍



陈天, 现就职于中国电信股份有限公司广东研究院,主要研究方向为云计算、SDN/NFV。
陈楠, 博士,现就职于中国电信股份有限公司广东研究院,主要研究方向为互联网、云计算、IDC。
李阳春, 博士,现就职于中国电信股份有限公司广东研究院,主要研究方向为数据网络、 IPv6、SDN/NFV。
樊勇兵, 博士,中国通信学会高级会员,高级工程师,中国电信 IP 人才,现任全球云网OpenCirrus中国电信节点负责人,中国电信重点实验室——数据多媒体实验室负责人,中国电信数据网支撑中心主要成员,长期从事互联网研究,目前负责中国电信云计算、IDC 等方面的工作。
 
参考文献
1  OpenFog Consortium,OpenFog Reference Architecture for Fog Computing, February 2017
2  NIST SpecialPublication 800-191 (Draft), The NIST Definition of Fog Computing, August 2017
3 ETSIGS MEC 003 V1.1.1 (2016-03), Mobile Edge Computing (MEC); Framework andReference Architecture
4  OpenEdge Computing, Open Edge Computing- From Vision to Reality, 21 June 2016
5 EdgeComputing Consortium, Edge Computing Reference Architecture 2.0, November 2017
6  ITU-T, Draft Recommendation ITU-T Y.ccdc-reqts:Distributed cloud overview and high-level   requirements


先进制造业+工业互联网




产业智能官  AI-CPS


加入知识星球“产业智能研究院”:先进制造业OT(自动化+机器人+工艺+精益)和工业互联网IT(云计算+大数据+物联网+区块链+人工智能)产业智能化技术深度融合,在场景中构建状态感知-实时分析-自主决策-精准执行-学习提升的产业智能化平台;实现产业转型升级、DT驱动业务、价值创新创造的产业互联生态链。


产业智能化平台作为第四次工业革命的核心驱动力,将进一步释放历次科技革命和产业变革积蓄的巨大能量,并创造新的强大引擎; 重构设计、生产、物流、服务等经济活动各环节,形成从宏观到微观各领域的智能化新需求,催生 新技术、新产品、新产业、新业态和新模式; 引发经济结构重大变革,深刻改变人类生产生活方式和思维模式,实现社会生产力的整体跃升。

产业智能化技术分支用来的今天,制造业者必须了解如何将“智能技术”全面渗入整个公司、产品、业务等商业场景中, 利用工业互联网形成数字化、网络化和智能化力量,实现行业的重新布局、企业的重新构建和焕然新生。

版权声明产业智能官(ID:AI-CPS推荐的文章,除非确实无法确认,我们都会注明作者和来源,涉权烦请联系协商解决,联系、投稿邮箱:[email protected]




登录查看更多
0

相关内容

边缘计算(英语:Edge computing),又译为边缘计算,是一种分散式运算的架构,将应用程序、数据资料与服务的运算,由网络中心节点,移往网络逻辑上的边缘节点来处理[1]。边缘运算将原本完全由中心节点处理大型服务加以分解,切割成更小与更容易管理的部分,分散到边缘节点去处理。边缘节点更接近于用户终端装置,可以加快资料的处理与传送速度,减少延迟。在这种架构下,资料的分析与知识的产生,更接近于数据资料的来源,因此更适合处理大数据。
【北京大学】面向5G的命名数据网络物联网研究综述
专知会员服务
38+阅读 · 2020年4月26日
【文献综述】边缘计算与深度学习的融合综述论文
专知会员服务
169+阅读 · 2019年12月26日
【大数据白皮书 2019】中国信息通信研究院
专知会员服务
138+阅读 · 2019年12月12日
【白皮书】“物联网+区块链”应用与发展白皮书-2019
专知会员服务
94+阅读 · 2019年11月13日
【数字化】制造业数字化转型的实战路线图
产业智能官
40+阅读 · 2019年9月10日
【CPS】CPS应用案例集
产业智能官
85+阅读 · 2019年8月9日
【边缘计算】边缘计算在能源物联网中的应用
产业智能官
9+阅读 · 2019年7月14日
【边缘计算】边缘计算面临的问题
产业智能官
17+阅读 · 2019年5月31日
2018年边缘计算行业研究报告
行业研究报告
12+阅读 · 2019年4月15日
边缘计算(一)——边缘计算的兴起
大数据和云计算技术
12+阅读 · 2018年12月25日
【物联网】5G时代的智能边缘计算AI-EC平台
产业智能官
6+阅读 · 2017年10月9日
边缘计算:万物互联时代新型计算模型
计算机研究与发展
15+阅读 · 2017年5月19日
AliCoCo: Alibaba E-commerce Cognitive Concept Net
Arxiv
13+阅读 · 2020年3月30日
A Survey on Edge Intelligence
Arxiv
52+阅读 · 2020年3月26日
Arxiv
37+阅读 · 2019年11月7日
Meta-Learning with Implicit Gradients
Arxiv
13+阅读 · 2019年9月10日
Arxiv
8+阅读 · 2018年5月17日
Arxiv
5+阅读 · 2018年4月22日
Arxiv
11+阅读 · 2018年4月8日
VIP会员
最新内容
人工智能在战场行动中的演进及伊朗案例
专知会员服务
2+阅读 · 今天13:08
美AI公司Anthropic推出网络安全模型“Mythos”
专知会员服务
2+阅读 · 今天12:58
【博士论文】面向城市环境的可解释计算机视觉
专知会员服务
0+阅读 · 今天12:57
大语言模型的自改进机制:技术综述与未来展望
专知会员服务
0+阅读 · 今天12:50
《第四代军事特种作战部队选拔与评估》
专知会员服务
1+阅读 · 今天6:23
相关资讯
【数字化】制造业数字化转型的实战路线图
产业智能官
40+阅读 · 2019年9月10日
【CPS】CPS应用案例集
产业智能官
85+阅读 · 2019年8月9日
【边缘计算】边缘计算在能源物联网中的应用
产业智能官
9+阅读 · 2019年7月14日
【边缘计算】边缘计算面临的问题
产业智能官
17+阅读 · 2019年5月31日
2018年边缘计算行业研究报告
行业研究报告
12+阅读 · 2019年4月15日
边缘计算(一)——边缘计算的兴起
大数据和云计算技术
12+阅读 · 2018年12月25日
【物联网】5G时代的智能边缘计算AI-EC平台
产业智能官
6+阅读 · 2017年10月9日
边缘计算:万物互联时代新型计算模型
计算机研究与发展
15+阅读 · 2017年5月19日
相关论文
AliCoCo: Alibaba E-commerce Cognitive Concept Net
Arxiv
13+阅读 · 2020年3月30日
A Survey on Edge Intelligence
Arxiv
52+阅读 · 2020年3月26日
Arxiv
37+阅读 · 2019年11月7日
Meta-Learning with Implicit Gradients
Arxiv
13+阅读 · 2019年9月10日
Arxiv
8+阅读 · 2018年5月17日
Arxiv
5+阅读 · 2018年4月22日
Arxiv
11+阅读 · 2018年4月8日
Top
微信扫码咨询专知VIP会员