华为 P50 Pro 新配色发布 | 高通将与字节跳动共建 XR 生态

2022 年 3 月 1 日 ZEALER订阅号




01

华为 P50 Pro 新配色微澜浩海发布



今日,华为手机官微表示,华为 P50 Pro 新配色微澜浩海正式发布。华为 P50 Pro 微澜浩海已于今天上午 10:08 开售,12GB+512GB 售价 7988 元,支持 4G 全网通。据悉,华为 P50 Pro 配备麒麟 9000 芯片,搭载 HarmonyOS 2 操作系统,采用 6.6 英寸 2700×1228 分辨率居中单孔双曲面屏幕,拥有 120Hz 刷新率,内置 4360mAh 电池,支持 66W 有线与 50W 无线快充、IP68 防水、双扬声器。影像系统方面,该机前置 1300 万像素超广角摄像头,后置 5000 万像素原色摄像头+4000 万像素原色摄像头+1300 万像素超广角摄像头+6400 万像素长焦摄像头。




02

高通与字节跳动宣布合作共建 XR 生态



高通在 MWC 2022 期间宣布和字节跳动合作,双方将就硬件设备、软件平台和开发者工具开发方面进行合作。据悉,此次合作主要针对 XR 技术开发,目标是发展全球 XR 生态。高通总裁兼 CEO 克里斯蒂亚诺.阿蒙透露,字节跳动旗下 Pico 未来的 XR 产品将搭载高通的开发平台骁龙 Spaces XR。此外,高通还公布了一款内置 AI 和 Snapdragon Connect 认证的 5G 调制解调器,并表示未来 10 年内将继续布局移动技术,包括 5G、蓝牙和音频等领域。




03

联发科发布天玑 1300 平台



今天下午,联发科除了带来天玑 8000 系列,还有天玑 1300 5G 移动平台。根据命名就能看出,天玑 1300 是天玑 1200 的升级版,依然基于台积电 6nm 工艺,整体性能相较于天玑 1200 有所升级。CPU 方面,天玑 1300 由 1 个主频 3.0GHz Cortex-A78 超大核 +3 个 Cortex-A78 大核 +4 个 Cortex-A55 能效核心组成,搭配 Arm Mali-G77 GPU 和 MediaTek 第三代 APU。同时集成了集成了 MediaTek HyperEngine 5.0 游戏引擎,兼顾性能和功耗,HDR-ISP 最高可支持 2 亿像素摄像头,尤其强化了 AI 特性、升级了夜景拍摄和 HDR 功能。据悉,采用天玑 1300 的终端预计将于 2022 年第一季度至第二季度和天玑 8000 系列陆续上市。




04

极度未知 HyperX 发起品牌日促销活动



外设品牌极度未知 HyperX 今日正式发起品牌日促销活动,并发布多款新品。HyperX Cloud Buds TWS 云雀 TWS 真无线耳机,主打游戏专用,低延时、内置 10mm 驱动单元;HyperX Alloy Mars 2 火星 2 游戏机械键盘采用 HyperX 自家火轴,PBT 闭口透光键帽,采用高密度隔音板设计控制噪音;HyperX Cloud II 飓风游戏耳机推出霓虹粉新配色,内置 53mm 驱动单元,虚拟 7.1 环绕立体声。三款新品售价分别为:


云雀 TWS 真无线耳机售价 199 元起;

火星 2 游戏机械键盘售价 399 元起;

飓风游戏耳机(霓虹粉)售价 599 元起。




05

Redmi Note 11E Pro 发布



Redmi 今日官宣了 Note 家族新机 Note 11E Pro。这款产品采用潮流立边设计,搭载 6nm 骁龙 695 处理器,配有 UFS 2.2+LPDDR4X 的存储组合。在屏幕上,其采用 6.67 英寸+120Hz 的高刷三星 AMOLED 屏。在摄像头上,其前置为 1600 万像素,后置为 1 亿像素主摄+800 万像素超广角+200 万像素微距镜头的三摄配置。在散热上,其搭载液冷散热技术,散热效果也是极为强劲。在充电上面,其配有 67W 疾速闪充功能。Redmi Note 11E Pro 目前已经开启预约,1699 元起,并会于 3 月 4 日 10 点首发开售。




06

高通发布骁龙 X70 调制解调器



高通昨日发布了第 5 代调制解调器到天线 5G 解决方案——骁龙 X70 5G 调制解调器及射频系统。骁龙 X70 在调制解调器及射频系统中引入全球首个 5G AI 处理器,旨在利用 AI 能力来提升 5G 性能,包括 10Gbps 5G 下载速度,低时延、卓越的网络覆盖和能效。


在 5G 性能方面,骁龙 X70 不但支持 10Gbps 的 5G 传输速度,也是目前全球唯一一款能够支持从 600MHz 到 41GHz 全部 5G 商用频段的调制解调器及射频系统。支持下行 4 载波聚合,(完全基于 Sub-6GHz 频段的 4 个载波,比如两个 FDD 载波加两个 TDD 载波),而在毫米波频段,骁龙 X70 可以支持高达 8 个载波的聚合。




07

英特尔意外泄露 Z790 芯片组部分规格



英特尔在官网的芯片组数据中,无意间在 600 系主板的参数中泄露了 700 系列芯片组的规格参数,包含 Z790、H770 和 B760 三个芯片组的规格。从后缀的参数看,Z790 芯片组的 PCIe 4.0 通道将从 12 个增加到 20 个,同时 PCIe 3.0 通道减少一半,从 16 个减少到 8 个。英特尔还将增加一个额外的 USB 3.2 Gen 2x2 (20 Gbps) 通道。H770 的 PCIe 4.0 从 12 个增加到 16 个,PCIe 3.0 通道从 12 个下降到 8 个。B760 芯片组的 PCIe 4.0 通道从 6 个增加到 10 个,但其 PCIe 3.0 通道数量也减少了一半,从 8 个减少到 4 个。




08

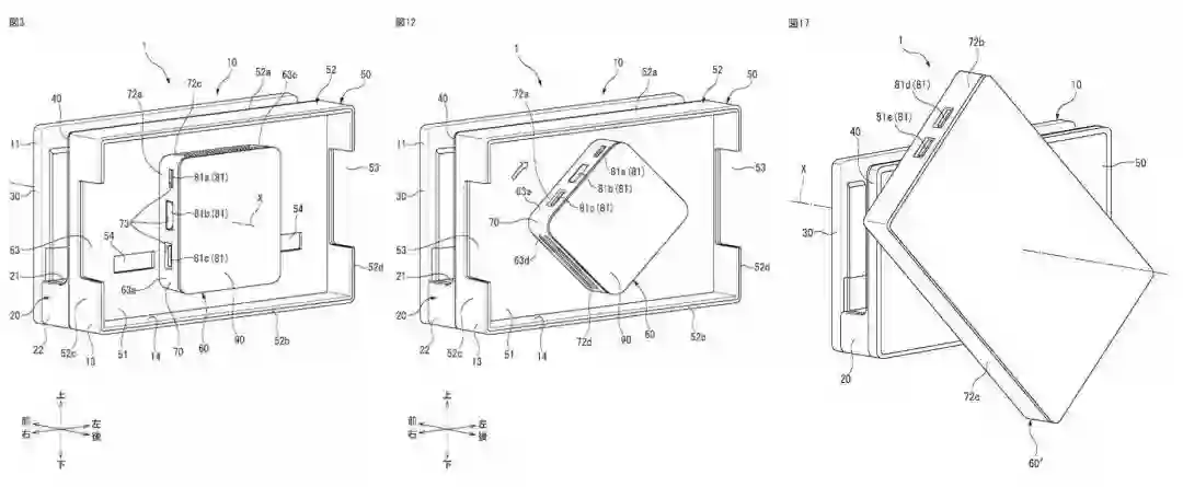
任天堂 Switch 改进版底座新专利曝光



近日,任天堂一则全新专利亮相,根据图示可知,新专利显示这款 Switch 底座改良方案附加了一个可以旋转的接续接口坞,官方表示此项专利的目的就是解决连接各种线缆时的机器不灵活问题。目前该专利尚不清何时会实机量产,而且也有玩家过于乐观的推测有可能是下一代 Switch 的设计,毕竟目前的 Switch 底座对于线缆的链接方向局限性较大,如果一旦采取了线缆接口扩展坞可自由旋转的特性。这样接线缆就可以根据需求旋转想要的方向,减少线材的凌乱感。






雕塑家 4K OLED 便携式显示屏免费送



你和设计师的区别,可能就差一台「专业」显示器!雕塑家 4K OLED 便携触控显示器上线 ZEALER 众测!100000:1 的对比度,带来明暗有度、色彩鲜明的画面。AdobeRGB 超广色域与 Delta E<2 的色准表现,真实还原画面的每一处细节...扫上方二维码或戳左下角「阅读原文」即可前往参与。


『热 门 推 荐』

登录查看更多
0

相关内容

《5G 毫米波赋能 8K 视频制作》未来移动通信论坛
专知会员服务
12+阅读 · 2022年4月15日
《华为智慧农业解决方案》21页PPT
专知会员服务
127+阅读 · 2022年3月23日
华为:6G:无线通信新征程(附报告),30页pdf
专知会员服务
63+阅读 · 2022年2月28日
专知会员服务
31+阅读 · 2021年10月4日
5G AIoT全景商用产品手册,52页pdf
专知会员服务
55+阅读 · 2021年9月10日
专知会员服务
60+阅读 · 2021年2月27日
专知会员服务
29+阅读 · 2020年10月2日
华为发布《自动驾驶网络解决方案白皮书》
专知会员服务
130+阅读 · 2020年5月22日
3299 元起,荣耀 Magic4 系列正式发布!
ZEALER订阅号
0+阅读 · 2022年3月17日
使大劲了,华为 11 款新品齐发!
ZEALER订阅号
0+阅读 · 2022年3月16日
物理外挂!今年华为 5G 手机有戏了?
ZEALER订阅号
0+阅读 · 2022年3月13日
OPPO 首款平板 OPPO Pad 亮相 | 骁龙 8 Gen 2 曝光
ZEALER订阅号
0+阅读 · 2022年2月21日
高通骁龙 8 Gen 1 旗舰芯发布,小米 12 首发要被抢?
ZEALER订阅号
0+阅读 · 2021年12月1日
国家自然科学基金
1+阅读 · 2017年12月31日
国家自然科学基金
0+阅读 · 2015年12月31日
国家自然科学基金
3+阅读 · 2015年12月31日
国家自然科学基金
1+阅读 · 2014年12月31日
国家自然科学基金
0+阅读 · 2013年12月31日
国家自然科学基金
0+阅读 · 2012年12月31日
国家自然科学基金
0+阅读 · 2012年12月31日
国家自然科学基金
0+阅读 · 2008年12月31日
VIP会员
最新内容
美国当前高超音速导弹发展概述
专知会员服务
1+阅读 · 今天15:03
《高超音速武器:一项再度兴起的技术》120页slides
无人机蜂群建模与仿真方法
专知会员服务
1+阅读 · 今天14:08
澳大利亚发布《国防战略(2026年)》
专知会员服务
0+阅读 · 今天13:42
【CMU博士论文】迈向基于基础先验的 4D 感知研究
专知会员服务
0+阅读 · 今天13:46
全球高超音速武器最新发展趋势
专知会员服务
1+阅读 · 今天13:17
相关VIP内容
《5G 毫米波赋能 8K 视频制作》未来移动通信论坛
专知会员服务
12+阅读 · 2022年4月15日
《华为智慧农业解决方案》21页PPT
专知会员服务
127+阅读 · 2022年3月23日
华为:6G:无线通信新征程(附报告),30页pdf
专知会员服务
63+阅读 · 2022年2月28日
专知会员服务
31+阅读 · 2021年10月4日
5G AIoT全景商用产品手册,52页pdf
专知会员服务
55+阅读 · 2021年9月10日
专知会员服务
60+阅读 · 2021年2月27日
专知会员服务
29+阅读 · 2020年10月2日
华为发布《自动驾驶网络解决方案白皮书》
专知会员服务
130+阅读 · 2020年5月22日
相关资讯
3299 元起,荣耀 Magic4 系列正式发布!
ZEALER订阅号
0+阅读 · 2022年3月17日
使大劲了,华为 11 款新品齐发!
ZEALER订阅号
0+阅读 · 2022年3月16日
物理外挂!今年华为 5G 手机有戏了?
ZEALER订阅号
0+阅读 · 2022年3月13日
OPPO 首款平板 OPPO Pad 亮相 | 骁龙 8 Gen 2 曝光
ZEALER订阅号
0+阅读 · 2022年2月21日
高通骁龙 8 Gen 1 旗舰芯发布,小米 12 首发要被抢?
ZEALER订阅号
0+阅读 · 2021年12月1日
相关基金
国家自然科学基金
1+阅读 · 2017年12月31日
国家自然科学基金
0+阅读 · 2015年12月31日
国家自然科学基金
3+阅读 · 2015年12月31日
国家自然科学基金
1+阅读 · 2014年12月31日
国家自然科学基金
0+阅读 · 2013年12月31日
国家自然科学基金
0+阅读 · 2012年12月31日
国家自然科学基金
0+阅读 · 2012年12月31日
国家自然科学基金
0+阅读 · 2008年12月31日
Top
微信扫码咨询专知VIP会员