漫谈语义相似度与语义向量表征

2020 年 11 月 15 日 AINLP

除了我之前讲的命名实体识别和文本分类,语义相似度应该是自然语言理解(NLU)里面又一大核心拼图,无论是机器翻译、搜索、对话等,都有很大的应用空间,之前其实或多或少也提到过,包括对一篇SIGIR论文的讲解:R&S[18] | SIGIR2018:深度学习匹配在搜索与推荐中的应用。这次给大家掰开揉碎展开谈谈这块吧。

语义相似度任务概述

语义相似度,顾名思义,主要是为了衡量两个句子之间的相似度,来自天池新冠疫情相似句判定大赛的例子:

  • 相似句:肺部发炎是什么原因引起的-肺部发炎是什么引起的
  • 不相似句:肺部发炎是什么原因引起的-肺部炎症有什么症状

一般都会有非常明确的案例告诉我们,什么叫做相似,什么叫做不相似,这个有非常明显的场景愿意,还是上面那句话,在判断query意图上,如果是判断大粒度意图的话(是否是医疗问句)那就是相似句了,如果是小粒度(症状意图、病因意图)那这两句就不相似。

常规的语义相似度架构

语义相似度架构其实非常简单,简单地说就是两个句子进去,进行特征抽取,简单到BOW、TF-IDF,复杂的就是bert(跳过word2vector、elmo???),然后进行相关性匹配计算,这块也花样繁多,简单的就是余弦相似、欧氏距离等,复杂的可以矩阵相乘等,最终到达标签,完成一次语义相似度评估计算。OK,上图:

孪生网络

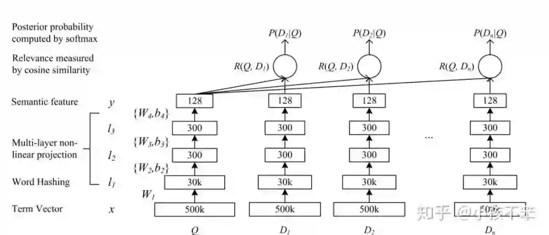
孪生网络本身是CV领域的东西,后来被NLP领域拿来直接用了,生根发芽,发扬光大,最经典的使用要数DSSM了。其实孪生网络的核心思想还是藏在训练方式上,一般的语义相似度我们都是用比较简单二分类来训练了,说白了就是预测出一个相似度概率和实际标签算交叉熵,而孪生网络,顾名思义,就是要考虑两个网络,具体考虑的思路,就非常像LTR里面的pair wise,但是更为暴力一些,pairwise是两者PK,而在DSSM里,会给到一个正样本(与原句相似)和N个负样本(与原句不相似)来共同构造成一个样本,具体的图就长这样:

这种方式的核心在于,以一个句子为核心来进行对比,能精准告诉模型“什么是对的,什么是错的”,边界清楚能让模型分的更好(SVM的思想),举个例子,我们都再说“人工智能”,我们不知道的一切都可以被戴上这个帽子,但是边界非常模糊,这让人容易被忽悠,这就是因为我们不知道什么不是“人工智能”,模型也是一样,给到清晰的边界,模型能分得更好,这个是“主动学习”的一大初衷。

表征的优化

DSSM终究试一次简单的尝试,但以这个为出发点,大家又围绕着DSSM做了很多工作,其中一大重点就是把DSSM这种base line级别的操作(文章用的是word hashing)升级为一些效果更好的操作:

  • CNN-DSSM:也被叫做CLSM,把全连接层换成了CNN。
  • LSTM-DSSM:把全连接层换成了LSTM,严谨的应该说是peephole LSTM。
  • 比较新潮的Attention操作也偶有见到。self-attention和co-attention都有,attention能够一定程度的充当“关键词抽取”的作用,因此在特定场景(例如信息冗余较多的对话场景)效果提升有些明显。

有关attention的使用,推荐一篇论文Attention-Based Convolutional Neural Network for Modeling Sentence Pairs,也就是所谓的ABCNN,感觉把attention在这块的使用讲的比较好:

  • BCNN(basic cnn)其实就是用cnn作为特征提取的关键步骤,只不过这里的卷积参数是双塔共享的。
  • ABCNN-1针对两个句子的原始表征(没有进行CNN时),构造了attenton矩阵作为卷积输入的另一个通道。
  • ABCNN-2在1的基础上,把attention的步骤放在了池化之前,该attention用来对卷积的结果进行reweight,然后再做池化。
  • ABCNN-3是把上述两者进行了结合。

换积木这种事情姑且只能算小打小闹,我们的目标不止于此,而是会——换大积木,BERT,它具有更为强力的BERT能力,效果自然也越好,sentence-bert就是对bert在语义相似度上的一个重要的使用。

向量化表征

语义相似度能让我们衡量两个句子的语义相似度,但是实际上我们的应用场景更多是“在句子库里面找到最接近给定句子的句子”,例如一个句子“明天天气”,我要找到整个库里面最接近的那个句子,例如“明天的天气”、“明天下雨吗”、“天气之子”等,如果简单的一个一个匹配去找,复杂度就是O(N),这个数字无疑非常可怕,当库是千万级别大小的时候,这个搜索就变得非常低效,因此我们是需要特定的手段来解决这个问题的,这套解决方案就是——最近邻召回检索,这里依赖两个技术点,一个是基于语义相似度的句子向量化表征,另一个是最近邻向量索引。

最近邻向量索引

不知道大家对KNN有没有了解,在统计学习方法中,第一个讲的方法就是他,说白了就是找最接近给定样本的N个训练样本,他们大部分属于什么什么类,那这个给定样本就是什么类,而问题在于怎么找到最接近的N个样本,这实际上就是一个通过向量找向量的工作,在《统计学习方法》里面提出的是kd tree,而现在比较流行的主要是两个——同样是基于树的annoy和基于图的hnsw,经过一些评测(https://zhuanlan.zhihu.com/p/152522906),这两个方案都有比较领先的性能,网络上有比较明确的原理和实现方案,此处就不赘述啦~

向量化表征

向量化表征对语义相似度有了更高的要求,它不仅仅要求我们要算出两者的相似度,还要求在计算过程中,需要把句子表征都需要降维到向量级别,因为后续下游要通过最近邻向量完成搜索,这个问题其实还是比较简单的,常规的操作不外乎就是2种,平均池化和最大池化,在Sentence-BERT中又提到了一种,所以总共就是3种:

  • 平均池化,对表征的矩阵整体进行平均池化,mean/average pooling,得到向量。
  • 最大池化,对表征的矩阵整体进行最大池化,max pooling,得到向量。
  • 直接用CLS位置的输出向量化作为整个句子的向量。

更多前沿操作

上面应该都是业界比较公认的比较基本的操作和理解,在此基础上带大家看一些比较前沿的一些使用方案和方法。

机器之心-百度NLP

针对传统匹配(如BM25)的多义同义词处理、句子结构复杂、匹配非对称等问题,在sim-net(即一一匹配计算相似度)的基础上,做了多粒度切词、高频判断语义引入等先验信息的方式来对提升效果,并在实验上针对正负样本比例、阈值判断等做了很多的尝试(文章具体没说)。

Facebook使用经验

在KDD2020里面facebook分享了自己在文本匹配方面的经验:Embedding-based Retrieval in Facebook Search。

首先在训练上,使用的是比较常见的三元组hinge loss。

至于模型,则是和DSSM类似的双塔结构,query和doc分别表征后进行相似度匹配,但是在特征上花费了一些功夫,新增了位置特征、社交特征,后两个都是个性化特征,大家就根据实际情况选用即可。

在训练上,负样本的构建一直是语义相似度的一个老大难问题,根据他们的经验,曝光未点击和数据库随机抽取一起用的效果会更好。

至于服务上,即最近邻召回,facebook则用的是自己开源的faiss引擎,内部搭载的是annoy索引机制。

另一方面,文章再提到了负样本构建,即Hard negative mining问题,一般是通过在线曝光未点击、离线相似度阈值范围抽取的方式挖掘。

文章还提到一个很有意思的提升方案,就是模型融合,简单地说就是模型预测的向量分别进行归一化后进行concat,然后进行检索。

蚂蚁金服语义相似度竞赛的经验

  • 纠错和避免纠错问题。
  • 特征工程的尝试,除了语义向量外,还可以加入长度、编辑距离、n-gram相似度、词汇统计特征、关键词、疑问词相似度、主题意图相似等。
  • co-attention交互特征的使用。

小结

小结几个关键点吧

  • 分别表征后进行交互仍然是主流,但是由于向量召回的存在,欧氏距离余弦距离仍然是主流,所以模型的优化核心就放在了如何更好地表征句子上。
  • 训练方式基本就固定在了DSSM或者是孪生网络类似的联合训练上。
  • 负样本的构造,HNM问题是提升效果的一个关键因素。
  • 业界的尝试没有想象中的复杂,而是在业务和实际的操作中寻找经验和结论,这很大一部分原因和向量召回这一需求的约束有关。


由于微信平台算法改版,公号内容将不再以时间排序展示,如果大家想第一时间看到我们的推送,强烈建议星标我们和给我们多点点【在看】。星标具体步骤为:

(1)点击页面最上方"AINLP",进入公众号主页。

(2)点击右上角的小点点,在弹出页面点击“设为星标”,就可以啦。

感谢支持,比心

欢迎加入AINLP技术交流群
进群请添加AINLP小助手微信 AINLPer(id: ainlper),备注NLP技术交流

推荐阅读

这个NLP工具,玩得根本停不下来

征稿启示| 200元稿费+5000DBC(价值20个小时GPU算力)

完结撒花!李宏毅老师深度学习与人类语言处理课程视频及课件(附下载)

从数据到模型,你可能需要1篇详实的pytorch踩坑指南

如何让Bert在finetune小数据集时更“稳”一点

模型压缩实践系列之——bert-of-theseus,一个非常亲民的bert压缩方法

文本自动摘要任务的“不完全”心得总结番外篇——submodular函数优化

Node2Vec 论文+代码笔记

模型压缩实践收尾篇——模型蒸馏以及其他一些技巧实践小结

中文命名实体识别工具(NER)哪家强?

学自然语言处理,其实更应该学好英语

斯坦福大学NLP组Python深度学习自然语言处理工具Stanza试用

关于AINLP

AINLP 是一个有趣有AI的自然语言处理社区,专注于 AI、NLP、机器学习、深度学习、推荐算法等相关技术的分享,主题包括文本摘要、智能问答、聊天机器人、机器翻译、自动生成、知识图谱、预训练模型、推荐系统、计算广告、招聘信息、求职经验分享等,欢迎关注!加技术交流群请添加AINLPer(id:ainlper),备注工作/研究方向+加群目的。


阅读至此了,分享、点赞、在看三选一吧🙏

登录查看更多
2

相关内容

【KDD2020】 半监督迁移协同过滤推荐
专知会员服务
20+阅读 · 2020年10月21日
专知会员服务
32+阅读 · 2020年9月2日
【SIGIR 2020】 基于协同注意力机制的知识增强推荐模型
专知会员服务
91+阅读 · 2020年7月23日
基于改进卷积神经网络的短文本分类模型
专知会员服务
26+阅读 · 2020年7月22日
五千字全面梳理文本匹配
AINLP
5+阅读 · 2020年10月3日
基于表示模型的文本匹配方法
AINLP
7+阅读 · 2020年5月8日
【NLP】文本匹配相关方向打卡点总结
深度学习自然语言处理
21+阅读 · 2019年12月9日
深度上下文词向量
微信AI
27+阅读 · 2018年9月13日
谷歌 AI:语义文本相似度研究进展
AI研习社
22+阅读 · 2018年6月13日
如何匹配两段文本的语义?
夕小瑶的卖萌屋
3+阅读 · 2018年6月12日
不懂 word2vec,还敢说自己是做 NLP 的?
AI研习社
8+阅读 · 2018年5月4日
python文本相似度计算
北京思腾合力科技有限公司
24+阅读 · 2017年11月6日
VIP会员
最新内容
美国当前高超音速导弹发展概述
专知会员服务
4+阅读 · 4月19日
无人机蜂群建模与仿真方法
专知会员服务
4+阅读 · 4月19日
澳大利亚发布《国防战略(2026年)》
专知会员服务
2+阅读 · 4月19日
全球高超音速武器最新发展趋势
专知会员服务
2+阅读 · 4月19日
相关资讯
五千字全面梳理文本匹配
AINLP
5+阅读 · 2020年10月3日
基于表示模型的文本匹配方法
AINLP
7+阅读 · 2020年5月8日
【NLP】文本匹配相关方向打卡点总结
深度学习自然语言处理
21+阅读 · 2019年12月9日
深度上下文词向量
微信AI
27+阅读 · 2018年9月13日
谷歌 AI:语义文本相似度研究进展
AI研习社
22+阅读 · 2018年6月13日
如何匹配两段文本的语义?
夕小瑶的卖萌屋
3+阅读 · 2018年6月12日
不懂 word2vec,还敢说自己是做 NLP 的?
AI研习社
8+阅读 · 2018年5月4日
python文本相似度计算
北京思腾合力科技有限公司
24+阅读 · 2017年11月6日
Top
微信扫码咨询专知VIP会员